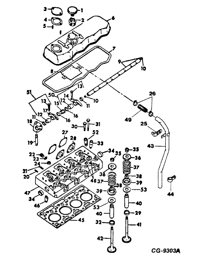
Запчасти Case IH D-239 (D-19) - CYLINDER HEAD AND RELATED PARTS, 5000 THRU 5500 WINDROWERS

Схема запчастей Case IH D-239 - (D-19) - CYLINDER HEAD AND RELATED PARTS, 5000 THRU 5500 WINDROWERS
4
37
32
8
14
12
39
24
25
18
2
38
52
10
34
29
40
48
13
49
12
5
34
1
15
46
11
35
31
47
43
38
23
9
50
7
20
42
36
37
19
6
51
40
39
21
41
36
44
3
28
53
26
22
45
35
13
27
10
16
30
53
17
33
11
16
FIT
1:1
100%

Артикул

Название

Примечание

Количество

1

3136337R91

COVER

CAP, breather, Serial no. 022008 and above

1шт.

2

3136336R1

FILTER

STRAINER, insert-breather, Serial no. 022008 and above

1шт.

3

NOT USED THIS APPLICATION

1шт.

4

NOT USED THIS APPLICATION

1шт.

5

NOT USED THIS APPLICATION

1шт.

6

3055181R1

COVER

valve housing, Serial no. 022007 and below

1шт.

6

3228332R1

COVER

valve housing, Serial no. 02208 and above

1шт.

425-115

NUT,5/16"-24, G5

5/16-24 hex.

4шт.

3138638R1

RING,7.5mm ID x 15mm OD x 4mm Thk

valve housing cover

4шт.

3138637R1

CUP WASHER

WASHER, valve housing cover

4шт.

7

3138642R1

GASKET

valve cover

1шт.

8

3136401R3

SHEET

PLATE, screening

1шт.

179789

BOLT,Hex, 1/4" - 20 x 3/8", Gr 5, Full Thd

2шт.

103319

LOCK WASHER,1/4"

WASHER, LOCK, 1/4"

2шт.

9

3055070R21

SHAFT HOUSING

SHAFT W/TWO PLUGS, 933565R1, rocker arm

1шт.

10

933565R1

PLUG,M14, Conical

expansion

2шт.

11

3055068R1

BUSHING,22mm ID x 30mm OD x 6.8mm L

spacer

7шт.

12

3132019R1

BUSHING,21.15mm ID x 26.09mm OD x 25.4mm L

valve lever

8шт.

13

3132137R1

ADJUSTMENT SCREW

8шт.

3132138R1

NUT

adjusting screw

8шт.

14

NSS

NOT SOLD SEPARAT

ARM ASSY., valve intake, Not serviced separately, Order package 3132292R92

4шт.

15

3055075R2

SPRING

4шт.

16

3055669R1

THRUST WASHER

valve lever thrust

8шт.

17

NSS

NOT SOLD SEPARAT

ARM ASSY., valve exhaust, Not service separately, Order package 3132293R92

4шт.

18

3055077R6

SUPPORT

BRACKET, valve lever shaft

5шт.

179822

BOLT,Hex, 5/16" - 18 x 1 1/2", Gr 5

5шт.

3050129R1

LOCK WASHER

WASHER, 5/16 lock

5шт.

19

3055220R1

STUD,1/2" - 20 x 3.18"

1/2-20 x 1/2-13 x 3-3/16

5шт.

25-118

NUT,1/2"-20, G5

1/2-20 hex.

5шт.

20

3055221R1

STUD

5/16-24 x 5/16-18 x 1-5/32 water collecting pipe

8шт.

21

3055663R1

STUD

3/8-24 x 3/8-16 x 1-15/32 exhaust pipe, 38 MM

8шт.

22

934259R1

PLUG,Hex, M10 x 1

Filler and drain Hex, M10 x 1

1шт.

23

718743R1

SEALING RING,M10 x 16 x 1

Ring, Packing M10 x 16 x 1

1шт.

24

933750R1

PLUG,M32, Conical

expansion 32 MM

4шт.

24

934804R1

PLUG,M34, Conical

expansion 34 MM

4шт.

25

3228111R1

HOLDER

SUPPORT, engine serial no. 022008 & above

1шт.

179900

BOLT,Hex, 9/16" - 12 x 3/4", Gr 5

9/16 x 3/4 pln type 1

1шт.

103324

LOCK WASHER,9/16"

WASHER, LOCK, 9/16"

1шт.

26

755023R1

CLAMP, hose, Engine serial no. 022008 & above

2шт.

27

3132721R1

COVER

2шт.

425-115

NUT,5/16"-24, G5

5/16-24 hex.

4шт.

103320

LOCK WASHER,5/16"

WASHER, LOCK, 5/16"

4шт.

28

3055306R1

GASKET

cover

2шт.

29

3132362R1

VALVE SEAT

RING, intake valve seat, .15 O/S

1шт.

30

3138747R1

BOLT,Cyl Hd, 9/16" - 12 x 123mm

9/16-12 x 4-13/16 cylinder head short, 123 MM

8шт.

31

3138748R1

BOLT,Flng, 9/16" - 12 x 5-3/4"

BOLT, 9/16-12 x 5-3/4 cylinder head long, 146 MM

10шт.

32

3132361R1

INSERT

RING, exhaust valve seat, .40 MM O/S

1шт.

32

3132362R1

VALVE SEAT

RING, exhaust valve seat, .15 MM O/S

1шт.

33

3055344R1

SLEEVE

INSERT, nozzle holder

4шт.

34

934003R1

PLUG,M52, Conical

expansion

2шт.

35

3055057R91

ROCKER ARM COTTER

CONE, valve spring

8шт.

36

3055058R2

SPRING CUP

CAP, retainer valve spring

8шт.

37

3055060R1

SPRING

valve

8шт.

38

SEAL, valve stem, Order package 3218399R91

1шт.

39

Not used this application

1шт.

40

3055022R2

VALVE GUIDE

GUIDE, valve stem

8шт.

41

3055055R2

OVERSIZE INLET VALVE

VALVE, intake

4шт.

42

3055056R2

STD EXHAUST VALVE

VALVE, exhaust

4шт.

43

3228333R91

TUBE

breather, Engine serial no. 022008 & above

1шт.

44

3228112R1

CLAMP

tube, Engine serial no. 022008 & above

1шт.

179816

BOLT,Hex, 5/16" - 18 x 3/4", Gr 5

1шт.

103320

LOCK WASHER,5/16"

WASHER, LOCK, 5/16"

1шт.

9635082

NUT,5/16" - 18, Gr 5

5/16 pln hex

1шт.

45

3228362R1

CYLINDER HEAD GASKET

cylinder head, Replaces 3138959r3

1шт.

46

3055370R1

STIRRUP

PLATE, engine lifting front

1шт.

271604

BOLT,Hex, 3/4" - 10 x 1 1/8", Gr 5

SCREW, 3/4-10 x 1-1/8 hex-hd cap

1шт.

47

3055367R97

HEAD (CYLINDER)

HEAD ASSY., cylinder, Composed of

1шт.

3055022R2

VALVE GUIDE

GUIDE

8шт.

NSS

NOT SOLD SEPARAT

HEAD

1шт.

3055344R1

SLEEVE

INSERT

4шт.

933750R1

PLUG,M32, Conical

4шт.

934003R1

PLUG,M52, Conical

2шт.

3055059R91

CAP

ROTOCAP

8шт.

NSS

NOT SOLD SEPARAT

SEAT

4шт.

3055220R1

STUD,1/2" - 20 x 3.18"

5шт.

3055221R1

STUD

8шт.

3055412R1

STUD

8шт.

48

Not used this application

1шт.

49

3132186R1

HOSE,25.00 mm ID x 60.00 mm

- Connecting, S/N 022008 and above 25.00 mm ID x 60.00 mm

1шт.

50

3132292R92

ROCKER

PACKAGE, intake rocker arm

4шт.

51

3132293R92

ROCKER

PACKAGE, exhaust rocker arm

4шт.

52

3055369R1

PLATE

SHACKLE, engine mounting rightside

1шт.

NLS

NO LONGER SERVICED

SCREW, 3/4-10 x 1-1/8 hex-hd cap

1шт.

53

3218069R1

SPACER

8шт.

3218399R91

GASKET KIT

PACKAGE, valve seals

2шт.

Выбрано товаров: 0