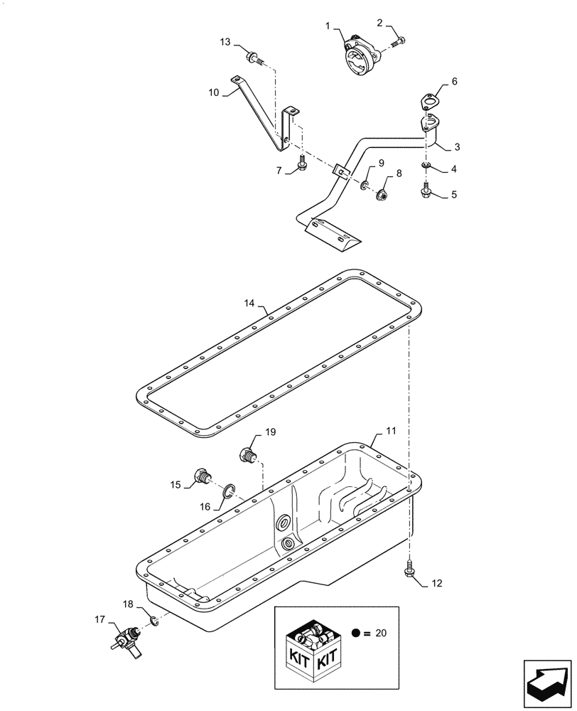
Запчасти Case IH 6TAA-8304 275HP (10.102.AP) - KIT, OIL PAN HEATER - OIL PUMP, PAN (10) - ENGINE

Схема запчастей Case IH 6TAA-8304 275HP - (10.102.AP) - KIT, OIL PAN HEATER - OIL PUMP, PAN (10) - ENGINE
5
11
16
9
17
6
15
20
20
4
18
13
7
12
14
1
8
19
10
3
2
FIT
1:1
100%

Артикул

Название

Примечание

Количество

1

J991123

ENGINE OIL PUMP

1шт.

1

JR991123

REMAN-ENG OIL PUMP

REMAN-ENGINE OIL PUMP Remanufactured Oil Pump; For N.A. only

1шт.

1

JC991123

CORE-ENGINE OIL PUMP

CORE-ENGINE OIL PUMP Return number - For N.A. only

1шт.

2

J900677

BOLT,Hex

M8 x 30

4шт.

3

87357465

TUBE,31.75/1.25 mm OD x 513.9, 201 mm L

1шт.

7088

1шт.

3

J921719

TUBE

1шт.

5088, 6088

1шт.

4

J926865

SPACER,6.9mm ID x 12.7mm OD x 14mm L

2шт.

5

845-6030

BOLT,Hvy Hex, M6 x 30mm, Cl 8.8

2шт.

6

87447959

GASKET,1.2mm Thk

1шт.

7

845-6015

BOLT,Hvy Hex, M6 x 15mm, Cl 8.8

2шт.

8

825-2406

FLANGE NUT,M6 x 1, Cl 8.8

1шт.

9

J910960

WASHER

1шт.

10

J927611

BRACKET

1шт.

11

87357469

ENGINE OIL PAN

1шт.

7088

1шт.

11

87351053

ENGINE OIL PAN

1шт.

5088, 6088

1шт.

12

J907860

FLANGE BOLT,Hex, M8 x 25mm, Spcl

32шт.

13

845-6020

BOLT,Hvy Hex, M6 x 20mm, Cl 8.8

1шт.

14

87308050

GASKET,0.95mm Thk

Pan

1шт.

15

J924148

PLUG,M22 x 1.5

M22

1шт.

16

J902425

SEALING WASHER,22.2mm ID x 26.9mm OD x 1.75mm Thk

1шт.

17

87367990

SHUT-OFF VALVE

1шт.

18

J920773

SEALING WASHER

1шт.

19

217-478

DRAIN PLUG,Sq Soc, 1-1/4" - 11-1/2, NTPF

1шт.

20

A77580

SERVICE KIT

Engine Oil Heater, 120V/300W

1шт.

5088, 6088

1шт.

Выбрано товаров: 29