Запчасти Case IH D-310 (5-140) - ALTERNATOR BRACKET, 616 AND 622 COTTON PICKERS, FARMALL 706 & INTERNATIONAL 706 TRACTORS

Схема запчастей Case IH D-310 - (5-140) - ALTERNATOR BRACKET, 616 AND 622 COTTON PICKERS, FARMALL 706 & INTERNATIONAL 706 TRACTORS
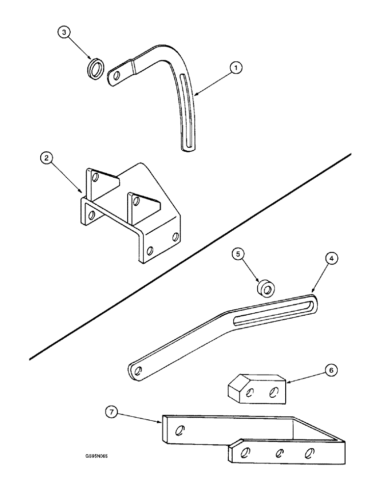
5
7
4
1
3
2
6
FIT
1:1
100%

Артикул

Название

Примечание

Количество

1

3144168R1

BRACKET

BRACE - alternator (Replaces braces 787718R2 and 201597C1), 616 & 622 Cotton Pickers

1шт.

3218395R1

BELLEVILLE WASHER,8.199mm ID x 16mm OD x 0.9mm Thk

Cone (Replaces washer 933570R1) M8.2 ID x 16 OD x .9 Thk

1шт.

425-105

NUT,5/16"-18, G5

- hex, 5/16 inch NC (Replaces nut 102634)

1шт.

413-532

BOLT,Hex, 5/16" - 18 x 2", Gr 5

- hex, 5/16 NC x 1-1/2 inch (Replaces screw 179826)

1шт.

2

3055724R12

HOLDER

BRACKET - alternator-generator, 616 & 622 Cotton Pickers

1шт.

If looking for a lower alternator bracket for 86 hydro with D310 Neuss engine, the part number is P/N 3132268R12. GLO - TSG 3/6/2001

1шт.

425-105

NUT,5/16"-18, G5

- hex, 5/16 inch NC (Replaces nut 102634)

3шт.

413-556

BOLT,Hex, 5/16" - 18 x 3-1/2", Gr 5

- hex, 5/16 NC x 3-1/2 inch (Replaces bolt 186270)

1шт.

413-560

BOLT,Hex, 5/16" - 18 x 3-3/4", Gr 5

- hex, 5/16 NC x 3-3/4 inch (Replaces bolt 186271)

2шт.

492-11031

LOCK WASHER,5/16"

WASHER, LOCK, (Replaces washer 103320) 5/16"

3шт.

492-11038

LOCK WASHER,3/8"

(Replaces washer 120382) 3/8"

1шт.

3

280185R1

SPACER

- alternator-generator brace, 616 & 622 Cotton Pickers

1шт.

4

384997R1

BRACE

- alternator-generator, Farmall 706 Tractors w/Serial Numbers prior to 37237 and International 706 Tractors w/Serial Numbers, Serial Range: prior-5274

1шт.

413-518

BOLT,Hex, 5/16" - 18 x 1-1/8", Gr 5

- hex, 5/16 NC x 1-1/8 inch (Replaces screw 179819)

1шт.

492-11031

LOCK WASHER,5/16"

WASHER, LOCK, (Replaces washer 103320) 5/16"

1шт.

5

280185R1

SPACER

- alternator-generator brace, Farmall 706 Tractors w/Serial Numbers prior to 37237 and International 706 Tractors w/Serial Numbers, Serial Range: prior-5274

1шт.

6

384996R1

BAR

SPACER - alternator-generator mounting bracket, Farmall 706 Tractors w/Serial Numbers prior to 37237 and International 706 Tractors w/Serial Numbers, Serial Range: prior-5274

1шт.

7

384995R1

BRACKET

- alternator-generator mounting, Farmall 706 Tractors w/Serial Numbers prior to 37237 and International 706 Tractors w/Serial Numbers, Serial Range: prior-5274

1шт.

425-106

NUT,3/8"-16, Cl 5

(Replaces nut 102635) 3/8"-16, G5

1шт.

413-528

BOLT,Hex, 5/16" - 18 x 1-3/4", Gr 5

- hex, 5/16 NC x 1-3/4 inch (Replaces screw 179824)

1шт.

413-628

BOLT,Hex, 3/8" - 16 x 1-3/4", Gr 5

- hex, 3/8 NC x 1-3/4 inch (Replaces 179845)

1шт.

413-652

BOLT,Hex, 3/8" - 16 x 3-1/4", Gr 5

- hex, 3/8 NC x 3-1/4 inch (Replaces screw 186282)

1шт.

492-11031

LOCK WASHER,5/16"

WASHER, LOCK, (Replaces washer 103320) 5/16"

1шт.

92-11038

LOCK WASHER,3/8"

WASHER, LOCK, (Replaces washer 103321) 3/8"

2шт.

Выбрано товаров: 24