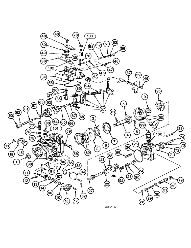
Запчасти Case IH D-358 (6-054) - FUEL INJECTION PUMP, 1400 COTTON HARVESTERS, 1420 COMBINES

Схема запчастей Case IH D-358 - (6-054) - FUEL INJECTION PUMP, 1400 COTTON HARVESTERS, 1420 COMBINES
17
57
36
47
72
8
78
46
37
84
69
76
40
66
49
50
62
28
99
85
90
13
46
93
30
9
3
54
21
34
68
101
31
97
67
92
14
20
26
2
83
88
38
37
23
15
53
55
60
103
19
71
10
56
39
46
51
82
59
94
70
98
79
96
48
39
91
63
29
5
1
102
4
16
27
80
25
35
22
95
74
100
47
96
89
81
58
32
18
12
64
87
65
61
11
33
52
75
24
77
73
7
86
6
FIT
1:1
100%

Артикул

Название

Примечание

Количество

3228115R91

PUMP

ASSEMBLY - fuel injection, model number VE6/11 1250R56, used with 1420 combines with engine serial numbers prior to 65000, 2500 RPM , no longer available, Includes: Hardware Listed Below & Ref. 1 - 104

1шт.

3228149R91

PUMP

ASSEMBLY - fuel injection, model number VE6/12F 1350R64, Includes: Hardware Listed Below & Ref. 1 - 104

1шт.

Used with 1400 cotton harvesters, 1420 combines with engine serial number 65000 and above, 1420 combines with serial numbers prior to 5501 and engine serial numbers prior to 65000, which had rated speed adjusted from 2500 RPM to 2700 RPM (high idle 2900 RPM) and are equipped with an auxiliary pump drive pulley of 8.64 inch OD

1шт.

425-105

NUT,5/16"-18, G5

- hex, 5/16 inch NC (Replaces nut 102634)

2шт.

492-11031

LOCK WASHER,5/16"

WASHER, LOCK, (Replaces washer 3050129R1) 5/16"

2шт.

3055574R1

WASHER,8.5mm ID x 19mm OD x 2.5mm Thk

- flat, 5/16 inch

2шт.

1

3079190R1

SEAL

- oil, drive shaft

1шт.

2

3079195R1

DISC

RING - support

1шт.

3

3079562R1

SCREW,Hex Flat Hd, M4 x 22, 8.8

- countersunk (Replaces screw 3079200R1)

2шт.

4

3079191R1

SHAFT

- drive

1шт.

5

3079193R1

KEY

- Woodruff, drive shaft, no longer available

1шт.

6

3079268R2

BUMPER

- drive shaft

2шт.

7

3079269R1

GEAR

- drive shaft

1шт.

8

3079270R1

WASHER

- groove

1шт.

9

3079199R1

DISC

- cross type

1шт.

10

3079203R2

GASKET

RING - packing plate

1шт.

11

3079473R1

PISTON

- advance

1шт.

12

3079202R1

LARGE PIN

SLIDER - advance

1шт.

13

3079209R1

WASHER

- thrust advance

1шт.

14

3079474R1

SPRING

- piston, 35.5 mm, no longer available

1шт.

14

3079524R1

SPRING

- advance piston, 35.6 mm, used with pump assembly 3228149R91

1шт.

14

3079525R1

SPRING

- advance piston, 35.4 mm, used with pump assembly 3228149R91

1шт.

15

3079203R2

GASKET

RING - packing

1шт.

Included in Fuel Injection Pump Gasket Kit P/N 3079244R91

1шт.

16

3079204R1

COVER

- timing

1шт.

17

3079439R2

SCREW

- timing cover (Replaces screw 684732C1)

2шт.

18

3079492R1

COVER

- advance

1шт.

19

3079439R2

SCREW

- advance cover (Replaces screws 3079493R1 and 934275R1)

2шт.

20

3078540R1

WASHER

- plunger, 1.35 mm

1шт.

21

3078537R1

WASHER

- plunger, 1.65 mm

1шт.

22

3079212R1

SEAT

- spring plunger

1шт.

23

3079272R1

SEAT

- spring

2шт.

24

3079273R1

PIN

- guide

2шт.

25

3079511R91

HEAD

- distributor, used withpump assembly 3228115R91

1шт.

25

3079518R91

HEAD

- distributor, used with pump assembly 3228149R91

1шт.

26

3078366R1

O-RING

- distributor head

1шт.

Included in Fuel Injection Pump Gasket Kit P/N 3079244R91

1шт.

27

3079423R1

WASHER

- plunger, 1.78 mm

1шт.

27

3078761R2

WASHER

- plunger, 1.80 mm

1шт.

27

3079425R1

WASHER

- plunger, 1.82 mm

1шт.

27

3078763R2

WASHER

- plunger, 1.84 mm

1шт.

27

3079427R1

WASHER

- plunger, 1.86 mm

1шт.

27

3078765R2

WASHER

- plunger, 1.88 mm

1шт.

27

3079213R2

WASHER

- plunger, 1.90 mm

1шт.

27

3078767R2

WASHER

- plunger, 1.92 mm

1шт.

27

3079214R2

WASHER

- plunger, 1.94 mm

1шт.

27

3078769R2

WASHER

- plunger, 1.96 mm

1шт.

27

3079215R2

WASHER

- plunger, 1.98 mm

1шт.

27

3078771R2

WASHER

- plunger, 2.00 mm

1шт.

27

3079216R2

WASHER

- plunger, 2.02 mm

1шт.

27

3078773R2

WASHER

- plunger, 2.04 mm

1шт.

27

3079217R2

WASHER

- plunger, 2.06 mm

1шт.

27

3078775R2

WASHER

- plunger, 2.08 mm

1шт.

27

3079218R2

WASHER

- plunger, 2.10 mm

1шт.

27

3078777R2

WASHER

- plunger, 2.12 mm

1шт.

27

3079219R2

WASHER

- plunger, 2.14 mm

1шт.

27

3078779R2

WASHER

- plunger, 2.16 mm

1шт.

27

3079220R2

WASHER

- plunger, 2.18 mm

1шт.

27

3078781R2

WASHER

- plunger, 2.20 mm

1шт.

27

3079221R2

WASHER

- plunger, 2.22 mm

1шт.

27

3078783R2

WASHER

- plunger, 2.24 mm

1шт.

27

3079222R2

WASHER

- plunger, 2.26 mm

1шт.

27

3078785R2

WASHER

- plunger, 2.28 mm

1шт.

27

3079223R2

WASHER

- plunger, 2.30 mm

1шт.

27

3078787R2

WASHER

- plunger, 2.32 mm

1шт.

27

3079224R2

WASHER

- plunger, 2.34 mm

1шт.

27

3078789R2

WASHER

- plunger, 2.36 mm

1шт.

27

3079225R2

WASHER

- plunger, 2.38 mm

1шт.

27

3078791R2

WASHER

- plunger, 2.40 mm

1шт.

27

3079226R2

WASHER

- plunger, 2.42 mm

1шт.

27

3078793R2

WASHER

- plunger, 2.44 mm

1шт.

27

3079227R2

WASHER

- plunger, 2.46 mm

1шт.

27

3078795R2

WASHER

- plunger, 2.48 mm

1шт.

27

3079228R2

WASHER

- plunger, 2.50 mm

1шт.

27

3078797R2

WASHER

- plunger, 2.52 mm, no longer available

1шт.

27

3079229R2

WASHER

- plunger, 2.54 mm

1шт.

27

3078799R2

WASHER

- plunger, 2.56 mm

1шт.

27

3079230R2

WASHER

- plunger, 2.58 mm

1шт.

27

3078801R2

WASHER

- plunger, 2.60 mm

1шт.

27

3078801R2

WASHER

- plunger, 2.60 mm

1шт.

27

3079231R2

WASHER

- plunger, 2.62 mm

1шт.

27

3078803R2

WASHER

- plunger, 2.64 mm, no longer available

1шт.

27

3079232R2

WASHER

- plunger, 2.66 mm

1шт.

27

3078805R2

WASHER

- plunger, 2.68 mm

1шт.

27

3079233R2

WASHER

- plunger, 2.70 mm

1шт.

27

3078807R2

WASHER

- plunger, 2.72 mm

1шт.

27

3079234R2

WASHER

- plunger, 2.74 mm

1шт.

27

3078809R2

WASHER

- plunger, 2.76 mm

1шт.

27

3079235R2

WASHER

- plunger, 2.78 mm

1шт.

27

3078811R2

WASHER

- plunger, 2.80 mm

1шт.

27

3079350R2

WASHER

- plunger, 2.82 mm

1шт.

27

3078813R2

WASHER

- plunger, 2.84 mm

1шт.

27

3079236R2

WASHER

- plunger, 2.86 mm

1шт.

27

3078815R2

WASHER

- plunger, 2.88 mm

1шт.

27

3079237R2

WASHER

- plunger, 2.90 mm

1шт.

28

3079378R1

WASHER

- delivery valve

6шт.

29

3079507R1

VALVE

- delivery, used with pump assembly 3228115R91

6шт.

29

3079519R1

VALVE

- delivery, used with pump assembly 3228149R91

6шт.

30

3132408R1

SPRING

- delivery valve

6шт.

31

3079241R1

WASHER

- delivery valve

6шт.

32

3079478R1

NIPPLE, LUBE

HOLDER - delivery valve

6шт.

33

3079243R2

BOLT,Hex, 1/2" x 3/4", Gr 5

SCREW - pump to distributor head

4шт.

3079517R1

COVER

ASSEMBLY - housing, Includes: Ref. 34 - 50

1шт.

34

3079520R1

HOUSING

COVER - housing

1шт.

35

3079365R1

SHAFT

- control

1шт.

36

3078354R1

O-RING,2mm Thk x 6.5mm ID

- throttle shaft, packing

1шт.

37

3079275R1

WASHER

- control shaft

1шт.

38

3079537R1

LEVER

- housing, no longer available

1шт.

39

847239R1

LOCK WASHER

- adjusting lever spring lock, no longer available

1шт.

40

3136261R1

NUT

- hex, used with adjusting lever

1шт.

46

825-1406

NUT,M6, Cl 8

WASHER - hex, 6 mm - 1, for use with housing cover (Replaces washer 933988R1)

2шт.

47

3079404R1

BOLT

BOLT - threaded long, for use with housing cover

1шт.

47

3078343R1

BOLT

- threaded short, for use with housing cover, no longer used

1шт.

48

3136399R1

LEVER

- adjusting

1шт.

49

3136262R1

THRUST WASHER

WASHER - distance

1шт.

50

3136260R1

SPRING

- coiled

1шт.

51

397692C1

WASHER

- flat, no longer available

1шт.

52

3079307R1

SET SCREW

BOLT - threaded, 26 mm

1шт.

52

3079308R1

BOLT

- threaded, 24 mm

1шт.

52

3079309R1

BOLT

- threaded, 28 mm

1шт.

53

3079305R1

BOLT

NUT - hex, no longer available (Replaces nut 307429R1)

1шт.

54

898747H1

O-RING

- sealing

1шт.

55

3079481R1

GASKET

RING - packing, no longer available

1шт.

56

3079311R1

SLEEVE

- distance

1шт.

57

3079512R1

LEVER

- throttle, used with pump assembly 3228115R91

1шт.

57

3079521R1

LEVER

- throttle, used with pump assembly 3228149R91

1шт.

58

3079508R1

BOLT,Hex, 5/16" x 1", Gr 5

SCREW - pivot

2шт.

59

3053133R1

SEALING RING,M8 x 11.5 x 1

WASHER, SEALING, M8 x 11.5 x 1

2шт.

Included in Fuel Injection Pump Gasket Kit P/N 3079244R91

1шт.

60

3079315R1

NUT

- slotted

1шт.

61

3079316R1

SHAFT

AXLE - throttle, used with pump assembly 3228115R91

1шт.

62

3079317R1

O-RING

- throttle axle

1шт.

Included in Fuel Injection Pump Gasket Kit P/N 3079244R91

1шт.

63

3079318R1

WASHER

- flat, 1.40 mm

1шт.

63

3079319R1

WASHER

- flat, 1.30 mm, no longer available

1шт.

63

3079320R1

WASHER

- flat, 1.35 mm, no longer available

1шт.

64

3079321R91

PINION

FLYWHEEL - axle

1шт.

65

3079322R2

WASHER

- distance

1шт.

66

3079469R1

SLEEVE

- governor

1шт.

67

3079470R1

CAP

- sealing

1шт.

68

3079444R1

PLUG

- closing, 7.60 mm, no longer available

1шт.

68

3079569R1

PLUG

- closing, 7.80 mm (Replaces plug 3079445R1)

1шт.

68

3079570R1

PLUG

- closing, 8.00 mm (Replaces plug 3079446R1)

1шт.

68

3079571R1

PLUG

- closing, 8.20 mm (Replaces plug 3079447R1)

1шт.

68

3079572R1

PLUG

- closing, 8.40 mm (Replaces plug 3079448R1)

1шт.

68

3079573R1

SPRING

PLUG - closing, 8.60 mm (Replaces plug 3079449R1)

1шт.

68

3079574R1

PLUG

- closing, 8.80 mm (Replaces plug 3079450R1)

1шт.

68

3079575R1

PLUG

- closing, 9.00 mm (Replaces plug 3079451R1)

1шт.

68

3079576R1

PLUG

- closing, 9.20 mm (Replaces plug 3079452R1)

1шт.

68

3079577R1

PLUG

- closing, 9.40 mm (Replaces plug 3079453R1)

1шт.

68

3079578R1

PLUG

- closing, 9.60 mm, no longer available (Replaces plug 3079454R1)

1шт.

68

3079579R1

PLUG

- closing, 9.80 mm (Replaces plug 3079455R1)

1шт.

68

3079456R1

PLUG

- closing, 10.00 mm, no longer available

1шт.

68

3079581R1

PLUG

- closing, 10.20 mm (Replaces plug 3079457R1)

1шт.

68

3079582R1

PLUG

- closing, 10.40 mm (Replaces plug 3079458R1)

1шт.

68

3079583R1

PLUG

- closing, 10.60 mm (Replaces plug 3079459R1)

1шт.

69

3079513R1

SPRING

- used with pump assembly 3228115R91

1шт.

69

3079522R1

SPRING

- used with pump assembly 3228149R91

1шт.

70

3079158R2

BOLT,Hex, 5/16" x 5/8", Gr 5

SCREW - housing cover

4шт.

71

3079343R1

O-RING

- seal

1шт.

Included in Fuel Injection Pump Gasket Kit P/N 3079244R91

1шт.

72

3079238R2

PLUG

- distributor head, no longer available

1шт.

73

3053133R1

SEALING RING,M8 x 11.5 x 1

WASHER, SEALING, M8 x 11.5 x 1

1шт.

Included in Fuel Injection Pump Gasket Kit P/N 3079244R91

1шт.

74

3079483R1

SCREW

- vent

1шт.

75

3078535R1

O-RING

- regulator valve

1шт.

Included in Fuel Injection Pump Gasket Kit P/N 3079244R91

1шт.

76

3078358R1

O-RING

- regulator valve

1шт.

Included in Fuel Injection Pump Gasket Kit P/N 3079244R91

1шт.

77

3079484R1

REGULATOR

- valve

1шт.

78

3079344R1

BANJO BOLT

SCREW - hollow

1шт.

79

3079097R2

CAP

- protection

6шт.

80

3079044R1

SCREW

PLUG - closing

1шт.

81

3079255R1

KEY

- Woodruff, no longer available

1шт.

82

933330R1

DISC

SCREW - pan head

2шт.

83

3079203R2

GASKET

RING - housing

1шт.

Included in Fuel Injection Pump Gasket Kit P/N 3079244R91

1шт.

84

3079346R1

COVER

- plate

1шт.

85

931326R1

SCREW,Slotted Cheese , M4 x 0.7 x 5mm, Cl 8.8

- pan head

1шт.

86

933982R1

WAVE WASHER,M4.3 ID x 9 OD x .5 Thk

WASHER - lock, 4 mm, bent spring

1шт.

87

3132598R1

INDICATOR

POINTER - timing

1шт.

88

3079406R91

HOUSING

- includes advance piston

1шт.

89

3079194R91

PUMP

- charge

1шт.

90

3079196R91

RETAINER

- roller, used with pump assembly 3228115R91

1шт.

90

3079523R91

RING

RETAINER - roller, used with pump assembly 3228149R91

1шт.

91

3079377R91

PIN

SET - advance piston pin

1шт.

92

3079211R91

SPRING

SET - spring plunger

1шт.

93

3079245R91

PACKAGE, REPAIR

SET - governor parts

1шт.

94

3079246R91

PACKAGE, REPAIR

SET - pin and spring

1шт.

95

3079514R1

PLATE

CAM - face, no longer available

1шт.

96

3079347R91

WASHER

- selection

1шт.

96

3079348R91

WASHER

- selection

2шт.

97

3079349R91

PLATE

- selection

1шт.

98

3079488R1

SPRING

- pressure

2шт.

99

3079515R1

SWITCH

VALVE - magneto

1шт.

934044R1

WASHER,M5.3 ID x 10 OD x 1 Thk

- flat, 5 mm

1шт.

825-1405

NUT,M5, Cl 8

(Replaces nut 905425R1) M5, Cl 8

1шт.

100

3078363R1

O-RING

- distributor head

1шт.

Included in Fuel Injection Pump Gasket Kit P/N 3079244R91

1шт.

101

934005R1

SEALING RING,12mm ID x 18mm OD x 1.5mm Thk

1шт.

102

3079566R1

LEVER

- adjusting

1шт.

103

3079489R1

SLEEVE

- protection

1шт.

104

3079436R92

PLUG

- selection

1шт.

Not Illustrated

1шт.

3079244R91

GASKET KIT

KIT - fuel injection pump gasket, Includes: Ref. 15, 26, 59, 62, 71, 73, 75, 76, 83 & 100

1шт.

Выбрано товаров: 205