Запчасти Case IH D-358 (6-008) - CRANKCASE OIL PAN

Схема запчастей Case IH D-358 - (6-008) - CRANKCASE OIL PAN
7
3
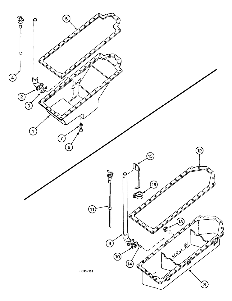
1
6
4
8
10
13
16
12
11
5
9
15
2
14
FIT
1:1
100%

Артикул

Название

Примечание

Количество

1

3056598R1

PAN, ENGINE OIL

PAN - crankcase oil, 826, 2826, 786, 886 and 1400 Cotton Harvesters

1шт.

1

3228408R1

PAN

- crankcase oil, used with 3088 and 3288 tractors

1шт.

413-516

BOLT,Hex, 5/16" - 18 x 1", Gr 5

- hex, 5/16 NC x 1 inch (Replaces bolt 179818)

25шт.

413-514

BOLT,Hex, 5/16" - 18 x 7/8", Gr 5

(Replaces screw 179817) Hex, 5/16"-18 x 7/8", G5, Full Thd

3шт.

413-518

BOLT,Hex, 5/16" - 18 x 1-1/8", Gr 5

- hex, 5/16 NC x 1-1/8 inch (Replaces screw 179819)

4шт.

3218395R1

BELLEVILLE WASHER,8.199mm ID x 16mm OD x 0.9mm Thk

Lock (5/16") M8.2 ID x 16 OD x .9 Thk

32шт.

2

3055986R11

NECK FILLER

BASE - oil filling, used with 826, 2826, 786, 886, 3088 and 3288 tractors, no longer available

1шт.

2

3144748R91

GAUGE ASSY.

BASE - oil filling, used with 1400 cotton harvesters

1шт.

413-514

BOLT,Hex, 5/16" - 18 x 7/8", Gr 5

(Replaces screw 179817) Hex, 5/16"-18 x 7/8", G5, Full Thd

2шт.

492-11031

LOCK WASHER,5/16"

WASHER, LOCK, (Replaces washer 3050129R1) 5/16"

2шт.

3

3218792R3

GASKET

- oil filler socket tube

1шт.

4

3055981R91

ELECTRICAL GAUGE

GAUGE - oil level, used with 826, 2826, 786 and 886 tractors

1шт.

4

3132816R1

DIPSTICK

GAUGE - oil level, used with 1400 cotton harvesters

1шт.

4

3228411R1

ELECTRICAL GAUGE

GAUGE - oil level, used with 3088 and 3288 tractors

1шт.

5

3055987R3

OIL PAN GASKET SET,1.5mm Thk

- oil pan

1шт.

6

3059999R3

PLUG

- filler and drain (Replaces plug 3131883R2)

1шт.

7

1964123C1

SEALING RING,M23 x 31 x 2

RING - packing (Replaces ring 933609R1)

1шт.

8

3218786R91

PAN, ENGINE OIL

PAN - oil, crankcase, 1420 Combines

1шт.

25228R1

BOLT,Hex, 5/16" - 18 x 3/4", Gr 8

SCREW - hex, 5/16 NC x 5/8 inch (Replaces screw 179814)

31шт.

413-514

BOLT,Hex, 5/16" - 18 x 7/8", Gr 5

(Replaces screw 179817) Hex, 5/16"-18 x 7/8", G5, Full Thd

2шт.

3218395R1

BELLEVILLE WASHER,8.199mm ID x 16mm OD x 0.9mm Thk

Lock (5/16") M8.2 ID x 16 OD x .9 Thk

33шт.

9

3136009R11

TUBE,813 mm Length

- oil filling

1шт.

3146575R1

NUT

- hex seal

2шт.

10

3218792R3

GASKET

- oil filler socket tube

1шт.

11

3136011R1

DIPSTICK

GAUGE - oil level

1шт.

12

3055162R2

GASKET

- oil pan

1шт.

13

217-411

PLUG,Hex Hd, 1/2" - 14 NPT

Gasket not used (Replaces plug 444630) Hex Hd, 1/2"-14

1шт.

14

934771R1

STUD,M8 x 30, 8.8

- oil pan (Replaces stud 933691R1)

2шт.

15

3136010R2

BRACKET

- oil filler tube

1шт.

25228R1

BOLT,Hex, 5/16" - 18 x 3/4", Gr 8

SCREW - hex, 5/16 NC x 3/4 inch (Replaces screw 179814)

1шт.

492-11031

LOCK WASHER,5/16"

WASHER, LOCK, (Replaces washer 103320) 5/16"

1шт.

16

3132818R1

CLAMP

- filler tube, no longer available

1шт.

413-410

BOLT,Hex, 1/4" - 20 x 5/8", Gr 5

- hex, 1/4 NC x 5/8 inch (Replaces bolt 179793)

1шт.

425-104

NUT,1/4"-20, Cl 5

- hex, 1/4 inch NC (Replaces nut 109084)

1шт.

492-11025

LOCK WASHER,1/4"

WASHER, LOCK, (Replaces washer 103319) 1/4"

1шт.

Выбрано товаров: 35