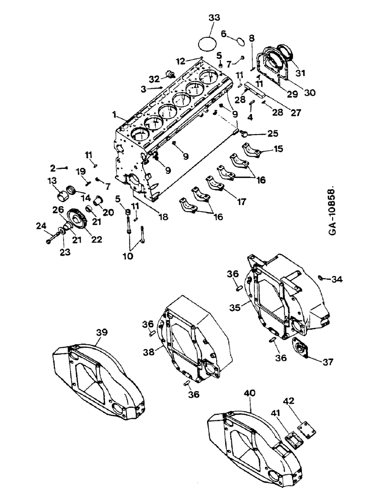
Запчасти Case IH D-358 (06-11) - CRANKCASE, 6 CYLINDER

Схема запчастей Case IH D-358 - (06-11) - CRANKCASE, 6 CYLINDER
5
18
3
28
38
12
31
29
9
34
4
16
9
11
39
7
19
16
21
11
41
25
9
11
1
17
40
36
32
23
22
26
36
28
7
8
6
5
42
30
20
36
36
27
24
13
2
15
10
21
11
35
14
37
33
FIT
1:1
100%

Артикул

Название

Примечание

Количество

1

3132724R95

CRANKCASE

D-310

1шт.

1

3136194R94

CRANKCASE

D-358

1шт.

1

3132041R96

CRANKCASE

DT-358

1шт.

1

3144723R92

HOUSING

CRANKCASE - DT-402 - WITH ITEMS 2 - 17

1шт.

3228562R1

PLUG

9 MM DIA

3шт.

2

103883

PIPE PLUG,Slotted, Headless, 1/8" NPT

5шт.

3

3144520R1

PLUG

1/4

4шт.

3

445684

PLUG

1/8

1шт.

4

141284

PIN,25.4mm OD x 31.75mm L

Pin

2шт.

5

3055007R1

BUSHING

DOWEL

16шт.

6

41-3044

PLUG,Exp, 2 3/4"

EXPANSIONS

1шт.

7

933537R1

PLUG,M25, Conical

"U"

2шт.

8

3055270R1

STUD

1шт.

9

933750R1

PLUG,M32, Conical

"U"

3шт.

10

3138580R1

BOLT,Hex Flg, 9/16" - 12 x 120.70mm, 12.9

Bearing cap, 120 MM - D310, D-358, DT-358

14шт.

10

3136320R1

SCREW

BEARING CAP 105 MM - DT-402

14шт.

11

NLS

NO LONGER SERVICED

PIN

1шт.

12

3136004R1

COVER

PLUG, "U"

1шт.

13

3055008R1

CAMSHAFT BEARING

CAMSHAFT, FRONT

1шт.

14

3055009R2

BEARING LINER

BUSHING, CAMSHAFT

3шт.

15

3144436R91

CRANKSHAFT BEARING

PACKAGE, SERVICE, FOR C/SHAFT BRG CAP - D-310, D-358, DT-358

1шт.

15

3144434R91

CRANKSHAFT BEARING

PACKAGE, SERVICE, FOR C/SHAFT BRG CAP - DT-402

1шт.

16

3144438R91

BEARING ASSY

PACKAGE, SERVICE, FOR C/SHAFT BRG CAP - D-310, D-358, DT-358

1шт.

16

3144440R91

BEARING ASSY

PACKAGE, SERVICE, FOR C/SHAFT BRG CAP - DT-402

1шт.

17

3144442R91

BEARING ASSY

PACKAGE, SERVICE, FOR C/SHAFT BRG CAP - D-310, D-358

1шт.

17

3144438R91

BEARING ASSY

PACKAGE, SERVICE, FOR C/SHAFT BRG CAP - DT-358

1шт.

17

3144440R91

BEARING ASSY

PACKAGE, SERVICE, FOR C/SHAFT BRG CAP - DT-402 - ORDER CRANKCASE

1шт.

19

3055065R1

STUD

5/16 X 39 MM

1шт.

19

3055989R1

STUD

5/16 X 83 MM - USED W/WATER PUMP MOUNTING PLATE 3136678R2 -

1шт.

20

3055373R1

CARRIER

IDLER GEAR

1шт.

21

3058816R91

NEEDLE BEARING CAGE,35mm ID x 42mm OD x 17.8mm W

2шт.

22

3055043R3

PINION

GEAR, IDLER

1шт.

23

3055372R1

DISC

WASHER, THRUST

1шт.

24

3055374R2

BOLT

IDLER GEAR, LH. THREAD

1шт.

25

20990R1

PLUG

1шт.

26

787656R1

SPACER,35.5mm ID x 41mm OD x 4mm L

DISTANCE

1шт.

27

3055214R1

SUPPORT

BAR, SEALING

1шт.

28

714868R1

SEALING STRIP

SEAL, LIP

2шт.

29

3055215R1

GASKET

1шт.

30

3055216R1

RETAINER

1шт.

179816

BOLT,Hex, 5/16" - 18 x 3/4", Gr 5

8шт.

9635082

NUT,5/16" - 18, Gr 5

1шт.

3218395R1

BELLEVILLE WASHER,8.199mm ID x 16mm OD x 0.9mm Thk

(5/16")

9шт.

31

3138701R91

SEAL

1шт.

32

3055238R92

PRESSURE SWITCH

OIL PRESSURE - IF SO EQUIPPED

1шт.

112877

ADAPTER,1/4" NPT Male x 1/8" NPT Fem

UNION, REDUCER 1/4 X 1/8

1шт.

217-40

REDUCER,1/4"-18 NPTF x 1/8"-27 Fem NPTF

UNION, REDUCER 1/4 X 1/8

1шт.

33

3218538R1

SHIM

0.05 MM

1шт.

33

3218539R1

SHIM

0.10 MM

1шт.

33

3218540R1

SHIM,112.06mm ID x 118.6mm OD x 0.25mm Thk

0.25 MM

1шт.

33

3218541R1

SHIM

0.50 MM

1шт.

33

3218542R1

SHIM

0.80 MM

1шт.

34

711055R1

WASHER

14шт.

35

3218932R91

HOUSING

FLYWHEEL WITH ITEM 36 - 1255, 1455+XL

1шт.

179884

BOLT,Hex, 1/2" - 13 x 1 3/8", Gr 5, Full Thd

1/2 X 35 MM

4шт.

3218934R1

BOLT

1/2 X 306 MM

6шт.

3218935R1

BOLT

1/2 X 350 MM

6шт.

103323

LOCK WASHER,1/2"

1шт.

25526R1

NUT,1/2"-13, G8

1/2

2шт.

3218936R1

STUD

1/2 X 354 MM

2шт.

35

3218994R91

HOUSING

FLYWHEEL WITH ITEM 36 - 1255, 1455+XL - VERSION WITH FLUID CLUTCH

1шт.

28230R1

BOLT,Hex, 1/2" - 13 x 1 5/8", Gr 8

1/2 X 41 MM

4шт.

28228R1

BOLT,Hex, 1/2" - 13 x 2", Gr 8

1/2 X 51 MM

6шт.

28231R1

BOLT,Hex, 1/2" - 13 x 2 1/4", Gr 8

1.2 X 51 MM

6шт.

28229R1

BOLT,Hex, 1/2" - 13 x 4 1/8", Gr 8

1/2 X 105 MM

2шт.

25526R1

NUT,1/2"-13, G8

1/2

16шт.

3218995R1

WASHER

48шт.

36

3055165R1

DOWEL,M16 x 36

PIN - 955, 956, 1055, 1056, 1255 + XL

2шт.

36

932737R1

DOWEL,M16 x 28

PIN - 1455 + XL

2шт.

37

3218996R1

PLATE

STARTER MOTOR MOUNTING - 1455 + XL

1шт.

38

3218532R92

HOUSING

FLYWHEEL, WITH ITEM 36 - 955, 956, 1055, 1056+XL

1шт.

179884

BOLT,Hex, 1/2" - 13 x 1 3/8", Gr 5, Full Thd

1/2 X 35 MM

4шт.

413-8136

BOLT,Hex, 1/2" - 13 x 8-1/2", Gr 5

1/2 X 216 MM

6шт.

16099R1

BOLT,Hex, 1/2" - 13 x 11", Gr 5

1/2 X 279 MM

2шт.

3218676R1

BOLT

1/2 X 279 MM

2шт.

103323

LOCK WASHER,1/2"

1шт.

3144464R1

STUD

1/2 X 264 MM

2шт.

3218093R1

STUD

1/2 X 298 MM

2шт.

102637

NUT,1/2"-13, G5

4шт.

39

3055500R1

HOUSING

FLYWHEEL - 923, 933, 943

1шт.

39

3218858R1

HOUSING

FLYWHEEL - 953

1шт.

39

3228128R1

HOUSING

SPARE PART FLYWHEEL - 1420

1шт.

179883

BOLT,Hex, 1/2" - 13 x 1 1/4", Gr 5

6шт.

179885

BOLT,Hex, 1/2" - 13 x 1 1/2", Gr 5

420

6шт.

103323

LOCK WASHER,1/2"

6шт.

40

3218439R1

HOUSING

FLYWHEEL - 858F

1шт.

179884

BOLT,Hex, 1/2" - 13 x 1 3/8", Gr 5, Full Thd

1/2 X 35 MM

6шт.

41

787811R1

GASKET

858F

1шт.

42

787810R1

COVER

1шт.

88574

BOLT,Hex, 5/16" - 18 x 1/2", Gr 5, Full Thd

5/16 X 13 MM

4шт.

103320

LOCK WASHER,5/16"

4шт.

3136817R99

GASKET KIT

CRANKCASE

1шт.

Выбрано товаров: 92