Запчасти Case IH D-358 (06-32) - OIL PAN, 6 CYLINDER

Схема запчастей Case IH D-358 - (06-32) - OIL PAN, 6 CYLINDER
7
8
3
14
11
6
1
12
4
5
10
2
9
13
15
FIT
1:1
100%

Артикул

Название

Примечание

Количество

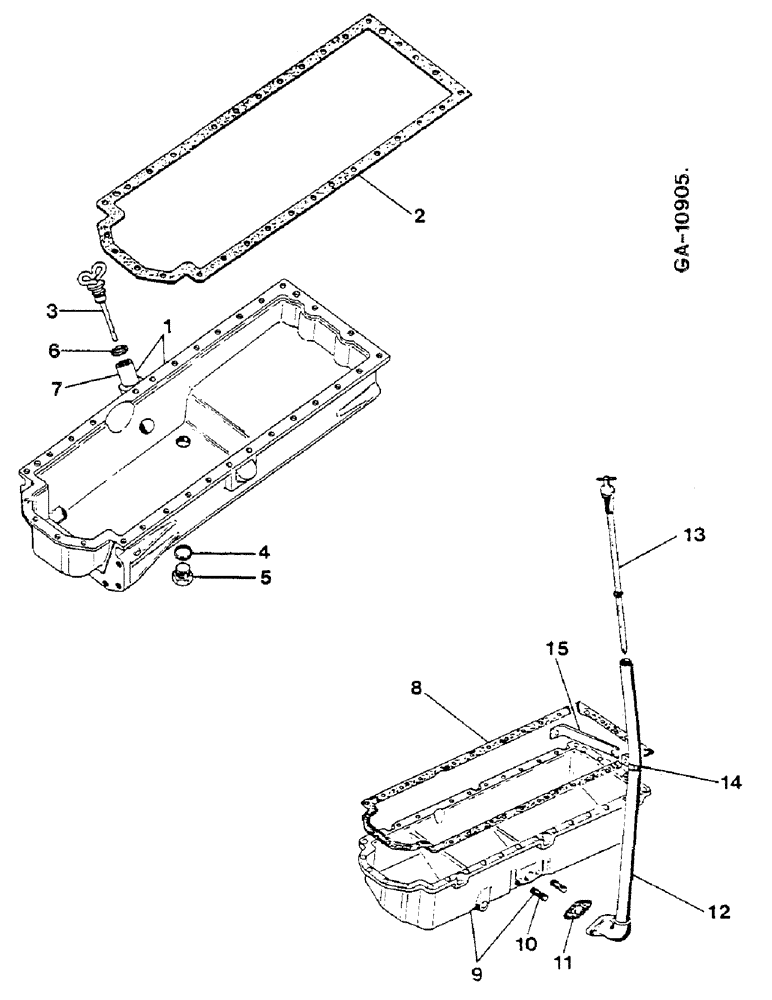
1

3218414R1

PAN

OIL - 955, 956+XL, 1055+) 1255+XL, 1455+XL

1шт.

1

3218083R91

PAN

OIL - 858L

1шт.

24477R1

BOLT,Hex, 5/16" - 18 x 1", Gr 8

2шт.

24730R1

BOLT,Hex, 5/16" - 18 x 1 1/8", Gr 8

25шт.

24647R1

BOLT,Hex, 5/16" - 18 x 3 1/4", Gr 8

5

4шт.

933803R1

WAVE WASHER,M8.4 ID x 15 OD x .8 Thk

6

4шт.

493-41033

LOCK WASHER,0.33" ID x 0.61" OD x 0.03" Thk

27шт.

2

3055987R1

OIL PAN GASKET SET

1шт.

3

3218415R91

GAUGE

OIL WITH ITEM 6

1шт.

4

933609R1

RING

1шт.

5

3131883R2

SCREW

PLUG

1шт.

6

3218634R1

O-RING,2.4mm Thk x 8.3mm ID, 72 Duro

1шт.

7

3218412R1

TUBE

GUID

1шт.

7

3138693R1

TUBE

OIL - 858

1шт.

8

3055162R1

OIL PAN GASKET SET

1шт.

9

3218786R91

PAN, ENGINE OIL

PAN, OIL 923 953HD, 1420

1шт.

13-510

BOLT,Hex, 5/16" - 18 x 5/8", Gr 5, Full Thd

3шт.

179815

BOLT,Hex, 5/16" - 18 x 11/16", Gr 5

5

28шт.

179817

BOLT,Hex, 5/16" - 18 x 7/8", Gr 5, Full Thd

5

2шт.

3218395R1

BELLEVILLE WASHER,8.199mm ID x 16mm OD x 0.9mm Thk

6

33шт.

10

930343R1

STUD,M8 x 20, Cl8.8

M8 X

2шт.

11

3218792R2

GASKET

1шт.

12

3136009R11

TUBE,813 mm Length

OIL

1шт.

3146575R1

NUT

M8

2шт.

13

3136011R1

DIPSTICK

GAUGE, OIL

1шт.

14

3132818R1

CLAMP

1шт.

179793

BOLT,Hex, 1/4" - 20 x 5/8", Gr 5, Full Thd

1шт.

103319

LOCK WASHER,1/4"

1шт.

109084

NUT,1/4"-20, G5

1шт.

15

3136010R2

BRACKET

1шт.

13-510

BOLT,Hex, 5/16" - 18 x 5/8", Gr 5, Full Thd

1шт.

103320

LOCK WASHER,5/16"

1шт.

Выбрано товаров: 32