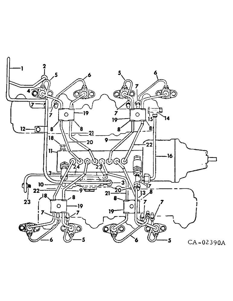
Запчасти Case IH DV-550 (A-13) - FUEL INJECTION PUMP AND CONNECTIONS

Схема запчастей Case IH DV-550 - (A-13) - FUEL INJECTION PUMP AND CONNECTIONS
6
22
19
5
8
21
11
23
10
6
8
6
5
19
13
7
7
22
8
7
9
14
8
20
16
5
18
12
3
19
4
24
15
7
21
2
7
18
20
1
5
7
17
6
23
9
7
8
19
7
8
8
3
FIT
1:1
100%

Артикул

Название

Примечание

Количество

1

427090C91

PIPE, filter to primary pump

1шт.

2

606819C1

CONNECTOR, ELEC

CONNECTOR, 3/8 OD tube to 1/4 pipe tap

1шт.

3

606845C1

ELBOW

90 deg tube to 1/4 pipe tap

2шт.

4

465495C91

HOLDER

NOZZLE ASSY, fuel injection, Replaces 393905C91, For components see list of parts under details of fuel injection nozzle

8шт.

298850C1

BOLT

special injection nozzle

16шт.

103320

LOCK WASHER,5/16"

WASHER, LOCK, 5/16"

16шт.

5

283705C91

PIPE W/TWO SLEEVE AND NUTS, leak off to intake manifold, Cylinder nos. 1, 4, 5 & 8

4шт.

144526H1

SLEEVE CYLINDER

SLEEVE, 3/16 tube

8шт.

681180R1

NUT,0.188" OD

flex 3/16 tube

4шт.

263299C1

NUT, 3/16 tube

4шт.

6

283704C91

PIPE W/TWO SLEEVE AND NUTS, leak off to intake manifold, cylinder nos. 2, 3, 6 and 7

4шт.

144526H1

SLEEVE CYLINDER

SLEEVE, 3/16 tube

8шт.

681180R1

NUT,0.188" OD

flex 3/16 tube

4шт.

263299C1

NUT, 3/16 tube

4шт.

7

322292C1

CONNECTOR, leak off, Serial Range: pipe-manifold

8шт.

8

258079C1

GROMMET

injection line

8шт.

9

393873C2

PIPE

W/SLEEVES AND NUTS, Cylinder nos. 3 and 6

2шт.

10

393933C93

PIPE W/SLEEVES AND NUTS, transfer pump to injection pump

1шт.

265204R1

SLEEVE

2шт.

265205R1

TUBE NUT,0.531" Length

NUT, flex

2шт.

11

PUMP ASSY, fuel injection, For components see list of parts under details of fuel injection pump

1шт.

24841R1

BOLT,Hex, 3/8" - 16 x 1 1/2", Gr 8

Hex, 3/8"-16 x 1 1/2 inch, G8

4шт.

120382

LOCK WASHER,Helical Spring, 3/8"

WASHER, LOCK, 3/8"

4шт.

25709R1

WASHER

13/32 x 13/16 x 3/32 znd hardened

4шт.

12

359154C1

CLAMP

fuel pipe

1шт.

13

401052C92

PIPE

W/SLEEVES AND NUTS, leak off to left intake manifold

1шт.

134630H1

SLEEVE

2шт.

166483R1

NUT

2шт.

14

352236C1

TEE

fuel return pipe

1шт.

15

444028

REDUCER,3/8"-18 NPTF x 1/4"-18 Fem NPTF

3/8 x 1/4 NPT bushing

1шт.

16

400907C92

PIPE W/SLEEVES AND NUTS, leak off to right intake manifold

1шт.

134630H1

SLEEVE

2шт.

166483R1

NUT

2шт.

17

343419C1

JOINT

TEE, fuel return pipe

1шт.

18

39677DA

VALVE

air bleed

1шт.

19

356258C1

CLAMP, fuel pipe

4шт.

179817

BOLT,Hex, 5/16" - 18 x 7/8", Gr 5, Full Thd

4шт.

103320

LOCK WASHER,5/16"

WASHER, LOCK, 5/16"

4шт.

20

393871C1

PIPE

W/SLEEVES AND NUTS, cylinder nos. 2 and 7

2шт.

21

393875C1

PIPE

W/SLEEVES AND NUTS, cylinder nos. 4 and 5

2шт.

22

393869C2

PIPE

W/SLEEVES AND NUTS, cylinder nos. 1 and 8

2шт.

23

322296C1

ELBOW

90 deg

2шт.

24

436825C91

PIPE W/SLEEVES AND NUTS, oil, Replaces two piece lubrication pipes

1шт.

144526H1

SLEEVE CYLINDER

SLEEVE, 3/16 tube

2шт.

681180R1

NUT,0.188" OD

3/16 flex tube

2шт.

283824C11

TEE W/SLEEVES AND NUTS, Used w/two piece lubrication pipes

1шт.

144526H1

SLEEVE CYLINDER

SLEEVE, 3/16 tube

2шт.

681180R1

NUT,0.188" OD

3/16 flex tube

2шт.

Выбрано товаров: 0