Запчасти Case IH DV-550 (A-15) - FUEL INJECTION PUMP

Схема запчастей Case IH DV-550 - (A-15) - FUEL INJECTION PUMP
67
94
114
76
93
89
79
98
91
70
88
108
41
102
54
58
39
69
12
86
60
82
8
98
111
101
121
31
11
106
57
120
62
16
2
48
122
17
6
117
86
34
99
110
104
115
97
75
15
80
126
22
59
85
13
9
125
4
61
116
33
65
83
129
90
19
56
97
44
70
5
78
4
38
103
37
112
14
34
100
113
124
127
123
55
18
10
20
3
105
40
36
33
92
77
63
74
1
25
95
72
111
13
47
119
30
96
32
49
130
35
23
24
46
68
28
21
84
75
66
3
52
96
43
45
51
73
26
64
107
128
29
27
50
53
71
109
42
81
118
22
FIT
1:1
100%

Артикул

Название

Примечание

Количество

421778C92

PUMP ASSY, fuel injection, 2400 RPM, 1468 tractors, Order pump assy, 465518C91

1шт.

465518C91

PUMP ASSY, fuel injection, 2600 RPM, 1568 tractors, Will work for 421778C92 and 451987C91

1шт.

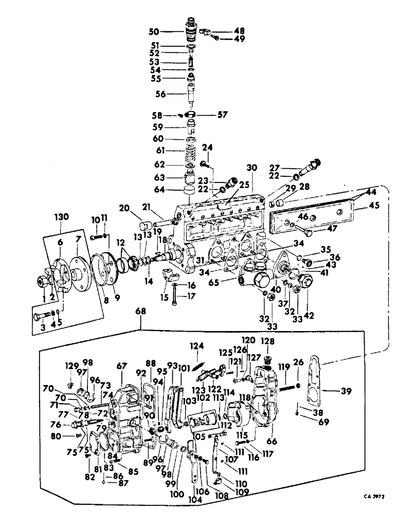
1

397609C1

NUT, camshaft

1шт.

2

397610C1

WASHER, camshaft lock

1шт.

3

NLS

NO LONGER SERVICED

SCREW, coupling, Discontinued for service

4шт.

4

933983R1

LOCK WASHER,M6

WASHER, lock

4шт.

5

NLS

NO LONGER SERVICED

WASHER, flat, Discontinued for service

4шт.

6

NSS

NOT SOLD SEPARAT

COUPLING, part 1, Not serviced separately, Order 406419C91

1шт.

7

NSS

NOT SOLD SEPARAT

COUPLING, part 2, Not serviced separately, Order 406419C91

1шт.

8

397613C1

O-RING

injection pump

1шт.

9

397612C1

RETAINER, injection pump bearing

1шт.

459996C1

GASKET, pump retainer, Pump serial no. 321 & above

1шт.

10

931392R1

SCREW

retainer

4шт.

11

933987R1

LOCK WASHER,M6

WASHER, retainer lock

4шт.

12

397591C91

BEARING ASSY, free end

1шт.

12

397592C91

BEARING ASSY, drive end

1шт.

13

397595C1

SHIM, free end .004

1шт.

13

397596C1

SHIM, free end .0047

1шт.

13

397597C1

SHIM, free end .0055

1шт.

13

397598C1

SHIM, free end .0063

1шт.

13

397599C1

SHIM, free end .0071

1шт.

13

397600C1

SHIM, free end .012

1шт.

13

397601C1

SHIM, free end .020

1шт.

13

397602C1

SHIM, free end .039

1шт.

13

397603C1

SHIM, drive end .0039

1шт.

13

397604C1

SHIM, drive end .0047

1шт.

13

397605C1

SHIM, drive end .0055

1шт.

13

397606C1

SHIM, drive end .0063

1шт.

13

397607C1

SHIM, drive end .0071

1шт.

13

397608C1

SHIM, drive end .020

1шт.

13

406987C1

SHIM, drive end .012

1шт.

14

397593C1

SPACER, free end

1шт.

14

397594C1

SPACER, drive end

1шт.

15

397616C1

SUPPORT, bearing

1шт.

16

397617C1

SCREW, bearing support

2шт.

17

397618C1

WASHER, flat

2шт.

18

397556C1

CAMSHAFT, injection pump, For use w/pump, 421778C91

1шт.

18

439192C1

CAMSHAFT, injection pump, For use w/pumps, 421778C92, 451987C91 & 465518C91

1шт.

19

932682R1

KEY

camshaft Woodruff

1шт.

20

406984C1

CAP, closing

1шт.

21

397589C1

RACK, control

1шт.

22

397630C1

PACKING RING

GASKET, copper

2шт.

23

625924C1

FITTING

pump

1шт.

24

397590C1

SCREW, control rack

1шт.

25

NSS

NOT SOLD SEPARAT

NAME PLATE, Not serviced separately

1шт.

26

86500688

NUT,Hex, M6 x 1.0, Cl 10.9

lock

1шт.

27

397626C91

VALVE, overflow

1шт.

28

397558C1

BUSHING, guide front

1шт.

28

459991C1

BUSHING, guide rear

1шт.

29

397559C1

RING, guide

2шт.

30

469310C91

HOUSING ASSY, pump, Replaces 397557C91

1шт.

31

397624C1

STUD

pump housing, 6 for pumps, 421778C91, 421778C92 and 451987C91, 3 for pump, 465518C91

1шт.

32

933987R1

LOCK WASHER,M6

WASHER, pump housing stud lock, 1 per stud

1шт.

33

86500688

NUT,Hex, M6 x 1.0, Cl 10.9

pump housing stud, 1 per stud

1шт.

34

678004C1

GASKET

pump housing, 2 for pumps, 421778C91, 421778C92 and 451987C91, 1 for pump, 465518C91

1шт.

35

933610R1

SEALING RING,M14 x 18 x 1.8

Adapter M14 x 18 x 1.8

1шт.

36

426000C1

TUBE

ADAPTER, fitting

1шт.

37

934056R1

BALL,9mm Dia

WASHER, injection pump

1шт.

38

439186C1

WIRE, sealing

1шт.

39

397722C2

GASKET

1шт.

40

NLS

NO LONGER SERVICED

COVER W/TIMING PIN, pump housing, Discontinued for service

1шт.

41

670882C1

GASKET

cover

1шт.

42

419108C1

PLUG, timing pin cover

1шт.

43

420118C1

PIN, roll

1шт.

44

397619C91

COVER W/GASKET, 397620C1, pump

1шт.

45

397620C1

GASKET

cover

1шт.

46

933696R1

SEALING RING,M6 x 10 x 1

GASKET, 6 x 10 mm, cover bolt

3шт.

47

397621C1

BOLT, cover

3шт.

48

397586C1

CLAMP

plain hole

4шт.

48

397587C1

CLAMP

threaded

4шт.

49

397588C1

SCREW, clamp

4шт.

50

397583C1

RETAINER, valve

8шт.

51

397585C1

GASKET

valve

8шт.

52

397584C1

VALVE, fuel

8шт.

53

397582C1

SPRING, valve

8шт.

54

397581C1

GASKET

valve

8шт.

55

397580C1

VALVE, delivery, 1/4/6/7, For use w/pumps, 421778C91, 421778C92 and 451987C91

1шт.

55

406986C1

VALVE, delivery 1/4/6/7, For use w/pump, 465518C91

1шт.

55

406986C1

VALVE, delivery 2/3/5/8, For use w/pumps, 421778C91, 421778C92 and 451987C91

1шт.

55

397580C1

VALVE, delivery 2/3/5/8, For use w/pump, 465518C91

1шт.

56

439193C1

PISTON

1/4/6/7, For use w/pumps, 421778C91, 421778C92 and 451987C91

4шт.

56

465958C1

PISTON

1/4/6/7, For use w/pump, 465518C91

4шт.

56

439194C1

PISTON

2/3/5/8, For use w/pumps, 421778C91, 421778C92 and 451987C91

4шт.

56

439193C1

PISTON

2/3/5/8, For use w/pump 465518C91

4шт.

57

397575C1

GEAR SEGMENT, valve .894, As required

8шт.

57

397576C1

GEAR SEGMENT, valve .900, As required

8шт.

58

397577C1

SCREW, gear

8шт.

59

397574C1

SLEEVE

8шт.

60

397573C1

SEAT, upper spring

8шт.

61

397572C1

SPRING, fuel injection valve

8шт.

62

397571C1

SEAT, lower spring

8шт.

63

397564C1

SLEEVE, injection pump lifter

8шт.

64

397563C1

COVER, injection pump

8шт.

65

1700578C91

PUMP

ASSY, supply, Replaces 406414C91

1шт.

66

439187C1

HOUSING, governor

1шт.

67

3055891R1

COVER, governor

1шт.

68

439174C91

GOVERNOR ASSY, injection pump, For use w/pumps 421778C91, 421778C92 and 451987C91

1шт.

68

470277C91

GOVERNOR ASSY, injection pump, For use w/pump 465518C91

1шт.

69

670877C1

RIVET

sealing

1шт.

70

933696R1

SEALING RING,M6 x 10 x 1

RING - packing, 6 x 10 mm

2шт.

71

670883C1

NUT

cap

1шт.

72

933985R1

JAM NUT

lock

1шт.

73

439183C1

SCREW, stop

1шт.

74

NSS

NOT SOLD SEPARAT

NAME PLATE, Not serviced separately

1шт.

75

670887C1

RING

GASKET, copper

2шт.

76

670884C1

NUT

cap

1шт.

77

3059096R1

NUT

lock

1шт.

78

3055927R1

SCREW

1шт.

79

3055928R1

SPRING

1шт.

80

930242R1

BOLT,Hex, M6 x 1 x 12mm, Cl 8.8, Full Thd

Upper Hex, M6 x 12, 8.8, Full Thd

2шт.

81

701338C1

PLATE ASSY

1шт.

82

670655C1

SCREW, lower

2шт.

83

3055951R1

RING

packing

1шт.

84

983988R1

NUT, lock

1шт.

85

931115R1

SCREW

2шт.

85

397756C1

SCREW

4шт.

86

625562C1

ELECTRICAL WIRE

SEAL, wire

2шт.

87

3056572R1

RING

SEAL, lead

2шт.

88

625538C1

GASKET

housing

1шт.

89

3055902R1

SCREW

1шт.

90

625560C1

NUT, lock

1шт.

91

3055899R1

WASHER

PLUG, sealing

1шт.

92

763162C1

SHAFT

1шт.

93

625558C1

LEVER, tension

1шт.

94

439177C1

SHIM, 0.1 MM

1шт.

94

439175C1

SHIM 0.4 MM

1шт.

94

625586C1

SHIM 0.25 MM

1шт.

94

439176C1

SHIM 0.5 MM

1шт.

95

439178C1

CAPSULE, torque control

1шт.

96

933700R1

CIRCLIP,M16 x 1mm Thk, Ext

RING, retaining

2шт.

97

625540C1

O-RING,2.5mm Thk x 15mm ID

2шт.

98

3055909R1

BUSHING

2шт.

99

3055913R1

O-RING

1шт.

100

627863C1

SHIM, 0.3 MM

1шт.

100

625541C1

DISC

SHIM, 0.5 MM

1шт.

100

3055916R1

WASHER

SHIM, 1.0 MM

1шт.

101

625555C1

LEVER

ASSY, guide

1шт.

102

625556C1

BEARING

ASSY

1шт.

103

3054873R1

SHIM

0.2 MM

1шт.

103

3055894R1

SHIM

0.3 MM

1шт.

103

3055895R1

DISC

SHIM 0.4 MM

1шт.

103

3055896R1

WASHER

SHIM 1.0 MM

1шт.

104

439180C1

LEVER, control

1шт.

105

439191C1

WASHER

1шт.

106

847239R1

LOCK WASHER

lock

1шт.

107

3055903R91

LEVER

float

1шт.

108

439190C1

SCREW

1шт.

109

3055922R1

FORK

1шт.

110

625547C1

PIN

BUSHING

1шт.

111

933699R1

X,M5

RING, retaining

2шт.

112

439181C1

ARM

LEVER, shackle

1шт.

113

3055889R1

NUT

1шт.

114

625536C1

LOCK WASHER

1шт.

115

701336C1

WEIGHT

FLYWEIGHT, governor

1шт.

116

439189C1

SCREW

housing

6шт.

117

847239R1

LOCK WASHER

lock

6шт.

118

3054301R1

WOODRUFF KEY,M3 x 6.5

KEY, Woodruff

1шт.

119

439182C1

SCREW

1шт.

120

933983R1

LOCK WASHER,M6

WASHER, lock

1шт.

121

439188C1

SCREW

1шт.

122

3055907R1

LEVER, governor

1шт.

123

680185C1

SPRING, governor main

1шт.

124

439185C2

SPRING, start

1шт.

125

3055908R1

SCREW

1шт.

126

625564C1

SLEEVE

1шт.

127

439179C1

PLATE, lock

1шт.

128

439184C1

PLUG

housing

1шт.

129

3055912R1

PLUG

CAP

1шт.

130

406419C91

COUPLING ASSY, injection pump

1шт.

Выбрано товаров: 169