Запчасти Case IH DV-550 (A-20) - LUBRICATING OIL PUMP

Схема запчастей Case IH DV-550 - (A-20) - LUBRICATING OIL PUMP
13
6
7
2
12
9
4
5
17
8
11
3
16
14
15
1
10
FIT
1:1
100%

Артикул

Название

Примечание

Количество

312456C96

PUMP

ASSY W/O FLOAT, oil, For engines w/serial no. 51134 and below, Order pump assy, 476145C91, float, 476139C2, gasket, 479687C1 two bolts, 25492R1 and two washers, 120214, Includes ref nos 1 through 13

1шт.

476145C91

PUMP

ASSY, w/o float oil, Includes ref nos 1 through 13

1шт.

140483H

BOLT,Hex, 3/8" - 16 x 1 1/4", Gr 8, Full Thd

2шт.

120382

LOCK WASHER,Helical Spring, 3/8"

WASHER, LOCK, 3/8"

2шт.

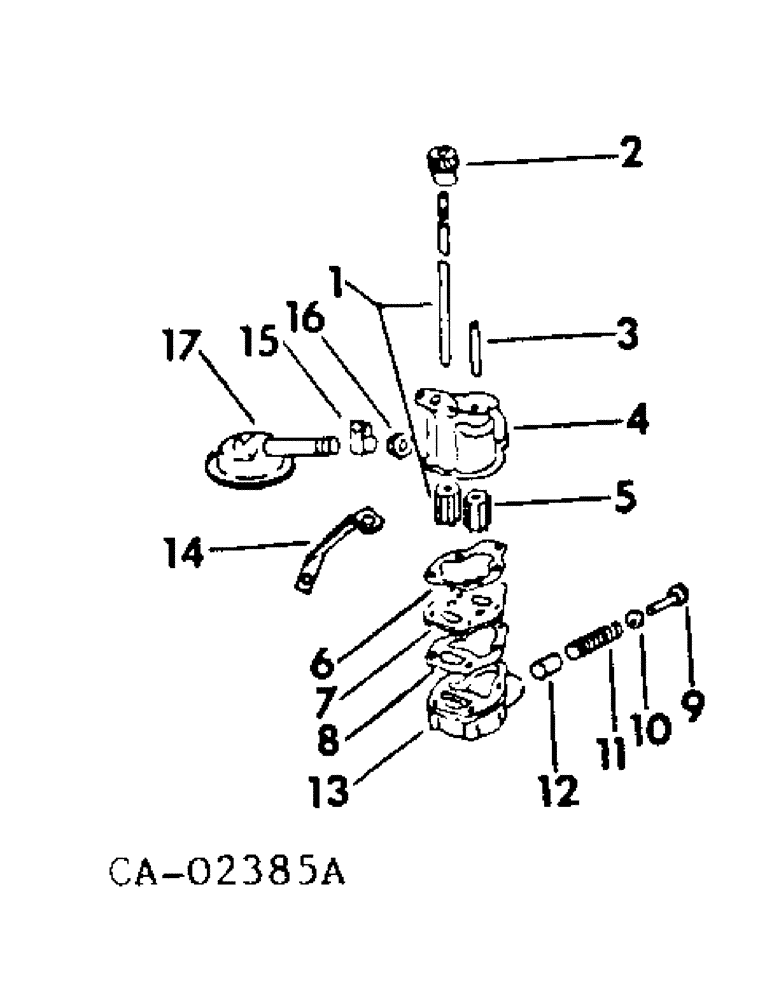
1

281686C11

SHAFT W/IDLER GEAR, oil pump

1шт.

17047R1

LOCK PIN,5/32" x 7/8", Slotted

Pin, 5/32" x 7/8", Slotted

1шт.

2

258143C3

GEAR, oil pump drive

1шт.

3

NSS

NOT SOLD SEPARAT

SHAFT, idler, Order oil pump assy

1шт.

4

NSS

NOT SOLD SEPARAT

BODY, oil pump, Order oil pump assy

1шт.

5

258136C1

GEAR, oil pump idler

2шт.

6

258140C1

GASKET

, Serial Range: plate-body

1шт.

7

NSS

NOT SOLD SEPARAT

PLATE, cover, Order oil pump assy

1шт.

8

258138C1

GASKET

, Serial Range: plate-cover

1шт.

9

384593C1

RETAINER

GUIDE, spring

2шт.

10

243019R1

Ring, Snap, 0.777", Int, #77 0.777", Int, #77

2шт.

11

283757C1

SPRING, relief valve

2шт.

12

283759C1

VALVE

oil pressure relief

2шт.

13

NSS

NOT SOLD SEPARAT

COVER, oil pump body, Order oil pump assy

1шт.

25234R1

BOLT,Hex, 5/16" - 18 x 2 1/4", Gr 8

5/16 x 2-1/4 phc type 8

4шт.

80681

LOCK WASHER,5/16"

WASHER, LOCK, 5/16"

4шт.

14

384890C1

BRACKET, oil pump, For float, 386568C1

1шт.

384891C2

BOLT, shoulder

1шт.

25222R1

BOLT,Hex, 1/4" - 20 x 3/4", Gr 8

1/4 x 3/4 phc type 8

1шт.

25709R1

WASHER

.406 x .812 x .089 HDN

1шт.

120382

LOCK WASHER,Helical Spring, 3/8"

WASHER, LOCK, 3/8"

1шт.

15

299566C1

CLAMP

For float, 386568C1

1шт.

25493R1

BOLT,Hex, 5/16" - 18 x 1", Gr 8

5/16 x 1 phc type 8

1шт.

25520R1

NUT,5/16"-18, G8

5/16 phc type 8

1шт.

80681

LOCK WASHER,5/16"

WASHER, LOCK, 5/16"

1шт.

25708R1

WASHER

.344 x .688 x .089 hdn

1шт.

16

349575C1

LOCKNUT, 1/2 pipe thd, For float, 386568C1

1шт.

17

386568C1

FLOAT, oil pump screen, Serial no. 51134 and below

1шт.

17

476139C2

TUBE

FLOAT, oil pump screen, Serial no. 51135 and above

1шт.

479687C1

GASKET

oil pump screen float

1шт.

25492R1

BOLT,Hex, 5/16" - 18 x 7/8", Gr 8

5/16 x 7/8 phc type 8

2шт.

80681

LOCK WASHER,5/16"

WASHER, LOCK, 5/16"

2шт.

Выбрано товаров: 36