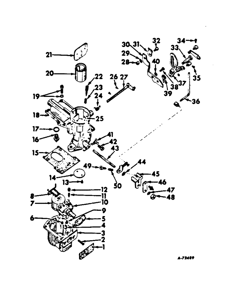
Запчасти Case IH BC-144 (H-19) - CARBURETOR, MACHINES WITH ENGINE SERIAL NUMBER 3524 AND BELOW

Схема запчастей Case IH BC-144 - (H-19) - CARBURETOR, MACHINES WITH ENGINE SERIAL NUMBER 3524 AND BELOW
6
38
23
12
15
47
7
39
49
11
50
43
13
46
21
8
5
17
40
37
19
36
4
16
26
18
20
48
29
24
28
27
25
1
45
44
22
35
3
41
33
10
2
42
32
9
31
14
34
30
FIT
1:1
100%

Артикул

Название

Примечание

Количество

3044193R92

CARBURETOR

ASSY, order 3106595R91

1шт.

1

3047468R1

GASKET

vertical bowl face

1шт.

3047467R1

SCREW, parker

2шт.

2

3047461R1

SCREW, emulsion block fixing

2шт.

3

3047458R1

BOWL, carburetor

1шт.

4

708396R1

JET

main, size 92

1шт.

5

3047460R1

GASKET

emulsion block

1шт.

6

3047505R1

SCREW

ventilating, size 2.6

1шт.

7

3047463R91

FLOAT

1шт.

8

3047464R91

ARM

FLOAT ARM AND PIVOT

1шт.

9

3048469R1

JET

compensating, size 85

1шт.

10

3047459R1

BLOCK, emulsion

1шт.

11

3047506R1

JET

slow running, size 50

1шт.

12

3047507R1

PLUG

over slow running jet, size 50

1шт.

13

3047479R1

SCREW

throttle

2шт.

14

3047478R1

THROTTLE

1шт.

15

3047466R1

GASKET

float chamber cover

1шт.

3047467R1

SCREW, parker

4шт.

16

3047508R91

SEAT

ING, needle, size 1.5

1шт.

17

3047462R1

WASHER

needle seating

1шт.

18

3047469R91

BARREL ASSY, carburetor

1шт.

19

3047465R91

SCREW

W/WASHER, fixing, Serial Range: bowl-barrel

4шт.

20

3048467R1

TUBE, choke, size 24

1шт.

21

3047486R1

FLAP, strangler

1шт.

22

3047499R1

SCREW

volume control

1шт.

23

3047500R1

SPRING

volume control

1шт.

24

3047485R1

SPRING

automaticity

1шт.

25

3047484R1

WASHER

strangler spindle

1шт.

26

700659R1

SCREW

slap

2шт.

27

3047483R91

LEVER

AND SPINDLE ASSY, strangler

1шт.

28

3047489R1

NUT

1шт.

29

3047490R1

WASHER, shakeproof

1шт.

30

3047491R91

BRACKET ASSY, strangler control

1шт.

31

3047487R1

CLIP

1шт.

32

3047488R1

SCREW

1шт.

33

3047495R1

SCREW

strangler central lever pivot

1шт.

34

3047497R1

SCREW, swivel

1шт.

35

3047496R1

SCREW, Interconnection swivel

1шт.

36

3047476R1

ROD, Interconnection

1шт.

37

3047493R91

LEVER

ASSY, strangler control

1шт.

38

3047492R1

SCREW, strangler control bracket

1шт.

39

3047494R1

SPRING

strangler control lever

1шт.

40

3047490R1

WASHER, shakeproof

1шт.

41

3047481R1

WASHER, tab

1шт.

42

3047482R1

SCREW, fixing choke tube

1шт.

43

3047470R1

SPINDLE

throttle

1шт.

44

3047477R1

WASHER, throttle spindle

1шт.

45

3047471R1

STOP, throttle

1шт.

46

3047472R91

LEVER ASSY, throttle

1шт.

47

3047474R1

WASHER, shakeproof

1шт.

48

3047473R1

NUT

1шт.

49

3047480R1

SCREW, throttle stop

1шт.

50

700632R1

SPRING

throttle stop screw

1шт.

3047501R1

GASKET

flange

1шт.

3047475R91

LEVER ASSY, floating

1шт.

3047498R91

LINK ASSY, strangler control

1шт.

Выбрано товаров: 56