Запчасти Case IH C-135 (C-27) - CARBURETOR, FUEL REGULATOR AND LINES, 404 TRACTORS WITH LP GAS ENGINES

Схема запчастей Case IH C-135 - (C-27) - CARBURETOR, FUEL REGULATOR AND LINES, 404 TRACTORS WITH LP GAS ENGINES
10
20
3
11
13
21
13
24
23
18
19
1
4
4
14
7
15
6
17
8
3
19
7
9
14
2
12
16
5
22
FIT
1:1
100%

Артикул

Название

Примечание

Количество

1

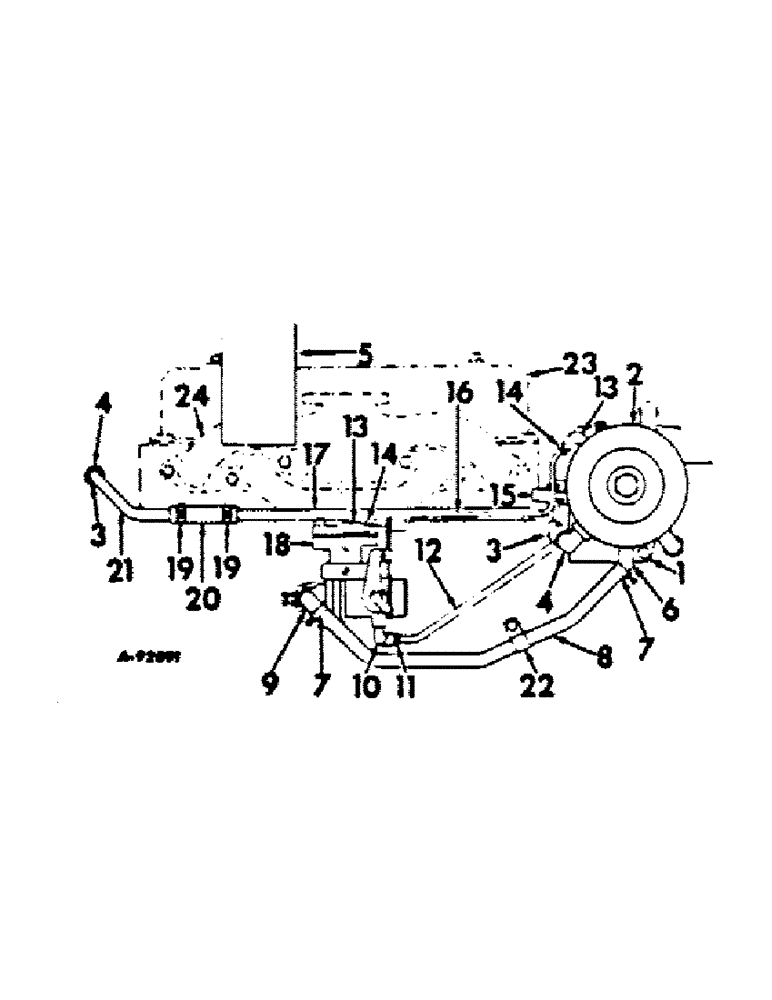
375714R11

BRACKET ASSEMBLY, fuel regulator mtg

1шт.

179839

BOLT,Hex, 3/8" - 16 x 1", Gr 5

2шт.

103321

LOCK WASHER,3/8"

WASHER, LOCK, 3/8"

2шт.

2

REGULATOR ASSY, fuel, for components see fuel regulator listing, this section

1шт.

3

19987R1

NUT

11/16-16 fitting

1шт.

4

40876D

ELBOW, 11/16-16 hi-duty 90º x 3/8" NPT x 11/16"-16

1шт.

5

379702R91

SUPPORT ASSEMBLY, air cleaner and fuel tank LH front

1шт.

6

278089R1

FITTING

ELBOW, 45 deg fuel line hose, regular end

1шт.

7

261498R91

COLLAR CLAMP,nasp

CLAMP, fuel line hose

2шт.

8

379027R1

HOSE, vapor fuel line, Serial Range: regulator-carburetor

1шт.

9

864456R1

NIPPLE, LUBE

ELBOW, fuel line hose, carburetor end, replaces 379028R1

1шт.

10

24847H

ELBOW,90 Degree x 1/8" NPT x 1/2"-20

regulator to balance line

2шт.

11

19985R1

TUBE NUT,1/2"-20

NUT, 5/16 coupling

2шт.

12

375718R21

PIPE W/NUTS ASSEMBLY, balance

1шт.

13

32468H

ELBOW,90 Degree x 1/8" NPT x 3/8"-24

regulator to carburetor idle line

2шт.

14

19983R1

NUT, 3/8-24 coupling

2шт.

15

37287H

CONNECTOR, cylinder head water pipe

1шт.

16

375719R11

PIPE W/NUTS ASSEMBLY, idle

1шт.

17

372276R11

PIPE W/NUT ASSEMBLY, regulator to water pump

1шт.

18

CARBURETOR ASSY, for components see carburetor listing, this section

1шт.

19

251227R91

CLAMP

water pipe hose

2шт.

20

357487R1

HOSE, water pipe

1шт.

21

372275R11

PIPE W/NUT ASSEMBLY, water, Serial Range: pump-regulator

1шт.

22

381180R1

CLIP, vapor fuel line hose

1шт.

23

CRANKCASE ASSY, refer to crankcase and related parts listing

1шт.

24

MANIFOLD, refer to exhaust system listing

1шт.

Выбрано товаров: 26