Запчасти Case IH C-146 (D-23) - CARBURETOR

Схема запчастей Case IH C-146 - (D-23) - CARBURETOR
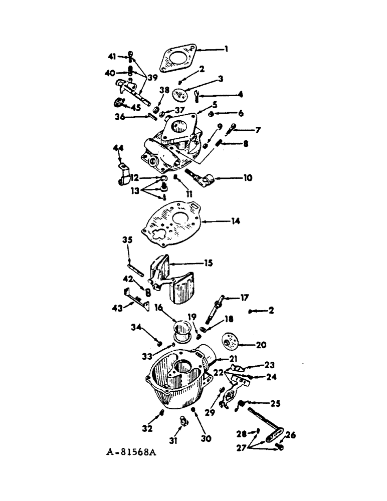
1
19
4
13
7
32
22
24
44
29
20
8
45
39
28
14
18
38
34
27
21
26
16
23
31
36
10
40
2
15
17
42
12
25
9
33
43
30
2
3
5
11
37
35
6
41
FIT
1:1
100%

Артикул

Название

Примечание

Количество

404120R91

CARBURETOR

ASSY, 500C Crawler tractors

1шт.

404140R91

CARBURETOR

ASSY, 500C Crawler tractors

1шт.

1

382116R1

GASKET

carburetor

1шт.

Not Included in Carburetor Assembly.

1шт.

2

352701R91

SCREW

choke & throttle plate

4шт.

3

391677R1

PLATE, throttle, 18 deg

1шт.

4

19563R91

SCREW, Serial Range: body-bowl

4шт.

5

400824R91

BODY ASSY, throttle, consists of (1) body (NSS), (1) cup 69930D, (1) packing, 373390R1, (1) pin 376358R1, (1) plate 391677R1, (1) plug 444613, (1) plug 373401R1, (1) plug 373400R1, (1) retainer 69931D, (2) screw 352701R91, (1) shaft assy 373388R91

1шт.

50705D

STUD

carburetor mounting

2шт.

Not Included in Carburetor Assembly.

1шт.

114493

JAM NUT,Jam, 5/16"-24, G5

2шт.

Not Included in Carburetor Assembly.

1шт.

115548

LOCK WASHER,Int Tooth, 5/16"

WASHER, LOCK, Int Tooth, 5/16"

2шт.

Not Included in Carburetor Assembly.

1шт.

6

373400R1

PLUG, idle drilling

1шт.

7

69923D

SCREW

idle adjusting

1шт.

8

69954D

SPRING

idle adjusting screw

1шт.

9

69930D

CUP

throttle shaft

1шт.

10

69938D

ELBOW

& SCREEN ASSY, gas inlet

1шт.

11

373378R1

JET

idling

1шт.

12

69950D

GASKET

float valve seat

1шт.

13

392096R91

VALVE

ASSY, float, used with carburetor assy, 389683R94

1шт.

13

382499R91

JET

SEAT & AXLE ASSY, float valve, used with carburetor assy, 397341R91

1шт.

14

69952D

GASKET

throttle, Serial Range: body-bowl

1шт.

15

69919D

FLOAT

ASSY

1шт.

16

405925R1

VENTURI

7/8

1шт.

17

528208R1

NOZZLE, main

1шт.

18

373361R1

GASKET

main nozzle

1шт.

19

397255R1

JET

power, used w/carburetor assy 404120R91

1шт.

19

396993R1

JET

power, used with carburetor assy, 404140R91

1шт.

20

391679R91

PLATE ASSY, choke

1шт.

21

391678R91

BOWL ASSY, fuel, consists of (1) bowl, (1) cup 69930D, (1) plug 373404R1, (1) vent 373384R1, (1) strainer 373387R1

1шт.

22

373372R91

BRACKET

ASSY, choke valve

1шт.

453666

SCREW W/SPRING LOCK WASHER, 8-32 slt-fil-hd mach

1шт.

23

373373R1

CLIP

choke valve bracket

1шт.

24

20832R91

SCREW, 8-32 x 1-2/ slt-hex-hd

1шт.

25

373369R1

SPRING

choke return

1шт.

26

373405R1

PIVOT

SWIVEL, choke shaft

1шт.

455956

SCREW, 8-32 x 5/16 C-Z slt-hex-hd mach

1шт.

27

373366R91

LEVER

SHAFT ASSY, choke

1шт.

28

373406R1

SPLIT PIN

SPRING, swivel retainer

1шт.

29

69924D

PACKING

choke shaft

1шт.

30

373387R1

FILTER

STRAINER, bowl

1шт.

31

FOR444613

PLUG

drain

1шт.

32

373404R1

PLUG

power jet drilling

1шт.

33

373384R1

VENT, well

1шт.

34

69930D

CUP

choke shaft

1шт.

35

69920D

SHAFT

AXLE, float

1шт.

36

376358R1

PIN, throttle stop

1шт.

37

373390R1

PACKING

throttle

1шт.

38

69931D

RETAINER

throttle shaft packing

1шт.

39

373388R91

LEVER

SHAFT ASSY, throttle

1шт.

40

69953D

SPRING

throttle stop screw

1шт.

41

131979

SCREW,Sl Fil Hd, #8 - 32 x 3/4"

throttle stop

1шт.

42

(Not used in this application)

1шт.

43

(Not used in this application)

1шт.

44

(Not used in this application)

1шт.

45

(Not used in this application)

1шт.

373359R91

GASKET

SET, carburetor, consists of (1) gasket 69950D, (1) gasket 373361R1, (1) gasket 69952D

1шт.

400832R92

KIT, carburetor repair, consists of ref. nos. 7, 8, 11, 13, 14, 18, 29, 34, 37, 38, 39 & gasket set, 373359R91

1шт.

Выбрано товаров: 0