Запчасти Case IH C-153 (E-34) - OIL PUMP

Схема запчастей Case IH C-153 - (E-34) - OIL PUMP
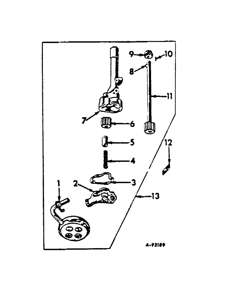
1
4
2
13
12
10
7
9
8
3
6
5
11
FIT
1:1
100%

Артикул

Название

Примечание

Количество

1

368979R91

SCREEN

oil pump assembly

1шт.

103386

COTTER PIN,1/8" x 1 1/4"

Pin, Split (Cotter), 1/8" x 1 1/4"

1шт.

2

6098DA

OIL RESERVOIR

COVER, oil pump

1шт.

179816

BOLT,Hex, 5/16" - 18 x 3/4", Gr 5

4шт.

103320

LOCK WASHER,5/16"

WASHER, LOCK, 5/16"

4шт.

3

375786R1

GASKET

oil pump body cover

1шт.

4

43414DA

VALVE SPRING

SPRING, oil pressure

1шт.

5

357648R1

LOCK VALVE

VALVE, oil pressure

1шт.

6

227713R1

GEAR WHEEL

GEAR, oil pump idler

1шт.

7

35647H

SHAFT

oil pump idler

1шт.

8

126-111

WOODRUFF KEY,#5, 1/8" x 5/8", HT

KEY, oil pump shaft spiral gear

1шт.

9

352057R1

GEAR

oil pump shaft spiral

1шт.

10

112011

PIN,1/8" x 7/8"

1/8 x 7/8 sq end straight

1шт.

11

375789R91

SHAFT

GEAR AND SHAFT ASSY, oil pump

1шт.

12

46629D

LOCK

oil pump screw

1шт.

13

375785R91

PUMP

ASSEMBLY, oil, less screen

1шт.

re it no. 13 - 375785r91 does not come with it no. 1 screen. ph-cam 7-20-98

1шт.

179845

BOLT,Hex, 3/8" - 16 x 1 3/4", Gr 5

SCREW, 3/8-16 x 1-3/4 hex-hd cap

2шт.

445671

PLUG,Sq Hd, 1/8"-27 NPTF

1/8-27 sq-hd pipe

1шт.

Выбрано товаров: 19