Запчасти Case IH C-153 (E-07) - CONNECTING RODS AND PISTONS

Схема запчастей Case IH C-153 - (E-07) - CONNECTING RODS AND PISTONS
11
2
5
9
10
8
6
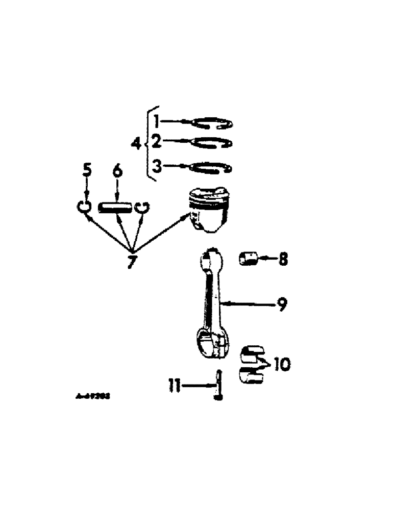
1
3
7
4
FIT
1:1
100%

Артикул

Название

Примечание

Количество

1

NSS

NOT SOLD SEPARAT

RING, compression piston, top or first groove, not serviced separately, order piston ring set

4шт.

2

NSS

NOT SOLD SEPARAT

RING, compression, second groove, not serviced separately, order piston ring set

4шт.

3

NSS

NOT SOLD SEPARAT

RING, oil regulating piston, third or bottom groove, not serviced separately, order piston ring set

4шт.

4

539363R1

SET

RING SET, piston, std and .010 O/S, consists of two compression and one oil regulating rings, replaces 539359R1 and 375845R93

1шт.

4

539364R1

SET

RING SET, piston, .020 O/S, consists of two compression and one oil regulating rings, replaces 539360R1 and 375846R93

1шт.

4

539365R1

PISTON RING SET

RING SET, piston, .030 O/S, consists of two compression and one oil regulating rings, replaces 539361R1 and 378267R93

1шт.

4

539366R1

SET

RING SET, piston, .040 O/S, consists of two compression and one oil regulating rings, replaces 539362R1 and 375847R93

1шт.

5

367798R1

RING, PISTON

pin retaining

8шт.

6

367797R1

PIN,21.83mm OD x 69.93mm L

piston, std

4шт.

6

367862R1

PIN

piston, .005 O/S

4шт.

7

378183R92

PISTON

ASSY, std

4шт.

7

378188R92

PISTON ASSY, .010 O/S

4шт.

7

378184R92

PISTON

ASSY, .020 O/S

4шт.

7

378189R92

PISTON

ASSY, .030 O/S

4шт.

7

378185R92

PISTON

ASSY, .040 O/S

4шт.

7

378261R92

PISTON

ASSY, high altitude, std

4шт.

7

378260R92

PISTON

ASSY, high altitude, .010 O/S

4шт.

7

378264R92

PISTON

ASSY, high altitude, .020 O/S

4шт.

7

378265R92

PISTON

ASSY, high altitude, .030 O/S

4шт.

7

378266R92

PISTON

ASSY, high altitude, .040 O/S

4шт.

8

367775R1

BUSHING,21.36mm ID x 23.36mm OD x 29.97mm L

connecting rod

4шт.

9

375595R11

ROD

connecting, includes ref nos. 8 and 11, engines w/serial no. 39462 and below

4шт.

9

396976R11

ROD

connecting, includes ref. nos. 8 and 11, engines w/serial no. 39463 and above

4шт.

10

375723R11

BEARING LINER

BEARING ASSY, connecting rod, std, 2 halves

4шт.

10

375725R11

BEARING ASSY

BEARING ASSY, connecting rod, .002 U/S, 2 halves

4шт.

10

376656R11

BEARING ASSY

BEARING ASSY, connecting rod, .010 U/S, 2 halves

4шт.

10

376658R11

BEARING ASSY

BEARING ASSY, connecting rod, .020 U/S, 2 halves

4шт.

10

375724R11

BEARING ASSY

BEARING ASSY, connecting rod, .030 U/S, 2 halves

4шт.

11

375732R1

BOLT,Hex, 3/8" - 24 x 2"

connecting rod

8шт.

Выбрано товаров: 29