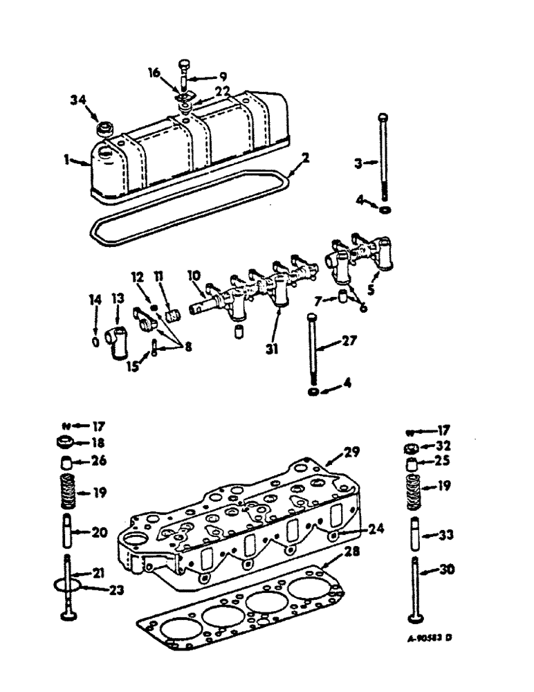
Запчасти Case IH C-157 (J-14) - CYLINDER HEAD AND RELATED PARTS

Схема запчастей Case IH C-157 - (J-14) - CYLINDER HEAD AND RELATED PARTS
15
28
2
10
17
34
17
4
8
32
1
30
4
25
18
3
11
24
5
19
12
19
26
14
20
22
21
27
29
31
7
23
13
33
16
FIT
1:1
100%

Артикул

Название

Примечание

Количество

1

398067R1

COVER

valve

1шт.

2

398068R3

GASKET

valve cover

1шт.

3

367190R1

BOLT,Cyl Hd, 1/2" x 7 3/4", Gr 8

BOLT, cylinder head long

5шт.

4

58516H

WASHER,17/32" x 1 1/16" x .095", HDN

cylinder head bolt

11шт.

5

164422R1

BRACKET

valve lever shaft rear

1шт.

6

164423R11

BRACKET

w/dowel, 69500R1 assy, valve lever shaft intermediate

1шт.

7

69500R1

SLEEVE

DOWEL, valve lever shaft intermediate

2шт.

8

164432R91

ARM

LEVER ASSY, valve

8шт.

9

168144R1

BOLT (SPREADER)

BOLT, valve cover

2шт.

10

398902R1

SHAFT

valve lever

1шт.

17244

SEAT

PIN, 5/16 x 1-1/4 roll

1шт.

11

35619H

SPRING

valve lever

4шт.

12

133093R1

NUT,Hex, 3/8" - 24

valve lever adjusting screw

8шт.

13

398903R1

BRACKET, valve lever shaft front

1шт.

14

109544R1

PLUG

3/4 dia expansion

2шт.

15

16067DA

ADJUSTMENT SCREW,3/8" - 24

valve lever adjusting

8шт.

16

370208R1

SUPPORT

STIFFENER, valve cover

2шт.

17

41339D

KEY

valve spring retainer

16шт.

18

375604R91

SEAT

ROTO-COIL, exhaust valve

4шт.

19

367192R1

SPRING

valve

8шт.

20

237248R1

GUIDE

exhaust valve stem

4шт.

21

367191R2

LOCK VALVE

VALVE, exhaust

4шт.

22

164420R1

GROMMET

valve cover

1шт.

Q399

WASHER

11/32 x 1 x 16 ga

2шт.

23

126373R1

SEAT

exhaust valve

4шт.

23

83488R2

SEAT, .030 O/S exhaust valve

4шт.

23

126231R1

SEAT

exhaust valve .015 O/S

4шт.

24

22263R1

PLUG

core hole

1шт.

25

535166R1

RUBBER SEAL

intake valve stem

4шт.

26

866834R1

BAFFLE

SEAL, exhaust valve stem

4шт.

27

69722R1

BOLT,Hex, 1/2" - 13 x 4.688", Gr 8

cylinder head, short

6шт.

28

398066R4

GASKET

cylinder head

1шт.

29

398065R22

HEAD

ASSY, cylinder, consists of (4) guide (NSS), (4) guide (NSS), (4) seat 126373R1, (1) head (NSS), (1) plug (NSS), (1) plug 22263R1

1шт.

30

234276R1

VALVE

intake

4шт.

31

164425R1

BRACKET

valve lever shaft center

1шт.

32

151167R3

SEAT

RETAINER, valve spring

4шт.

33

535229R1

GUIDE

intake valve stem

4шт.

34

(Not used this application)

1шт.

444782

PLUG,Sq Soc, 3/8"-18 NPTF

3/8-18 stl auto sq-soc pipe heater outlet

1шт.

Выбрано товаров: 39