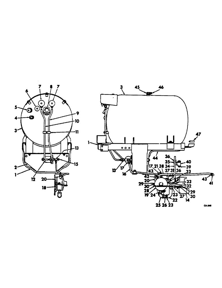
Запчасти Case IH C-263 (B-44) - FUEL TANKS, SUPPORTS AND PIPING, 706 TRACTORS

Схема запчастей Case IH C-263 - (B-44) - FUEL TANKS, SUPPORTS AND PIPING, 706 TRACTORS
34
6
45
43
27
21
40
13
14
37
9
12
23
4
17
18
20
13
29
26
24
19
36
22
41
3
36
10
20
1
47
38
39
8
15
42
43
46
33
2
29
33
7
25
11
44
30
17
7
23
1
5
35
30
31
28
16
32
3
FIT
1:1
100%

Артикул

Название

Примечание

Количество

1

380340R92

SUPPORT ASSY, fuel tank

1шт.

NLS

NO LONGER SERVICED

2шт.

413-818

BOLT,Hex, 1/2" - 13 x 1-1/8", Gr 5

SCREW, 1/2-13 x 1-1/8 hex-hd cap

4шт.

446229

WASHER,1/2" x 1 1/4" x .109"

9/16 x 1-1/4 x .109

4шт.

2

383805R1

BRACE, fuel tank rear support

1шт.

179839

BOLT,Hex, 3/8" - 16 x 1", Gr 5

2шт.

95-11041

WASHER,3/8"

13/32 x 13/16 x .065

2шт.

3

380440R91

TANK ASSY, fuel consists of, (1) cap 363692R1, (1) gauge 363693R91, (1) gauge 364830R91, (1) valve 109567R91, (2) valve 400678R91, (1) valve 363688R91, (1) valve 363690R91

1шт.

18601R1

NUT,7/16"-20, GC

7/16-20 nylon insert

4шт.

80298R1

BOLT,Hex, 7/16" - 20 x 1 1/2", Gr 8

SCREW, 7/16-20 x 1-1/2 hex-hd cap

4шт.

369324R1

WASHER, .472 x .88 x .18

8шт.

4

109567R91

VALVE ASSY, vapor return, optional w/376517R91 valve for components see list of parts under details of valves

1шт.

4

376517R91

VALVE ASSY, vapor return, optional w/109567R91 valve for components see list of parts under details of valves

1шт.

5

363688R91

VALVE ASSY, 3/4 NPT filler, optional w/376516R91 valve for components see list of parts under details of valves

1шт.

5

376516R91

VALVE ASSY, 3/4 NPT filler, optional w/363688R91 valve for components see list of parts under details of valves

1шт.

6

363693R91

GAUGE W/DIAL, 369049R1 ring, 369050R1 and stem assy, 369048R91, fixed liquid lever, bastian blessing co., optional with 376514R91

1шт.

6

376514R91

GAUGE W/DIAL, 376524R1 ring, 369050R1 and stem assy, 369048R91, fixed liquid level, Fisher Governor, optional with 369693R91

1шт.

7

400678R91

VALVE ASSY, service, optional w/376515R91 valve for components see list of parts under details of valves 2

1шт.

7

376515R91

VALVE ASSY, service, optional w/400678R91 valve for components see list of parts under detials of valves 2

1шт.

8

364830R91

GAUGE W/CHAMBER, 369381R91 and gasket 364263R1 liquid level magnetic, optional w/364596R91 gauge

1шт.

225593

SCREW, 5/16-24 x 7/8 cd-pltd fil-hd cap

4шт.

8

364596R91

GAUGE W/CHAMBER, 369381R91 and gasket 364263R1 liquid level magnetic, optional w/364830R91 gauge

1шт.

225593

SCREW, 5/16-24 x 7/8 cd-pltd fil-hd cap

4шт.

9

380331R11

LINE ASSY, filter to liquid valve fuel

1шт.

10

380333R11

LINE ASSY, filter to vapor valve fuel

1шт.

11

380334R1

CLAMP, fuel line

1шт.

179797

BOLT,Hex, 1/4" - 20 x 1", Gr 5

1шт.

12

346818R91

FILTER ASSY, fuel, for components see list of parts under details of fuel filter

1шт.

9635082

NUT,5/16" - 18, Gr 5

5/16-18 hex

2шт.

179817

BOLT,Hex, 5/16" - 18 x 7/8", Gr 5, Full Thd

2шт.

103320

LOCK WASHER,5/16"

WASHER, LOCK, 5/16"

2шт.

13

364598R1

TEE, 2 way right angle flared tube

2шт.

14

383371R93

CARBURETOR ASSY, 1-1/2 updraft, for components see list of parts under details of carburetor

1шт.

103026

NUT,3/8"-24, G5

2шт.

15

357495R1

CAP, fuel line tee

1шт.

16

TUBE, regulator to fuel filter, use 18 inches of 3/8 OD copper insulating loom from 100 ft roll marked 995074R1 and 2 nuts, 357078R1 or 361533R1

1шт.

17

357078R1

NUT, regulator to filter fuel tube, optional w/361533R1 nut

3шт.

17

361533R1

NUT, regulator to filter fuel tube, optional w/357078R1 nut

3шт.

18

86224H

SPACER,1/4" Pipe x 3/8"

Fuel regulator 1/4" Pipe x 3/8"

2шт.

19

392731R92

REGULATOR ASSY, fuel, for components see list of parts under details of fuel regulator

1шт.

179819

BOLT,Hex, 5/16" - 18 x 1 1/8", Gr 5

3шт.

103320

LOCK WASHER,5/16"

WASHER, LOCK, 5/16"

3шт.

20

392732R11

BRACKET ASSY, fuel regulator mounting

1шт.

179817

BOLT,Hex, 5/16" - 18 x 7/8", Gr 5, Full Thd

1шт.

179819

BOLT,Hex, 5/16" - 18 x 1 1/8", Gr 5

2шт.

103320

LOCK WASHER,5/16"

WASHER, LOCK, 5/16"

3шт.

21

109563R1

ELBOW

90 deg flared tube

1шт.

22

371102R1

HOSE

fuel line

1шт.

23

311164C91

HOSE CLAMP,#20, 0.81/1.75 Type F Worm

CLAMP, fuel line hose, replaces 274086R91

2шт.

24

191363

NIPPLE, 3/4 x 1-3/4 pipe

1шт.

25

192651

ELBOW, 3/4 x 1-2 90 deg reducing pipe

1шт.

26

188902R1

NIPPLE, regulator fuel hose

1шт.

27

188897R1

ELBOW, carburetor fuel hose

1шт.

28

TUBE, fuel regulator to carburetor balance, use 18 inches of 5/16 OD copper tubing from 50 ft. roll marked 995062R1 and 2 nuts, 19985R1

1шт.

29

24847H

ELBOW,90 Degree x 1/8" NPT x 1/2"-20

1/2-20 hi duty tube fitting male pipe

2шт.

30

222-503

TUBE NUT,1/2"-20

NUT, 1/2-20 hi duty tube fitting, replaces 19985R1

2шт.

31

TUBE, fuel regulator to carburetor idle, use 11 inches of 3/8 OD copper tubing from 50 ft roll marked 995060R1 and 2 nuts, 19983R1

1шт.

32

32468H

ELBOW,90 Degree x 1/8" NPT x 3/8"-24

3/8-24 hi-duty tube fitting male pipe

1шт.

33

19983R1

NUT, 3/8-24 hi-duty tube fitting

1шт.

34

TUBE, fuel regulator to cylinder HD water, use 25 inches of 1/2 OD copper tubing from 50 ft. roll marked 995064R1 and 2 nuts, 19987R1

1шт.

35

68134D

ELBOW, 1/16-16 hi-duty tube fitting male pipe 90º x 1/2" NPT x 11/16"-16

2шт.

36

19987R1

NUT

11/16-16 hi-duty tube

2шт.

37

58986D

ELBOW, 11/16-16 45 deg hi-duty tube fitting male pipe 45º x 3/8" NPT x 11/16"-16

1шт.

38

TUBE, fuel regulator to water pump, use 38 inches of 1/2 OD copper tubing from 50 ft. roll marked 995064R1 and 2 nuts, 19987R1

1шт.

39

144610

PIPE

NIPPLE, 1/2 x 1-3/8 close pipe

1шт.

40

138105

TEE,1/2" NPT, Fem

1/2 pipe

1шт.

41

386063R1

ELBOW, 45 deg., regulator to pump water line, pump end

1шт.

42

40876D

ELBOW, 11/16-16 hi-duty tube fitting male pipe 90º x 3/8" NPT x 11/16"-16

1шт.

43

19987R1

NUT

11/16-16 hi-duty tube

1шт.

44

378681R11

SHIELD ASSY, lower heat

1шт.

88574

BOLT,Hex, 5/16" - 18 x 1/2", Gr 5, Full Thd

SCREW, 5/16-18 x 1/2 hex-hd cap

6шт.

45

376512R91

VALVE, relief, optional with 363690R91

1шт.

45

363690R91

VALVE, relief, optional with 376512R91

1шт.

46

363692R1

CAP, relief valve, used with valve 363690R91

1шт.

46

376513R1

CAP, relief valve, used with valve 376512R91

1шт.

47

392910R91

BUMPER, heat shield

1шт.

Выбрано товаров: 76