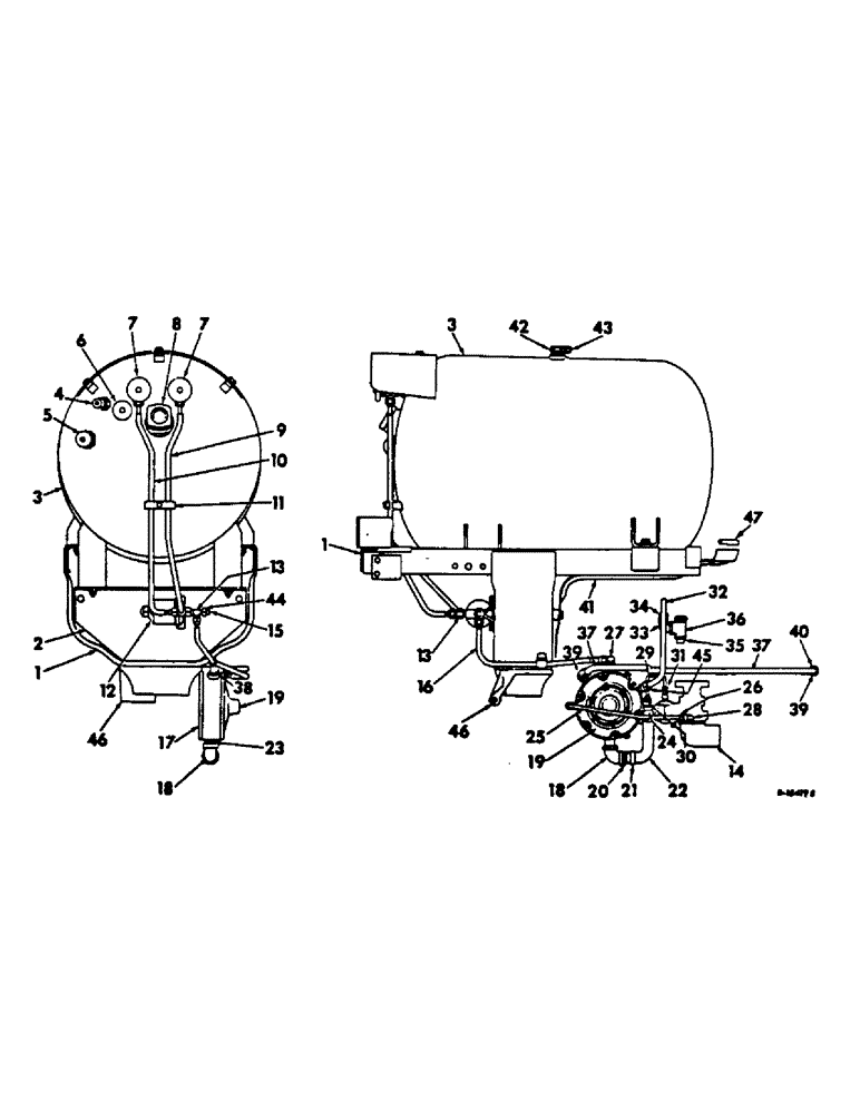
Запчасти Case IH C-263 (B-46) - FUEL TANKS, SUPPORTS AND PIPING, FARMALL 656 LP GAS ENGINE TRACTORS

Схема запчастей Case IH C-263 - (B-46) - FUEL TANKS, SUPPORTS AND PIPING, FARMALL 656 LP GAS ENGINE TRACTORS
10
24
3
35
8
16
37
19
23
43
12
2
47
25
14
30
42
7
1
4
33
20
1
11
26
39
36
22
13
46
40
29
17
6
38
34
9
37
39
32
21
19
18
3
18
28
31
15
13
46
45
7
44
5
27
41
FIT
1:1
100%

Артикул

Название

Примечание

Количество

1

392895R91

FRAME ASSY, fuel tank

1шт.

131-883

SPRING NUT,Rtnr, 5/16" - 18

5/16-18 floating cage, used with .543, .548 square holes

2шт.

389117R91

NUT

5/16-18 floating cage, used with .582, .587 square holes

2шт.

179871

BOLT,Hex, 7/16" - 14 x 3 1/4", Gr 5

SCREW, 7/16-14 x 3-1/4 hex-hd cap

3шт.

179858

SUPPORT

SCREW, 7/16-14 x 1 hex-hd cap

1шт.

179840

BOLT,Hex, 3/8" - 16 x 1 1/8", Gr 5

SCREW, 3/8-16 x 1-1/8 hex-hd cap

2шт.

2

392896R1

BRACE, fuel tank rear support

1шт.

NLS

NO LONGER SERVICED

2шт.

95-11041

WASHER,3/8"

13/32 x 13/16 x .065

2шт.

3

380440R91

TANK ASSY, fuel, consists of (1) cap 363692R1, (1) gauge 363693R91, (1) gauge 364830R91, (1) valve 109567R91, (2) valve 400678R91, (1) valve 363688R91, (1) valve 363690R91

1шт.

144420H

LOCK NUT,7/16"-20, GC

NUT, 7/16-20 C-Z eleastic stop

4шт.

80298R1

BOLT,Hex, 7/16" - 20 x 1 1/2", Gr 8

SCREW, 7/16-20 x 1-1/2 hex-hd cap

4шт.

369324R1

WASHER, .472 x .88 x .18

8шт.

4

363688R91

VALVE ASSY, vapor return, optional with 376516R91, for components see list of parts under details of valves

1шт.

4

376516R91

VALVE ASSY, 3/4 NPT filler, optional with 363688R91, for components see list of parts under details of valves

1шт.

5

109567R91

VALVE ASSY, 3/4 NPT filler, optional with 376517R91, for components see list of parts under details of valves

1шт.

5

376517R91

VALVE ASSY, 3/4 NPT filler, optional with 109567R91, for components see list of parts under details of valves

1шт.

6

363693R91

GAUGE W/DIAL PLATE, 369049R1, ring, 369050R1 and stem assy, 369048R91, fixed liquid level, bastian blessing co. optional with 376514R91

1шт.

6

376514R91

GAUGE W/DIAL PLATE, 376524R1, ring, 369050R1 and stem assy, 369048R91, fixed liquid level, Fisher Governor, optional with 369693R91

1шт.

7

400678R91

VALVE ASSY, service, replaces 109850R91, optional with 376515R91, for components see list of parts under details of valves

1шт.

7

376515R91

VALVE ASSY, optional with 400678R91, for components see list of parts under details of valves

1шт.

8

364830R91

GAUGE W/CHAMBER, 369381R91 and gasket 364263R1, liquid level magnetic, Rochester, optional with 364596R91

1шт.

364263R1

GASKET

1шт.

225593

SCREW, 5/16-24 x 7/8 C-Z fil-hd cap

4шт.

369381R91

CHAMBER ASSY, dial, used with gauge, 364830R91

1шт.

164314

SCREW, no. 6-32 x 1/4 C-Z pan-hd cr-rec tapping

2шт.

8

364596R91

GAUGE W/GASKET, 364263R1, liquid level magnetic, Taylor, optional with 364830R91

1шт.

364263R1

GASKET

1шт.

225594

SCREW

5/16-24 x 1 C-Z fil-hd cap

4шт.

9

380331R11

LINE ASSY, filter to liquid valve fuel

1шт.

10

380333R11

LINE ASSY, filter to vapor fuel

1шт.

11

380334R1

CLAMP, fuel line

1шт.

179797

BOLT,Hex, 1/4" - 20 x 1", Gr 5

1шт.

12

346818R91

FILTER ASSY, fuel, for components see list of parts under details of fuel filter

1шт.

9635082

NUT,5/16" - 18, Gr 5

5/16-18 hex

2шт.

179817

BOLT,Hex, 5/16" - 18 x 7/8", Gr 5, Full Thd

2шт.

103320

LOCK WASHER,5/16"

WASHER, LOCK, 5/16"

2шт.

13

364598R1

TEE, 2 way right angle flared tube

2шт.

14

CARBURETOR ASSY, 1-1/2 updraft, for components see list of parts under details of carburetor

1шт.

103026

NUT,3/8"-24, G5

2шт.

15

357495R1

CAP, fuel line tee

1шт.

16

390854R11

LINE ASSY, regulator to filter fuel

1шт.

17

86224H

SPACER,1/4" Pipe x 3/8"

Fuel regulator 1/4" Pipe x 3/8"

2шт.

18

192651

ELBOW, 3/4-1/2 90 deg reducing pipe, regulator end

1шт.

19

REGULATOR ASSY, fuel, for components see list of parts under details of fuel regulator

1шт.

179819

BOLT,Hex, 5/16" - 18 x 1 1/8", Gr 5

1шт.

179822

BOLT,Hex, 5/16" - 18 x 1 1/2", Gr 5

SCREW, 5/16-18 1/2 hex-hd cap

2шт.

103320

LOCK WASHER,5/16"

WASHER, LOCK, 5/16"

3шт.

20

188902R1

NIPPLE, fuel hose, regulator

1шт.

21

311164C91

HOSE CLAMP,#20, 0.81/1.75 Type F Worm

CLAMP, fuel line hose

2шт.

22

371102R1

HOSE

vapor fuel line

1шт.

23

191363

NIPPLE, 1/2 x 1-3/4 pipe, regular end

1шт.

24

188897R1

ELBOW, fuel hose, carburetor end

1шт.

25

TUBE, regulator to carburetor balance, use 18 in. of 5/16 OD copper tubing from 50 ft. roll marked 995062R1 two nuts, 19985R1

1шт.

26

19985R1

TUBE NUT,1/2"-20

NUT, 1/2-20 hi duty tube fitting

2шт.

27

109563R1

ELBOW

90 deg flared tube, at regulator

1шт.

28

24847H

ELBOW,90 Degree x 1/8" NPT x 1/2"-20

1/2-20 hi duty tube fitting male pipe

2шт.

29

TUBE, regulator to carburetor idle, use 11 in. of 3/8 OD copper tubing from 50 ft roll marked 995060R1 & two nuts, 19983R1

1шт.

30

32468H

ELBOW,90 Degree x 1/8" NPT x 3/8"-24

3/8-24 hi-duty tube fitting male pipe

1шт.

31

19983R1

NUT, 3/8-24 hi-duty tube fitting

2шт.

32

TUBE, regulator to cylinder head water, use 25 in. of 1/2 OD copper tubing from 50 ft. roll marked 995064R1 & 19987R1

1шт.

33

68134D

ELBOW, 1/16-16 hi-duty tube fitting male pipe 90º x 1/2" NPT x 11/16"-16

1шт.

34

19987R1

NUT

11/16-16 hi-duty tube

2шт.

35

144610

PIPE

NIPPLE, 1/2 x 1-3/8 close pipe

1шт.

36

138105

TEE,1/2" NPT, Fem

1/2 pipe

1шт.

37

TUBE, regulator to water pump, use 38 in. of 1/2 OD copper tubing from 50 ft roll marked 995064R1 & two nuts, 19987R1

1шт.

38

40876D

ELBOW, 11/16 hi-duty tube fitting male pipe 90º x 3/8" NPT x 11/16"-16

1шт.

39

19987R1

NUT

11/16-16 hi-duty tube

2шт.

40

386063R1

ELBOW, 45 deg, regulator to pump water line, pump end

1шт.

41

378681R11

SHIELD, lower heat

1шт.

88574

BOLT,Hex, 5/16" - 18 x 1/2", Gr 5, Full Thd

SCREW, 5/16-18 x 3/8 hex-hd cap

6шт.

392910R1

BUMPER

heat shield

1шт.

42

376512R91

VALVE, relief, optional with 363690R91

1шт.

42

363690R91

VALVE, relief, optional with 376512R91

1шт.

43

363692R1

CAP, relief valve, used with valve 363690R91

1шт.

43

376513R1

CAP, relief valve, used with valve 376512R91

1шт.

44

35708R1

NUT, fuel line tee cap

1шт.

45

58986D

ELBOW, 11/16-16 45 deg hi-duty fitting male pipe 45º x 3/8" NPT x 11/16"-16

1шт.

46

388331R2

SPACER, fuel tank

1шт.

47

392910R1

BUMPER

heat shield

1шт.

392732R11

BRACKET ASSY, fuel regulator mounting

1шт.

179817

BOLT,Hex, 5/16" - 18 x 7/8", Gr 5, Full Thd

1шт.

179819

BOLT,Hex, 5/16" - 18 x 1 1/8", Gr 5

2шт.

103320

LOCK WASHER,5/16"

WASHER, LOCK, 5/16"

3шт.

Выбрано товаров: 84