Запчасти Case IH C-263 (B-54) - FUEL PUMP SERVICE KIT, STEWART WARNER, 403 COMBINES

Схема запчастей Case IH C-263 - (B-54) - FUEL PUMP SERVICE KIT, STEWART WARNER, 403 COMBINES
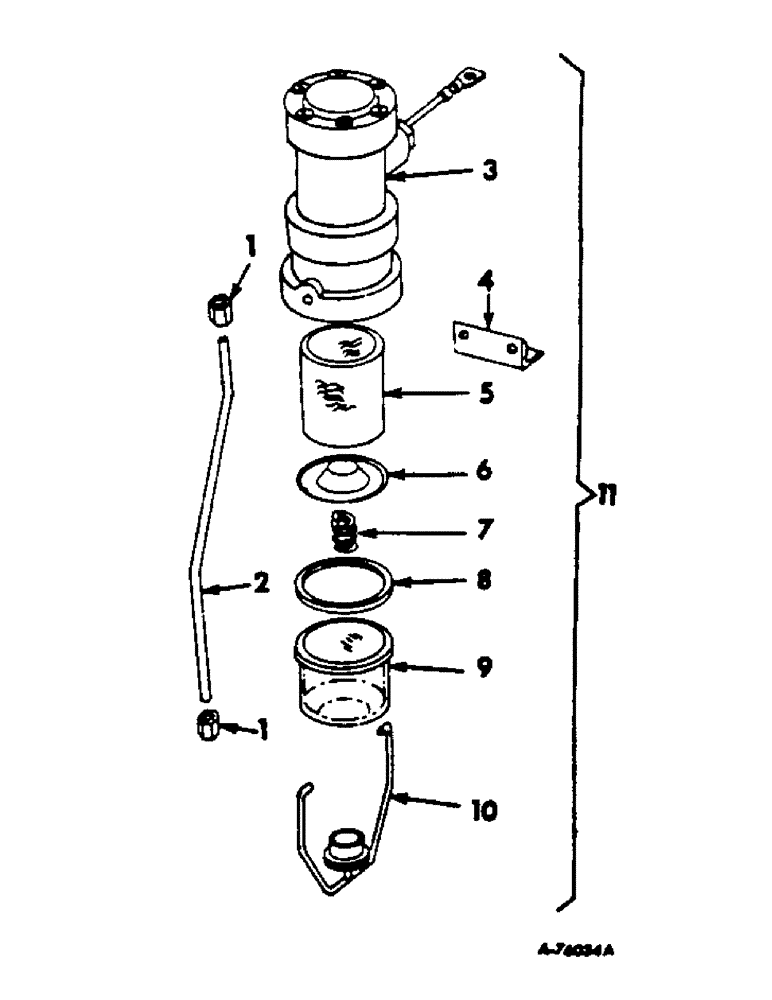
2
8
9
6
1
1
5
11
10
3
4
7
FIT
1:1
100%

Артикул

Название

Примечание

Количество

1

222-503

TUBE NUT,1/2"-20

NUT, 1/2-20 hi-duty tube fitting

2шт.

2

LINE, fuel tank to fuel pump, order one foot increments of 995062R1 copper tubing

1шт.

3

395365R91

PUMP ASSY, fuel

1шт.

4

935367R1

ANGLE, fuel pump mounting

1шт.

179816

BOLT,Hex, 5/16" - 18 x 3/4", Gr 5

2шт.

9635082

NUT,5/16" - 18, Gr 5

5/16 pln type 5

2шт.

103320

LOCK WASHER,5/16"

WASHER, LOCK, 5/16"

2шт.

5

313606R91

FILTER ASSY, fuel pump

1шт.

6

313607R1

BASE

fuel pump

1шт.

7

313608R1

SPRING, fuel pump

1шт.

8

313604R1

GASKET

fuel pump

1шт.

9

313605R1

BOWL, fuel pump

1шт.

10

313603R91

BAIL ASSY, fuel pump

1шт.

11

935366R91

KIT ASSY, fuel pump

1шт.

Выбрано товаров: 14