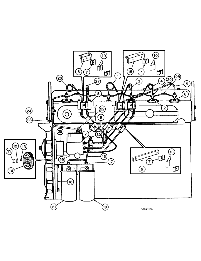
Запчасти Case IH DT-429 (9-38) - FUEL INJECTION PUMP, PIPE AND CONNECTIONS, ENGINE S/N 11140 & AFTER

Схема запчастей Case IH DT-429 - (9-38) - FUEL INJECTION PUMP, PIPE AND CONNECTIONS, ENGINE S/N 11140 & AFTER
14
26
28
23
5
13
8
3
10
2
25
4
19
15
8
10
24
1
22
9
6
20
18
9
10
16
29
17
30
7
7
12
21
7
11
27
7
FIT
1:1
100%

Артикул

Название

Примечание

Количество

1

701039C1

PIPE CLAMP

PIPE - injection no. 3

1шт.

2

336980R1

NUT

- leakoff manifold sleeve

6шт.

222-102

SLEEVE,1/4" Tube

(Replaces sleeve 915500R1) 1/4" Tube

6шт.

3

701040C1

PIPE CLAMP

PIPE - injection no. 4, no longer available

1шт.

4

701041C1

PIPE CLAMP

PIPE - injection no. 5, no longer available

1шт.

5

701042C1

PIPE CLAMP

PIPE - injection no. 6, no longer available

1шт.

6

610716C91

NOZZLE INJECTION

NOZZLE ASSEMBLY - Bosch, parts list Figure 9-42

6шт.

601076C1

WASHER,9.42mm ID x 17.27mm OD x 1.68mm Thk

GASKET - nozzle holder

6шт.

413-612

BOLT,Hex, 3/8" - 16 x 3/4", Gr 5

(Replaces bolt 179834) Hex, 3/8"-16 x 3/4", G5, Full Thd

12шт.

7

673527C1

CLAMP

- fuel tube, injector pipe

6шт.

326-48

BOLT,Hex, 1/4" - 20 x 1/2", Gr 8

(Replaces bolt 25752R1) Hex, 1/4"-20 x 1/2", G8, Full Thd

3шт.

684548C1

NUT

- spring, no longer available

3шт.

8

601444C2

BRACKET - injection pipe clamp, no longer available

1шт.

413-612

BOLT,Hex, 3/8" - 16 x 3/4", Gr 5

(Replaces bolt 179837) Hex, 3/8"-16 x 3/4", G5, Full Thd

2шт.

413-620

BOLT,Hex, 3/8" - 16 x 1-1/4", Gr 5

- hex, 3/8 NC x 1-1/4 inch (Replaces bolt 179841)

2шт.

92-11038

LOCK WASHER,3/8"

WASHER, LOCK, (Replaces washer 103321) 3/8"

2шт.

9

670227C1

BRACKET - injection pipe clamp, center, no longer available

1шт.

26258R1

BOLT,Hex, 1/4" - 28 x 1 1/4", Gr 8

- hex, 1/4 NC x 1-1/8 inch, no longer available (Replaces screw 181316)

3шт.

492-11025

LOCK WASHER,1/4"

WASHER, LOCK, (Replaces washer 103319) 1/4"

3шт.

80701

WASHER,0.31" ID x 0.73" OD x 0.07" Thk

3шт.

10

258079C1

GROMMET

- injection tube

12шт.

11

625340C1

NUT

- gear lock, no longer available

1шт.

12

341508R1

WASHER

- injection pump gear, no longer available

1шт.

13

126-112

WOODRUFF KEY,#6, 5/32" x 5/8", HT

(Replaces key 124546) #6, 5/32" x 5/8", HT

1шт.

14

341395R2

PINION

GEAR - injection pump, no longer available

1шт.

15

670228C1

BRACKET - injection pipe clamp, upper rear, no longer available

1шт.

414-420

BOLT,Hex, 1/4" - 28 x 1-1/4", Gr 5

3шт.

492-11025

LOCK WASHER,1/4"

WASHER, LOCK, (Replaces washer 103319) 1/4"

3шт.

80701

WASHER,0.31" ID x 0.73" OD x 0.07" Thk

3шт.

92-11038

LOCK WASHER,3/8"

WASHER, LOCK, (Replaces washer 103321) 3/8"

2шт.

16

670257C11

TUBE - final filter to injection pump

1шт.

17

222-27

HYD CONNECTOR,5/8"-24 x 1/4" NPTF W/Nut

ADAPTER - primary pump inlet, primary and final filter outlet, compression, 3/8 tube OD x 1/4 inch PT (Replaces connector 606819C1)

2шт.

18

670255C1

BRACKET - filter mounting, no longer available

1шт.

425-106

NUT,3/8"-16, Cl 5

(Replaces nut 102635) 3/8"-16, G5

2шт.

25729R1

SNAP RING,#250, 2.653", Int, Spiral

SCREW - hex, 3/8 NC x 7-1/2 inch (Replaces screw 186375)

2шт.

92-11038

LOCK WASHER,3/8"

WASHER, LOCK, (Replaces washer 103321) 3/8"

2шт.

496-21041

WASHER,13/32" x 13/16" x .089", HDN

- flat, 13/32 x 13/16 x 3/32", hardened (Replaces washer 103341)

4шт.

19

338371R91

FILTER CARTRIDGE

FILTER ASSEMBLY - final, parts list Figure 9-48

1шт.

20

250617R1

NUT

- injection pipe

6шт.

250610R2

GUARD

SLEEVE - injection pipe

6шт.

21

REF

INSTRUCTION

FILTER ASSEMBLY - primary, parts list Figure 9-46 or 9-48

1шт.

22

319615R1

ELBOW

- injection pump to leakoff manifold tube, 1/8 inch x 90 degree male

1шт.

23

609131C11

TUBE - leakoff manifold to injection pump, no longer available

1шт.

24

222-122

TEE,1/4" Flex Tubing

- leakoff manifold to injection pump tube (Replaces tee 610606C1)

1шт.

25

REF

INSTRUCTION

DRIVE - fuel injection pump, see page 9-45

1шт.

425-106

NUT,3/8"-16, Cl 5

(Replaces nut 102635) 3/8"-16, G5

3шт.

413-620

BOLT,Hex, 3/8" - 16 x 1-1/4", Gr 5

- hex, 3/8 NC x 1-1/4 inch (Replaces bolt 179841)

3шт.

193-68

LOCK WASHER,Int Tooth, 3/8"

WASHER, LOCK, (Replaces washer 138542) Int Tooth, 3/8"

3шт.

496-21041

WASHER,13/32" x 13/16" x .089", HDN

- flat, 13/32 x 13/16 x 3/32", hardened (Replaces washer 103341)

3шт.

495-81129

WASHER,13/32" x 3/4" x .120"

- flat, 13/32 x 3/4 x 7/64 inch (Replaces washer 142619H)

3шт.

26

701037C1

PIPE CLAMP

PIPE - injection no. 1, no longer available

1шт.

27

701038C1

PIPE CLAMP

PIPE - injection no. 2, no longer available

1шт.

28

670091C11

LINE

MANIFOLD - fuel leakoff to pump, no longer available

1шт.

29

REF

INSTRUCTION

PUMP ASSEMBLY - fuel injection, parts list pages 9-22 & 9-28

1шт.

346895R1

WIPER SEAL

SEAL - fuel injection pump

1шт.

425-106

NUT,3/8"-16, Cl 5

(Replaces nut 102635) 3/8"-16, G5

2шт.

92-11038

LOCK WASHER,3/8"

WASHER, LOCK, (Replaces washer 103321) 3/8"

2шт.

495-81129

WASHER,13/32" x 3/4" x .120"

- flat, 13/32 x 3/4 x 7/64 inch (Replaces washer 142619H)

2шт.

30

222-768

ELBOW,90 Degree, 5/8"-18, 45 Degree Fl x 1/4" NPT

- 90 degree x 5/8 inch x 1/4 inch PT (Replaces elbow 118755)

1шт.

Выбрано товаров: 59