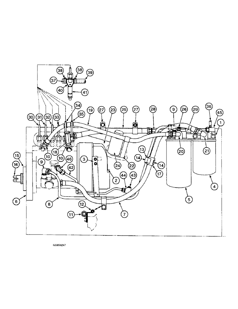
Запчасти Case IH DT-466 (9E-126) - FUEL INJECTION PUMP AND CONNECTIONS

Схема запчастей Case IH DT-466 - (9E-126) - FUEL INJECTION PUMP AND CONNECTIONS
43
27
38
11
20
9
33
45
46
35
3
17
40
23
42
9
34
44
31
10
27
6
37
22
10
14
21
41
7
38
1
19
30
25
4
26
39
14
16
29
8
12
24
36
32
18
2
5
15
13
28
FIT
1:1
100%

Артикул

Название

Примечание

Количество

1

1809590C91

HEAD ASSY.

HEADER - filter (Replaces headers 676143C2 and 1802964C2)

1шт.

326-668

BOLT,Hex, 3/8" - 16 x 4-1/4", Gr 8

(Replaces bolt 25784R1) Hex, 3/8"-16 x 4 1/4", G8

3шт.

396-21041

WASHER,10.31mm ID x 20.63mm OD x 2.26mm Thk

- flat, 13/32 x 13/16 x 3/32 inch, hardened

3шт.

2

1802612C92

PUMP

ASSEMBLY - fuel injection, new, for service replacement of pump assembly 1802612C91, also order hose 1806503C1

1шт.

2

1934206C1

REMAN-INJECTION PUMP

Reman for New P/N 1802612C92

1шт.

2

1934207C1

CORE-INJECTION PUMP

Return Number

1шт.

2

735189C91

REMAN-INJECTION PUMP

1470 Chasis SN 12001 & Aft., 1480 w/Eng. SN 103042 & Aft.,Both w/ DTI-466C, Reman For New P/N 1802612C92

1шт.

2

1934141C1

CORE-INJECTION PUMP

Return Number

1шт.

678026C1

ELECTRICAL WIRE

WIRE - lock, long

2шт.

687459C1

ELECTRICAL WIRE

SEAL - lock, seal wire

2шт.

326-540

BOLT,Hex, 5/16" - 18 x 2-1/2", Gr 8

(Replaces bolt 25235R1) Hex, 5/16"-18 x 2 1/2", G8

2шт.

326-532

BOLT,Hex, 5/16" - 18 x 2", Gr 8

(Replaces bolt 25232R1) Hex, 5/16"-18 x 2", G8

1шт.

396-21034

WASHER,8.74mm ID x 17.48mm OD x 2.26mm Thk

- flat, 11/32 x 11/16 x 3/32 inch, hardened (Replaces washer 25533R1)

2шт.

396-41034

WASHER,8.74mm ID x 25.4mm OD x 2.49mm Thk

- flat, 11/32 x 1 x 3/32 inch (Replaces washer 25552R1)

1шт.

3

1803238C2

LEVER

- injection pump

1шт.

628-6016

BOLT,Hex, M6 x 16mm, Cl 10.9, Full Thd

- hex, 6 - 1.0 x 16 mm, class 10.9 (Replaces bolt 30192R1)

2шт.

396-31028

WASHER,.281" x 5/8" x .098", HDN

- flat, 1/4 inch, hardened

4шт.

492-11025

LOCK WASHER,1/4"

WASHER, LOCK, (Replaces washer 120380) 1/4"

2шт.

4

A184773

SEPARATOR

FILTER - primary fuel (Replaces filter 625627C1)

1шт.

5

A184774

FUEL FILTER

FILTER - final fuel (Replaces filter 672603C2)

1шт.

6

1811726C91

ADAPTER

- injection pump (Replaces adapter assembly 1802642C91)

1шт.

675609C2

GASKET

- injection pump mounting adapter

1шт.

689568C2

GASKET

- adapter window

1шт.

444944

PLUG

- square socket, 3/4 inch PT, filler and drain

1шт.

326-616

BOLT,Hex, 3/8" - 16 x 1", Gr 8

(Replaces bolt 24840R1) Hex, 3/8"-16 x 1", G8, Full Thd

3шт.

396-31041

WASHER,10.31mm ID x 20.63mm OD x 3.4mm Thk

(Replaces washer 25544R1) 13/32" x 13/16" x .134", HDN

3шт.

7

1802982C1

HOSE

- inlet

1шт.

7

1810722C91

TUBE,0.375" OD

- inlet, used with 1680 combines

1шт.

8

1810723C91

TUBE

ASSEMBLY - supply pump to final filter (Replaces tube assembly 1806022C92), Includes: Ref. 8A & 8B

1шт.

8a

222-114

NUT,5/8"-24

NUT - hex, 3/8 inch OD x 5/8 inch (Replaces nut 265205R1), not illustrated

2шт.

8b

222-104

SLEEVE,3/8" Tube

- tube, 3/8 inch OD (Replaces sleeve 265204R1), not illustrated

2шт.

9

222-4047

ELBOW

- 90 degree compression, 3/8 tube OD x 1/4 inch PT (Replaces elbow 606845C1)

2шт.

10

217-21

ELBOW,90 Degree, 1/4"-18 NPTF, Fem x 1/4"-18 NPTF Male

- street, 90 degree x 1/4 inch PT x female PT (Replaces elbow 444040)

2шт.

11

515-23190

CLAMP,3/4", Insul, 3/8" Bolt

P-type, Hose (Replaces clamp 299566C1) 3/4", Insul, 3/8" Bolt

1шт.

326-612

BOLT,Hex, 3/8" - 16 x 3/4", Gr 8

(Replaces bolt 24839R1) Hex, 3/8"-16 x 3/4", G8, Full Thd

1шт.

396-21041

WASHER,10.31mm ID x 20.63mm OD x 2.26mm Thk

- flat, 13/32 x 13/16 x 3/32 inch, hardened

1шт.

12

1802981C1

CLAMP

- tube

1шт.

13

673171C1

RUBBER BUSHING

SLEEVE - rubber, 3/8 inch ID

1шт.

14

684899C1

CLAMP

- hose

2шт.

326-412

BOLT,Hex, 1/4" - 20 x 3/4", Gr 8

(Replaces bolt 25222R1) Hex, 1/4"-20 x 3/4", G8, Full Thd

1шт.

684548C1

NUT

- spring, no longer available

1шт.

15

1802737C1

GEAR

- injection pump

1шт.

16

1802705C1

NUT

- hub retaining

1шт.

17

1806408C1

CUSHION

- 3/4 inch hose

1шт.

18

670889C91

TEE

VALVE - overflow, check, no longer available, order valve 1809796C1, fitting 1809777C1, O-ring 1968430C1 and screw 710098R2

1шт.

19

688190C1

HOSE

- final filter to injection pump

1шт.

20

222-768

ELBOW,90 Degree, 5/8"-18, 45 Degree Fl x 1/4" NPT

- 90 degree x 5/8 inch x 1/4 inch PT (Replaces elbow 118755)

1шт.

21

55541R1

X

ELBOW - 1/2 inch x 90 degree flared

1шт.

22

1806044C1

CLAMP

- closed

1шт.

23

1803194C1

BRACKET

- solenoid mounting

1шт.

413-614

BOLT,Hex, 3/8" - 16 x 7/8", Gr 5

2шт.

492-11038

LOCK WASHER,3/8"

(Replaces washer 120382) 3/8"

2шт.

24

1803195C91

SWITCH

SOLENOID ASSEMBLY - 12 volt, fuel shut-off, parts list Figure 9E-84

1шт.

25

1802897C1

FUEL HOSE

HOSE - fuel return, for pump assembly 1802612C91

1шт.

25

1806503C1

FUEL HOSE,9.53mm ID x 336.55mm L, SAE 100R3

Fuel Return, For Pump Assembly 1802612C92 0.38" ID x 13.25"

1шт.

26

39677DA

VALVE

- bleeder

1шт.

27

515-23190

CLAMP,3/4", Insul, 3/8" Bolt

P-type, Fuel return hose (Replaces clamp 299566C1) 3/4", Insul, 3/8" Bolt

2шт.

700121908

SPACER

- pipe, 1/4 x 3/8 inch (Replaces spacer 86224H)

2шт.

27439R1

BOLT,Hex, 5/16" - 18 x 1 3/4", Gr 8

- hex, 5/16 NC x 1-3/4 inch

1шт.

396-21034

WASHER,8.74mm ID x 17.48mm OD x 2.26mm Thk

- flat, 11/32 x 11/16 x 3/32 inch, hardened (Replaces washer 27326R1)

1шт.

689324C1

STUD,Stud, 5/16" - 24 - 5/16" - 18 x 2.30"

BOLT - manifold stud, valve cover, at manifold

1шт.

396-21034

WASHER,8.74mm ID x 17.48mm OD x 2.26mm Thk

- flat, 11/32 x 11/16 x 3/32 inch, hardened (Replaces washer 27326R1)

2шт.

392-11031

LOCK WASHER,5/16"

(Replaces washer 116120) 5/16"

1шт.

329-115

NUT,5/16"-24, G8

(Replaces nut 25521R1) 5/16"-24, G8

1шт.

28

691074C92

TUBE,0.375" OD, 9.7" Length

ASSEMBLY - fuel return, Includes: Ref. 28A & 28B

1шт.

28a

222-114

NUT,5/8"-24

NUT - hex, 3/8 inch OD x 5/8 inch (Replaces nut 265205R1), not illustrated

2шт.

28b

222-104

SLEEVE,3/8" Tube

- tube, 3/8 inch OD (Replaces sleeve 265204R1), not illustrated

2шт.

29

680116C1

CLIP

- fuel return tube

1шт.

326-612

BOLT,Hex, 3/8" - 16 x 3/4", Gr 8

- hex, 3/8 NC x 5/8 inch, grade 8 (Replaces bolt 25768R1)

1шт.

396-21041

WASHER,10.31mm ID x 20.63mm OD x 2.26mm Thk

- flat, 13/32 x 13/16 x 3/32 inch, hardened

1шт.

30

1802951C1

FUEL TUBE

TUBE - injection, cylinder no. 1

1шт.

31

1802952C1

FUEL TUBE

TUBE - injection, cylinder no. 2

1шт.

32

1802953C1

FUEL TUBE

TUBE - injection, cylinder no. 3

1шт.

33

1802954C1

FUEL TUBE

TUBE - injection, cylinder no. 4

1шт.

34

1802955C1

FUEL TUBE

TUBE - injection, cylinder no. 5

1шт.

35

1802956C1

FUEL TUBE

TUBE - injection, cylinder no. 6

1шт.

36

REF

INSTRUCTION

HOSE - injector no. 6 to leakoff tube, 10 inch (254 mm) long, cut from bulk hose 680246CX below

1шт.

37

1802452C1

CAP

- fuel return injector no. 1

1шт.

38

A180159

CLAMP,10.29mm - 12.32mm

- leak-off hose (Replaces clamp 1802453C1)

13шт.

39

REF

INSTRUCTION

HOSE - fuel return injector to injector, 5 inch (127 mm) long, cut from bulk hose 680246CX below

5шт.

40

675479C2

CLAMP

CRAB - injection nozzle

6шт.

691105C1

BOLT

- hex, 5/16 NC x 1-1/16 inch, injection nozzle crab

6шт.

41

REF

INSTRUCTION

NOZZLE ASSEMBLY - fuel injection, parts list Figure 9E-106

6шт.

1342831C1

SEAL

GROMMET - injection dust cover (Replaces grommet 682810C1)

6шт.

42

1802773C91

TUBE,0.25" OD

ASSEMBLY - lube oil, Includes: Ref. 42A & 42B

1шт.

42a

87017024

TUBE NUT,1/2"-24

NUT - hex, 1/4 tube ID x 1/2-24 inch (Replaces nut 915499R1), not illustrated

2шт.

42b

222-153

SLEEVE,1/4" Tube

(Replaces sleeve 685158C1), Not illustrated 1/4" Tube

2шт.

43

217-430

PLUG,Hex Soc, 1/8" - 27 NPTF

- hex, 1/8 inch PT (Replaces plug 444612)

1шт.

44

686839C1

ELBOW

- flex, side outlet, 90 degree x 1/4 inch tube x 1/8 inch NPT

1шт.

45

673196C1

TEE

- fuel leak-off

1шт.

46

319615R1

ELBOW

- male, 1/8 inch x 90 degree male

1шт.

1802796C91

CLAMP

- no. 2 injection pipe

1шт.

1802959C91

CLAMP

- no. 3 injection pipe

3шт.

1802800C91

CLAMP

- no. 5 injection pipe

1шт.

1802947C91

CLAMP

- no. 6 injection pipe

1шт.

680246CX

LARGE HOSE

HOSE - bulk, 10 foot (3048 mm) roll, sold by the foot

1шт.

Выбрано товаров: 96