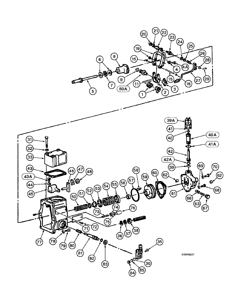
Запчасти Case IH DTI-466B (9E-098) - INJECTION PUMP GOVERNOR AND RELATED PARTS

Схема запчастей Case IH DTI-466B - (9E-098) - INJECTION PUMP GOVERNOR AND RELATED PARTS
55
16
59
68
8
74
50
73
38
15
31
61
2
4a
51
24
46
48
58
20
41
75
4
62
19
56
67
40
43
5
80
85
15
30
21
70
84
77
23
9
81
28
44
82
1
52
78
60
76
25
53
35
40a
11
43a
57
33
45
83
80a
42a
26
79
32
37
7
62
39a
41a
39
72
63
6
47
66
22
27
54
29
36
42
69
3
71
FIT
1:1
100%

Артикул

Название

Примечание

Количество

1

684047C91

SPRING

PLATE ASSEMBLY - governor operating shaft, Includes: Ref. 1A & 1B

1шт.

1a

1802449C1

PLATE

- spring, not illustrated

1шт.

1b

1802448C1

SPRING

- operating, not illustrated

1шт.

2

674885C1

SCREW

- set, spring plate

2шт.

3

674886C2

LEVER

- governor stop

1шт.

4

131-63

LOCK NUT,1/4"-28, G8

NUT - light hex, self-locking, 1/4 inch NF (Replaces nut 19694R1)

1шт.

4a

674902C1

SCREW

- droop

1шт.

5

1802671C1

SHAFT

- governor drive

1шт.

6

674875C1

WASHER

- thrust, governor sleeve

2шт.

7

674876C91

THRUST BEARING

- thrust, governor sleeve

1шт.

8

1802673C1

SLEEVE

- governor

1шт.

9

238-5111

O-RING,0.103" Thk x 0.424" ID, -111, Cl 5, 75 Duro

Governor operating shaft -111, 70 Duro, .424" ID x .103" Thk

2шт.

674887C91

LEVER

AND ROD ASSEMBLY - fulcrum, no longer available, Includes: Ref. 11 - 29

1шт.

11

674882C1

BRACKET

- fulcrum, no longer available

1шт.

15

674891C1

PIN

- fulcrum lever to fulcrum lever bracket

1шт.

16

674892C1

RING

- pin retaining

2шт.

19

681461C91

LEVER

ASSEMBLY - fulcrum, Includes: Ref. 19A

1шт.

19a

1802427C1

PIN

- pivot, not illustrated

1шт.

20

143415

NUT,1/4"-20, G5, Hvy

- hex, 1/4 inch NF, torque cam

1шт.

21

492-11025

LOCK WASHER,1/4"

WASHER, LOCK, (Replaces washer 131200) 1/4"

1шт.

22

62270D

CAM

- torque

1шт.

23

681464C1

SCREW

- square head

1шт.

24

19694R1

LOCK NUT,1/4"-28, GB

NUT - adjusting spring

1шт.

25

681466C1

WASHER

- adjusting spring nut

1шт.

26

681467C1

SPRING

- adjusting

1шт.

27

681468C1

ROD

- control

1шт.

28

681469C1

WASHER

- control rod

1шт.

29

681470C1

PIN

- cotter

1шт.

30

557109R1

WASHER

- operating lever, no longer used

1шт.

31

674924C1

SCREW

- drilled head, cover mounting

4шт.

32

67870D

GASKET

- cover mounting screw

4шт.

33

674921C1

COVER

- governor top

1шт.

34

674908C92

LEVER

ASSEMBLY - operating, not illustrated, Includes: Ref. 34A

1шт.

34a

687108C1

SPACER

- operating lever, not illustrated

1шт.

35

181069

SCREW,Hex, 1/4" x 1 1/2"

BOLT - hex, 1/4 NC x 1-1/2 inch, no longer used

1шт.

684029C92

SCREW

ASSEMBLY - low idle, used with pump assembly 1806912C91, Includes: Ref. 36 - 38

1шт.

681291C93

SCREW

ASSEMBLY - low idle, used with pump assembly 1809633C91, Includes: Ref. 36 - 38

1шт.

36

100-3321

SNAP RING,#X21, .185" Dia, E-Type

Ring, Retaining, (Replaces 25408R1) #X21, .185" Dia, E-Type

1шт.

37

238-5011

O-RING,0.07" Thk x 0.301" ID, -11, Cl 5, 75 Duro

-011, 70 Duro, .301" ID x .070" Thk, Low idle screw (Replaces O-ring 359158R1)

1шт.

38

674878C1

NUT

- low idle screw

1шт.

680391C91

PUMP

PRIMER ASSEMBLY - hand, Includes: Ref. 39 - 42A

1шт.

39

681298C1

GASKET

- hand primer

1шт.

39a

681299C1

RETAINER

BAIL - hand primer

1шт.

40

238-5113

O-RING,0.103" Thk x 0.549" ID, -113, Cl 5, 75 Duro

Hand primer -113, 70 Duro, .549" ID x .103" Thk

1шт.

40a

1802434C1

CYLINDER

BARREL - hand primer

1шт.

41

1802435C1

KNOB

- hand primer

1шт.

41a

NSS

NOT SOLD SEPARAT

FLANGE - bail, order primer assembly 680391C91

1шт.

42

1802436C1

PLUNGER

- hand primer

1шт.

42a

1802465C1

GASKET

- plunger, square ring

1шт.

43

684684C1

GASKET

- governor housing top

1шт.

43a

674919C1

SCREW

- fuel device mounting, no longer available

2шт.

44

492-11025

LOCK WASHER,1/4"

WASHER, LOCK, (Replaces washer 131200) 1/4"

2шт.

45

735303C91

REMAN-ANEROID

DEVICE ASSEMBLY - excess fuel, remanufactured (North America only), components parts do not apply to remanufactured assembly

1шт.

45

1934169C1

CORE-ANEROID

RETURN NUMBER - use this part number to return core for credit when using a remanufactured assembly

1шт.

45

735304C91

REMAN-ANEROID

DEVICE ASSEMBLY - excess fuel, remanufactured (North America only), components parts do not apply to remanufactured assembly

1шт.

45

1934171C1

CORE-ANEROID

RETURN NUMBER - use this part number to return core for credit when using a remanufactured assembly

1шт.

45

674915C92

ANEROID PUMP

DEVICE ASSEMBLY - excess fuel, new, see Figure 9E-68 for list of components

1шт.

46

687253C1

PLATE - stop, used with pump assembly 1806912C91

1шт.

46

691141C1

PLATE

- stop, used with pump assembly 1809633C91

1шт.

47

674917C1

WASHER

- tab

1шт.

48

425-114

NUT,1/4"-28, G5

Stop plate (Replaces nut 691001C1) 1/4"-28, G5

1шт.

50

674929C1

SPRING

- inner governor

1шт.

51

674936C1

SPACER

- inner governor spring, 0.010 inch thick

1шт.

51

62637D

SPACER

- inner governor spring, 0.020 inch thick

1шт.

51

62638D

SHIM

SPACER - inner governor spring, 0.042 inch thick

1шт.

51

62639D

SHIM

SPACER - inner governor spring, 0.058 inch thick

1шт.

51

62640D

SHIM

SPACER - inner governor spring, 0.083 inch thick

1шт.

51

674934C1

SPACER

- inner governor spring, 0.177 inch thick

1шт.

51

674935C1

SPACER

- inner governor spring, 0.276 inch thick

1шт.

52

674937C1

SEAT

- inner governor spring

1шт.

53

674944C1

SPACER

- outer governor spring, 0.010 inch thick

1шт.

53

62641D

SPACER

- outer governor spring, 0.020 inch thick

1шт.

53

674943C1

SPACER

- outer governor spring, 0.030 inch thick

1шт.

53

62642D

SHIM

SPACER - outer governor spring, 0.042 inch thick

1шт.

53

62643D

SHIM

SPACER - outer governor spring, 0.058 inch thick

1шт.

53

62644D

SHIM

SPACER - outer governor spring, 0.083 inch thick

1шт.

53

674942C1

SPACER

- outer governor spring, 0.156 inch thick

1шт.

54

674945C1

SPRING

- outer governor

1шт.

55

674946C1

SEAT

- outer governor spring

1шт.

735310C91

REMAN-INJECTION PUMP

PUMP ASSEMBLY - supply, remanufactured (North America only), component parts do not apply to the remanufactured assembly

1шт.

1934179C1

CORE-INJECTION PUMP

RETURN NUMBER - use this part number to return pump core for credit when using a remanufactured assembly

1шт.

680312C92

PUMP, FUEL INJECTION

PUMP ASSEMBLY - supply, new, Includes: Ref. 56 - 67

1шт.

56

681292C1

SEAL

- governor shaft

1шт.

57

681293C1

GASKET

- supply pump

1шт.

58

1802431C1

SCREW,Pozidriv Fil Hd, #10 - 24 x 0.86", Gr 8, w/ LW

- insert

5шт.

59

1802428C91

INSERT

- supply pump

1шт.

60

681294C1

GASKET

- supply pump

1шт.

61

1802429C91

COVER

ASSEMBLY - supply pump, Includes: Ref. 62 - 67

1шт.

62

1802432C1

VALVE

- check, upper part of cover

1шт.

62

1802433C1

VALVE

- check, lower part of cover

1шт.

63

680441C1

SPRING

- regulating valve

1шт.

66

674972C1

VALVE

- regulating

1шт.

67

674974C1

SCREW

- spring regulating

1шт.

68

62204D

BOLT,Eye, M12 x 125mm

SCREW - supply pump mounting

2шт.

69

492-11025

LOCK WASHER,1/4"

WASHER, LOCK, (Replaces washer 131200) 1/4"

3шт.

70

579788

SHIELD

- hex, 1/4 NC x 2 inch, supply pump mounting, no longer used

1шт.

71

684323C2

PRODUCT GRAPHIC

PLATE - name

1шт.

72

125622

SCREW,Type U Drive, Rnd Hd, #0 x 0.188"

- drive, 3/16 inch

2шт.

73

684282C91

SCREW

ASSEMBLY - high idle, Includes: Set Screw and Ref. 74 - 76

1шт.

1802438C1

SET SCREW,Sl Hdls, 1/4" - 28 x 2", Oval Pt

- set

1шт.

74

425-114

NUT,1/4"-28, G5

High idle screw (Replaces nut 691001C1) 1/4"-28, G5

1шт.

75

67870D

GASKET

- high idle screw

1шт.

76

1802437C1

NUT

- cap, high idle screw

1шт.

77

674903C91

HOUSING

ASSEMBLY - governor, Includes: Ref. 77A

1шт.

77a

1802447C1

PIN

- dowel, governor housing, no longer used, not illustrated

2шт.

78

492-11025

LOCK WASHER,1/4"

WASHER, LOCK, (Replaces washer 131200) 1/4"

6шт.

79

674906C1

SCREW

- governor housing to pump housing

6шт.

681471C91

SHAFT

ASSEMBLY - governor operating, Includes: Ref. 80 - 81

1шт.

80

680400C1

SPRING

- idle return

1шт.

80a

1802444C1

SHAFT

- governor, no longer available

1шт.

81

1802445C1

SHAFT

- governor operating, no longer available

1шт.

82

238-5111

O-RING,0.103" Thk x 0.424" ID, -111, Cl 5, 75 Duro

Governor operating (Replaces O-ring 355966R1) -111, 70 Duro, .424" ID x .103" Thk

2шт.

83

674909C1

WASHER

- operating shaft

1шт.

84

118643

NUT - hex, 1/4 inch NC

1шт.

85

492-11025

LOCK WASHER,1/4"

WASHER, LOCK, (Replaces washer 131200) 1/4"

1шт.

1802672C91

GOVERNOR

SHAFT ASSEMBLY - governor, includes weights, Includes: Ref. 86 - 96

1шт.

86

681448C1

BALL BEARING

- governor shaft, ball, not illustrated

1шт.

87

1802353C1

BUSHING

- bearing, not illustrated

1шт.

88

681445C1

CUP

- lock, drive gear, not illustrated

1шт.

89

681446C1

GEAR

- drive, not illustrated

1шт.

90

681444C1

NUT

- drive gear, not illustrated

1шт.

91

681447C1

PLATE

- bearing support, no longer available, not illustrated

1шт.

92

1802351C1

SEAT

- spring, not illustrated

1шт.

93

1802671C1

SHAFT

- governor drive, not illustrated

1шт.

94

1802349C1

WEIGHT

KIT - governor weight, not illustrated

1шт.

95

1802350C1

SPRING

- governor weight, not illustrated

2шт.

96

1802352C1

SUPPORT

- spring seat, not illustrated

1шт.

687459C1

ELECTRICAL WIRE

LOCK - seal wire

1шт.

678026C1

ELECTRICAL WIRE

WIRE - lock

1шт.

Выбрано товаров: 129