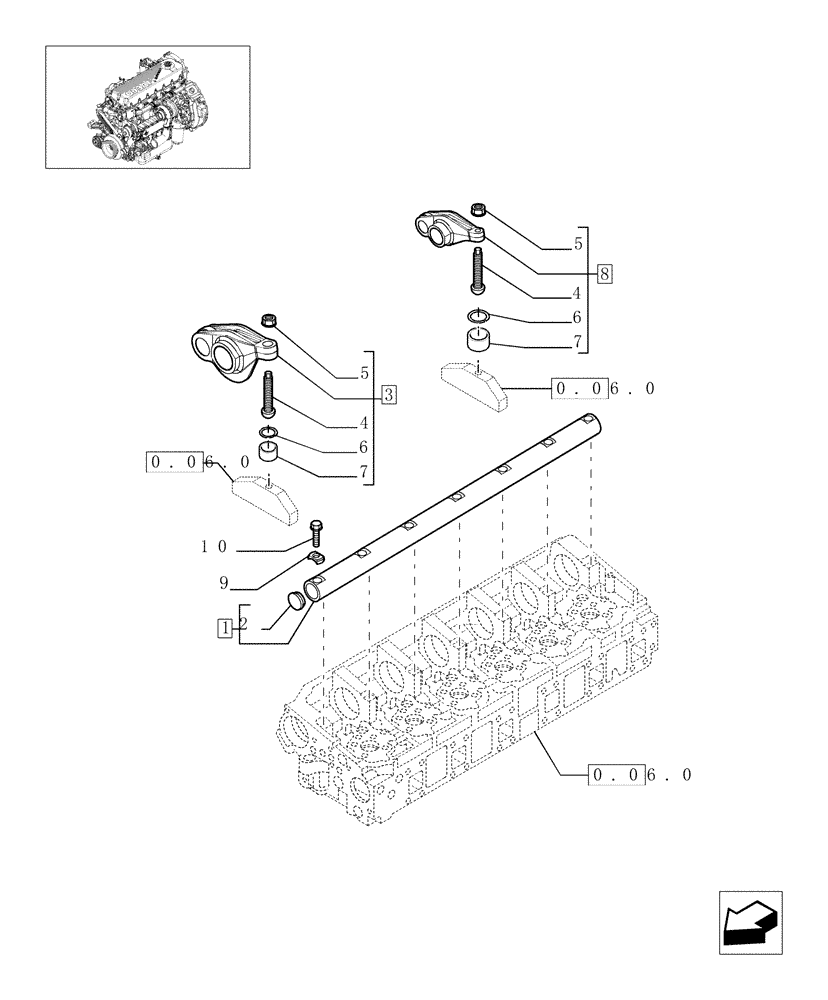
Запчасти Case IH F2CE9684C E002 (0.06.6[01]) - SHAFT & ROCKER ARMS (504189152)

Схема запчастей Case IH F2CE9684C E002 - (0.06.6[01]) - SHAFT & ROCKER ARMS (504189152)
4
7
9
0.06.0
6
2
0.06.0
10
0.06.0
7
3
5
5
1
6
8
4
FIT
1:1
100%

Артикул

Название

Примечание

Количество

1

504189213

SHAFT

- Assy

1шт.

2

16988301

PLUG,Lock, 20mm Dia

d=20 mm

2шт.

3

504127124

ROCKER ARM

- ASSY

6шт.

4

504132284

ADJUSTMENT SCREW

2шт.

5

504059553

NUT

2шт.

6

17084376

RING

2шт.

7

500300903

SLIDING PAD

2шт.

8

504165682

ROCKER ARM

- ASSY

6шт.

9

504188241

SPACER

7шт.

10

16679435

BOLT

7шт.

Выбрано товаров: 10