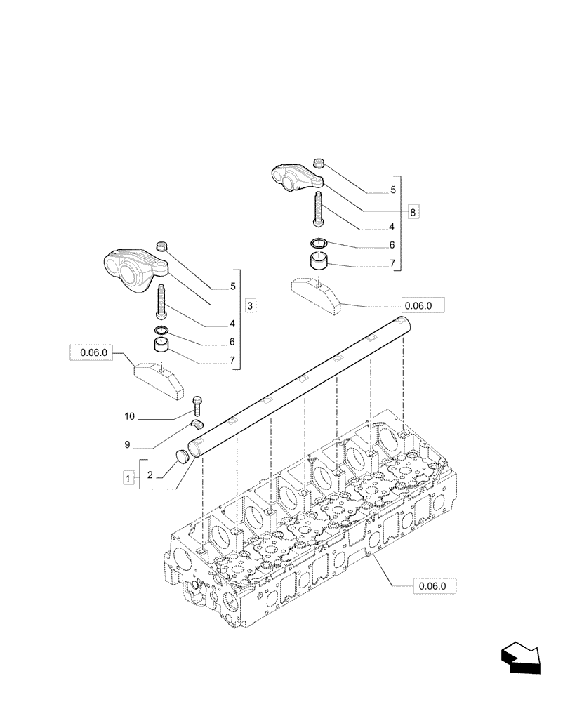
Запчасти Case IH F2CE9684P E033 (0.06.6) - SHAFT & ROCKER ARMS

Схема запчастей Case IH F2CE9684P E033 - (0.06.6) - SHAFT & ROCKER ARMS
10
2
6
7
5
3
5
0.06.0
0.06.0
1
6
4
0.06.0
4
7
8
9
FIT
1:1
100%

Артикул

Название

Примечание

Количество

1

504189213

SHAFT

Incl 2

1шт.

2

16988301

PLUG,Lock, 20mm Dia

2шт.

3

504127124

ROCKER ARM

Incl 4 - 7

6шт.

4

NSS

NOT SOLD SEPARAT

Screw, Incl in 3, 8

2шт.

5

504059553

NUT

2шт.

6

17084376

RING

2шт.

7

500300903

SLIDING PAD

2шт.

8

504165682

ROCKER ARM

Incl 4 - 7

6шт.

9

504188241

SPACER

7шт.

10

16679435

BOLT

7шт.

Выбрано товаров: 10