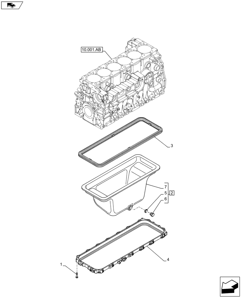
Запчасти Case IH F2CFE614A B001 (10.102.AP) - ENGINE OIL PAN (10) - ENGINE

Схема запчастей Case IH F2CFE614A B001 - (10.102.AP) - ENGINE OIL PAN (10) - ENGINE
4
7
2
3
1
6
10.001.ab
home
5
FIT
1:1
100%

Артикул

Название

Примечание

Количество

1

16587525

BOLT,M10 x 45mm

M10 x 45 mm

26шт.

2

5801663681

SUMP

ASSY; Incl 5 - 7

1шт.

3

5801541760

GASKET

1шт.

4

504143828

SPACER

1шт.

5

16508460

SEAL

D= 22 x 27 mm; SP=1.5 mm

1шт.

6

10305171

PLUG,M22 x 1.5 x 21

M22 x 1.5 mm

1шт.

7

NSS

NOT SOLD SEPARAT

Oil tank; Incl in 2

1шт.

Выбрано товаров: 7