Запчасти Case IH F2CFE614A B002 (10.102.AP) - ENGINE OIL PAN (10) - ENGINE

Схема запчастей Case IH F2CFE614A B002 - (10.102.AP) - ENGINE OIL PAN (10) - ENGINE
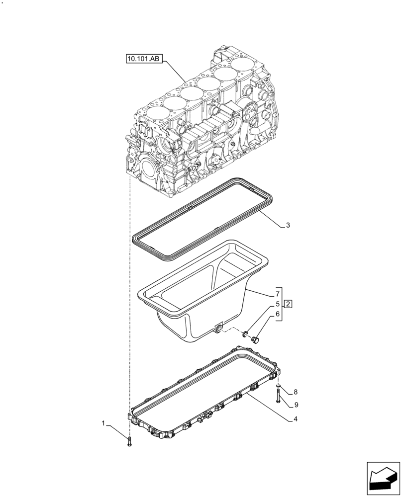
2
4
7
8
3
5
1
6
10.101.ab
9
FIT
1:1
100%

Артикул

Название

Примечание

Количество

1

16587525

BOLT,M10 x 45mm

M10 x 45

22шт.

2

504332986

SUMP

ASSY, Incl 5-7

1шт.

3

504346309

GASKET

1шт.

4

504290081

SPACER

1шт.

5

16508460

SEAL

1шт.

6

10305171

PLUG,M22 x 1.5 x 21

M22 x 1.5

1шт.

7

NSS

NOT SOLD SEPARAT

Sump, Incl in 2

1шт.

8

14499521

WASHER,10.5mm ID x 18mm OD x 2mm Thk

4шт.

9

500356756

SCREW

4шт.

Выбрано товаров: 9