Запчасти Case IH F2CFE614B B006 (10.101.AA) - CYLINDER HEAD (10) - ENGINE

Схема запчастей Case IH F2CFE614B B006 - (10.101.AA) - CYLINDER HEAD (10) - ENGINE
10.101.am
4
2
1
7
10.101.am
3
6
5
FIT
1:1
100%

Артикул

Название

Примечание

Количество

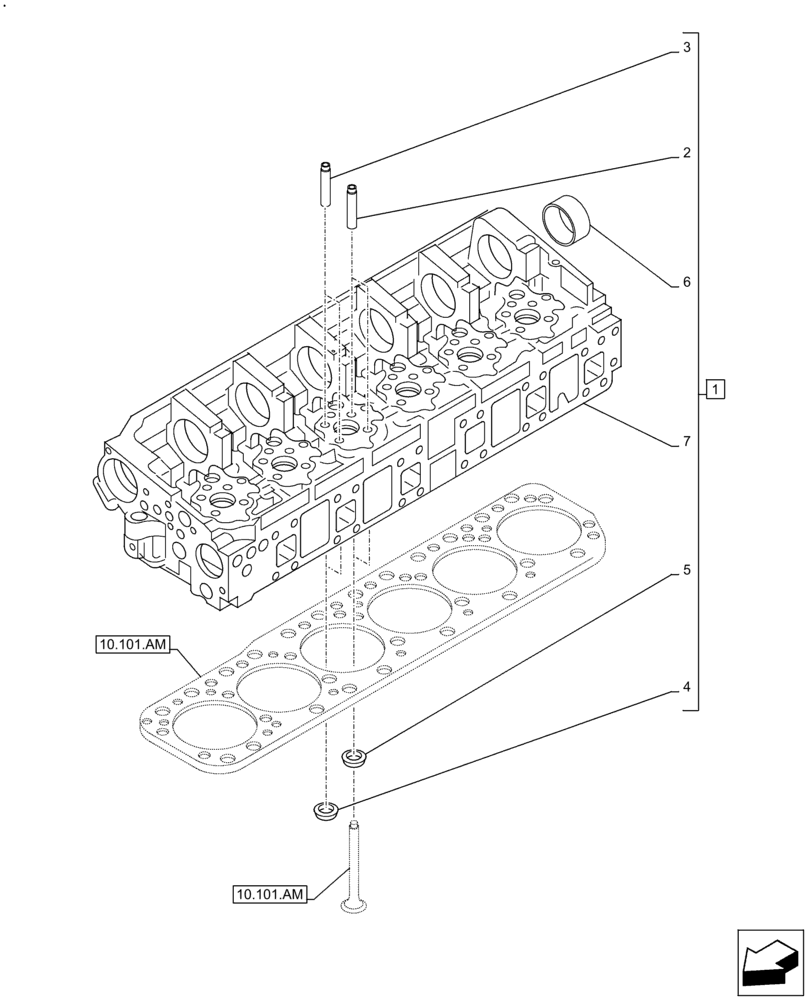
1

5801476005

CYLINDER HEAD

ASSY; Incl 2 - 7

1шт.

2

504361838

VALVE GUIDE

Exhaust

12шт.

2

504361839

VALVE GUIDE

Exhaust

12шт.

2

504361840

VALVE GUIDE

Exhaust

12шт.

3

504361843

VALVE GUIDE

Intake

12шт.

3

504361844

VALVE GUIDE

Intake

12шт.

3

504361845

VALVE GUIDE

Intake

12шт.

4

504361851

VALVE SEAT

Intake

12шт.

5

5801388691

VALVE SEAT

Exhaust

12шт.

6

504125778

BUSHING

7шт.

7

NSS

NOT SOLD SEPARAT

Cylinder head; Incl in 1

1шт.

Выбрано товаров: 11