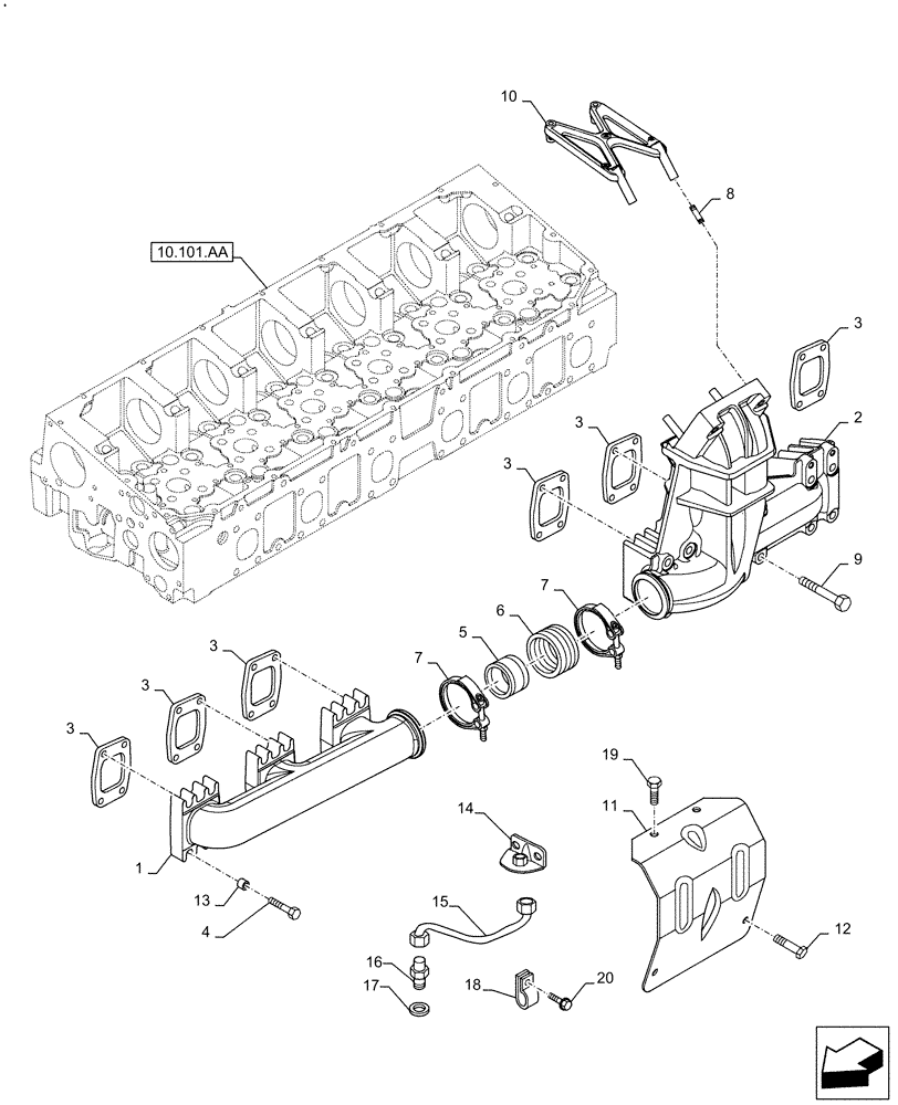
Запчасти Case IH F2CFE614G B003 (10.254.AC) - EXHAUST MANIFOLD (10) - ENGINE

Схема запчастей Case IH F2CFE614G B003 - (10.254.AC) - EXHAUST MANIFOLD (10) - ENGINE
1
3
15
14
13
8
3
10.101.aa
11
7
9
7
17
3
19
10
4
16
6
5
18
3
3
12
20
2
3
FIT
1:1
100%

Артикул

Название

Примечание

Количество

1

5801624172

EXHAUST MANIFOLD

1шт.

2

5801540832

EXHAUST MANIFOLD

1шт.

3

504154202

GASKET

6шт.

4

504078465

FLANGE BOLT,M10 x 1.5 x 70mm

12шт.

5

2859383

LOCKING RING

1шт.

6

99440118

RING

1шт.

7

2859381

HOSE CLIP

2шт.

8

5801491235

STUD

2шт.

9

5801589510

BOLT

12шт.

10

5801608229

RETAINER

1шт.

11

5801540827

SHIELD

1шт.

12

5801642116

BOLT

2шт.

13

5801484382

SPACER

22шт.

14

5801628778

RETAINER

1шт.

15

5801628756

FITTING

1шт.

16

5801628752

UNION

1шт.

17

10261060

SEALING WASHER,12.2mm ID x 16mm OD x 1.5mm Thk

1шт.

18

5801608231

RETAINER

1шт.

19

16693624

SCREW

2шт.

20

16673635

BOLT,Hex, M8 x 1.25 x 20mm, Full Thd

5шт.

Выбрано товаров: 20