Запчасти Case IH F2CFP614C H003 (10.101.AM) - VALVE (10) - ENGINE

Схема запчастей Case IH F2CFP614C H003 - (10.101.AM) - VALVE (10) - ENGINE
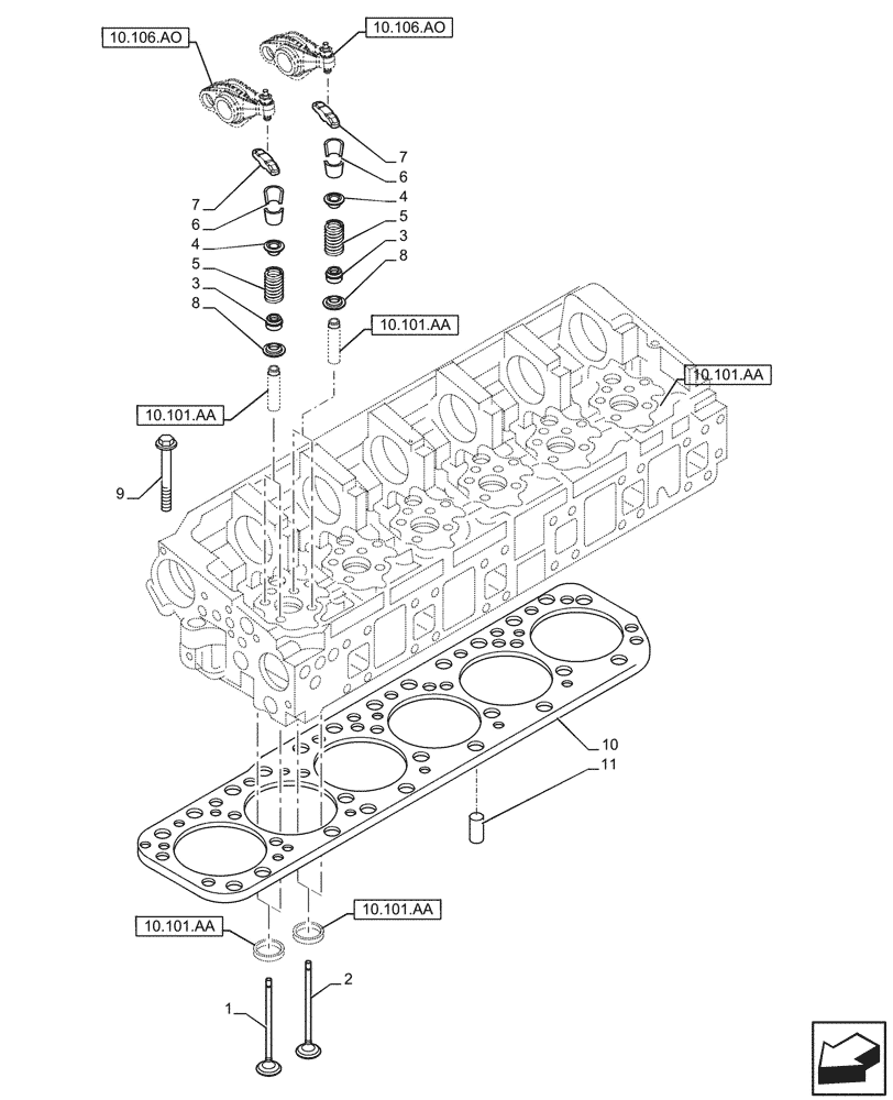
10.101.aa
10
8
6
3
7
8
5
4
2
1
11
5
6
7
4
9
3
10.106.ao
10.106.ao
10.101.aa
10.101.aa
10.101.aa
10.101.aa
FIT
1:1
100%

Артикул

Название

Примечание

Количество

1

500354685

STD INLET VALVE

12шт.

2

5801506352

STD EXHAUST VALVE

12шт.

3

504129182

SPRING SEAT

24шт.

4

504127797

SPRING CUP

24шт.

5

504125776

VALVE SPRING

24шт.

6

98499819

ROCKER ARM COTTER

48шт.

7

504131444

BRIDGE

12шт.

8

5801520477

SEAL

Valve Stem Seal, Oil Deflector

24шт.

9

500354580

BOLT

M16 x 2 x 170mm

26шт.

10

504385500

CYLINDER HEAD GASKET

1шт.

11

500314967

DOWEL

10mm Dia

2шт.

Выбрано товаров: 11