Запчасти Case IH F3AE0684P E909 (0.08.2) - PISTON - ENGINE (504153594)

Схема запчастей Case IH F3AE0684P E909 - (0.08.2) - PISTON - ENGINE (504153594)
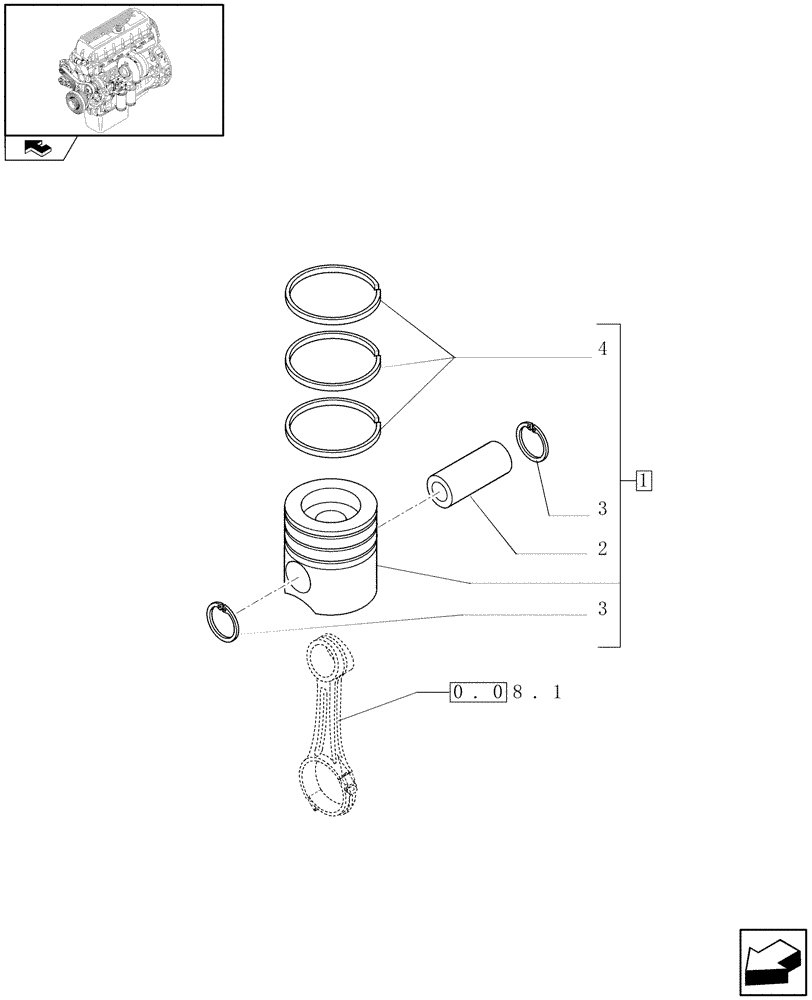
2
4
home
1
0.08.1
3
3
FIT
1:1
100%

Артикул

Название

Примечание

Количество

1

2996151

PISTON ASSY

6шт.

2

504032095

PISTON PIN

1шт.

3

11060476

CIRCLIP,M50, Int

2шт.

4

2996143

PISTON RINGS KIT

1шт.

Выбрано товаров: 4