Запчасти Case IH F3AE0684P E909 (0.04.2) - OIL SUMP & RELATED PARTS (504045968)

Схема запчастей Case IH F3AE0684P E909 - (0.04.2) - OIL SUMP & RELATED PARTS (504045968)
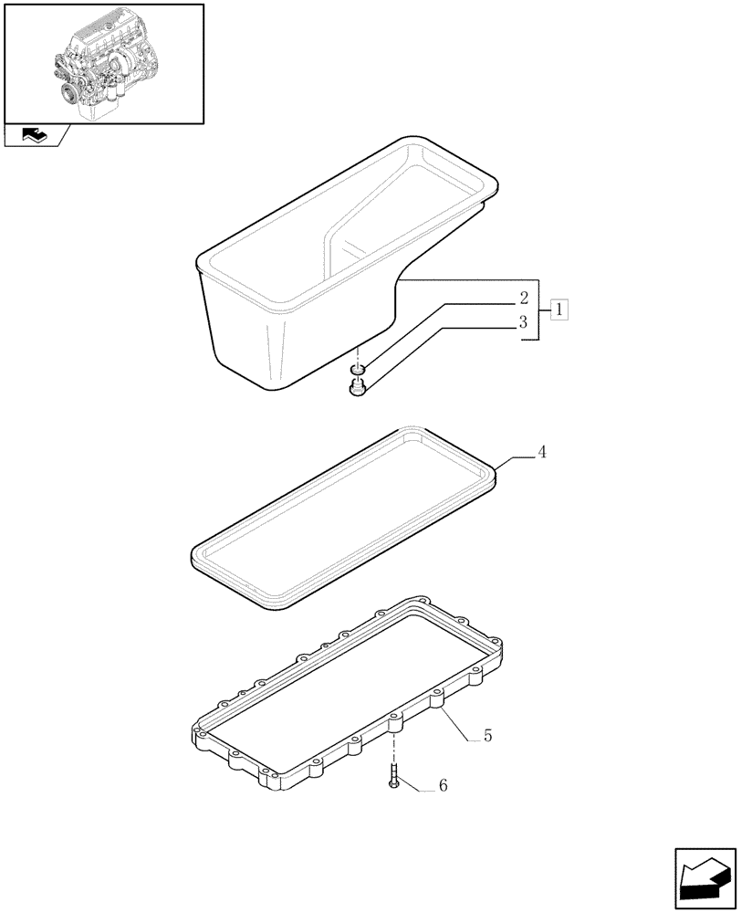
3
2
1
4
home
5
6
FIT
1:1
100%

Артикул

Название

Примечание

Количество

1

500348787

ENGINE OIL PAN

- ASSY

1шт.

2

87332142

SEAL,23.5mm ID x 30mm OD x 1.5mm Thk

D=22 mm

1шт.

3

10305171

PLUG,M22 x 1.5 x 21

M22 x 1.5

1шт.

4

504262851

GASKET

1шт.

5

504160436

SPACER

1шт.

6

16587525

BOLT,M10 x 45mm

M10X45 mm

16шт.

Выбрано товаров: 6