Качественные детали и логистика
Оригинальные и аналоговые запчасти с доставкой по России, Казахстану и Беларуси
©2022 PartSell ООО "Система" ИНН 2463123282 ОГРН 1212400004838
Центральный офис: г. Красноярск, Академика Киренского, д.87, пом.4
Телефон: 8 (800) 777-65-74 Email: zakaz@partsell.ru
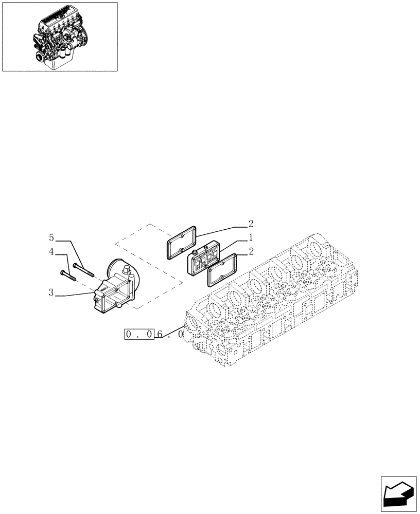
(0.36.70[01]) - STARTER (500387607)
№
Артикул
Название
Примечание
Количество
1
99437042
RESISTOR
1шт.
2
504026624
GASKET
2шт.
3
504005570
INLET MANIFOLD
4
16593124
SCREW,M10 x 100mm
M10X100 mm
3шт.
5
16599224
SCREW,M10 x 140mm
M10 x 140
Выбрано товаров: 0