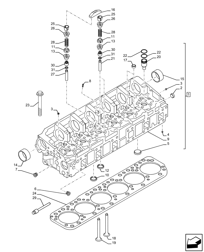
Запчасти Case IH F3BE9684B H001 (10.101.AA) - CYLINDER HEAD & RELATED PARTS (10) - ENGINE

Схема запчастей Case IH F3BE9684B H001 - (10.101.AA) - CYLINDER HEAD & RELATED PARTS (10) - ENGINE
20
26
9
31
15
25
11
14
29
2
3
6
28
13
5
8
10
12
22
26
24
28
3
25
23
21
19
22
11
7
30
27
16
13
17
30
31
1
18
4
FIT
1:1
100%

Артикул

Название

Примечание

Количество

1

504235483

ASSY, Incl 5 - 7, 10, 12, 14, 15, 17, 20, 22

CYLINDER HEAD

1шт.

2

14282170

PLUG,M20, Tapered, Stainless

12шт.

3

504138062

PLUG

2шт.

4

504138060

PLUG

1шт.

5

16991370

PLUG

45mm Dia

2шт.

6

504182706

PLUG

1шт.

7

504051237

PLUG

10mm Dia

3шт.

8

17275510

DOWEL

5mm Dia

1шт.

9

NSS

NOT SOLD SEPARAT

Cylinder Head, Incl in 1

1шт.

10

504237371

STD

SPARE PART

12шт.

10

14282170

PLUG,M20, Tapered, Stainless

+ 0.2

12шт.

11

504107641

CUP

24шт.

12

16991370

PLUG

STD

12шт.

12

16990870

PLUG

+0.2

12шт.

13

99450511

VALVE SEAT

12шт.

13

504020517

VALVE SEAT

12шт.

13

99450512

VALVE SEAT

12шт.

13

504020515

VALVE SEAT

12шт.

14

504078222

BUSHING

6шт.

15

504078223

BUSHING

1шт.

16

504002605

CROSSRAIL

12шт.

17

17255674

ROLL PIN

28mm Dia

13шт.

18

500355780

STD EXHAUST VALVE

From to

12шт.

18

504293892

STD EXHAUST VALVE

Up to

12шт.

19

500355778

STD INLET VALVE

12шт.

20

17279081

GASKET

6шт.

21

500390861

VALVE, EXHAUST, OVER

+0.4

12шт.

21

500390860

VALVE, EXHAUST, OVER

+0.2

12шт.

21

500390994

EXHAUST VALVE GUIDE

STD

12шт.

22

99476929

CASE

26.7 x 1.7mm Dia

12шт.

23

98495527

BOLT

20шт.

23

98495528

SCREW,Shldr, Hex Flg, M18 x 2 x 175mm

6шт.

24

504007514

GASKET

1шт.

25

14196370

ROCKER ARM COTTER

9.82mm Dia

48шт.

26

98473050

COTTERS PLATE

24шт.

27

500390866

OVERSIZE INLET VALVE

+ 0.4

12шт.

27

500390864

OVERSIZE INLET VALVE

+ 0.2

12шт.

27

500390993

INTAKE VALVE GUIDE

STD

12шт.

28

98475711

SPRING

48шт.

29

504138060

PLUG

1шт.

29

504138062

PLUG

1шт.

30

40101874

SEALING RING

24шт.

31

99474123

BUSHING

24шт.

Выбрано товаров: 43