Качественные детали и логистика
Оригинальные и аналоговые запчасти с доставкой по России, Казахстану и Беларуси
©2022 PartSell ООО "Система" ИНН 2463123282 ОГРН 1212400004838
Центральный офис: г. Красноярск, Академика Киренского, д.87, пом.4
Телефон: 8 (800) 777-65-74 Email: zakaz@partsell.ru
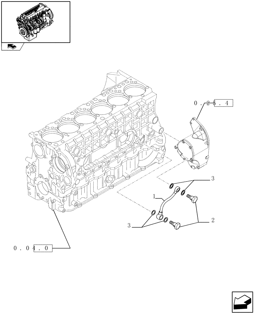
(0.25.7) - OIL DELIVERY LINE - TURBOCOMPOUND (504302921)
№
Артикул
Название
Примечание
Количество
1
504168210
TUBE
1шт.
2
16511414
BANJO BOLT
2шт.
3
98474309
GASKET,16mm ID x 24mm OD x 1.9mm Thk
D. 16x24 mm SP=1,9 mm
4шт.
Выбрано товаров: 0