Качественные детали и логистика
Оригинальные и аналоговые запчасти с доставкой по России, Казахстану и Беларуси
©2022 PartSell ООО "Система" ИНН 2463123282 ОГРН 1212400004838
Центральный офис: г. Красноярск, Академика Киренского, д.87, пом.4
Телефон: 8 (800) 777-65-74 Email: zakaz@partsell.ru
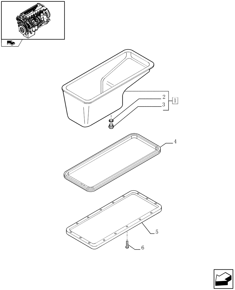
(0.04.2) - OIL SUMP & RELATED PARTS (504075739)
№
Артикул
Название
Примечание
Количество
1
504024778
ENGINE OIL PAN
- ASSY
1шт.
2
87332142
SEAL,23.5mm ID x 30mm OD x 1.5mm Thk
D=22 mm
3
10305171
PLUG,M22 x 1.5 x 21
M22 x 1.5
4
504287510
GASKET
5
504276421
SPACER
6
16587525
BOLT,M10 x 45mm
M10X45 mm
16шт.
Выбрано товаров: 6