Запчасти Case IH F3GFE613A B001 (10.101.AA) - CYLINDER HEAD (10) - ENGINE

Схема запчастей Case IH F3GFE613A B001 - (10.101.AA) - CYLINDER HEAD (10) - ENGINE
4
12
13
2
11
6
9
14
7
8
10.101.am
3
1
5
10.101.am
10
FIT
1:1
100%

Артикул

Название

Примечание

Количество

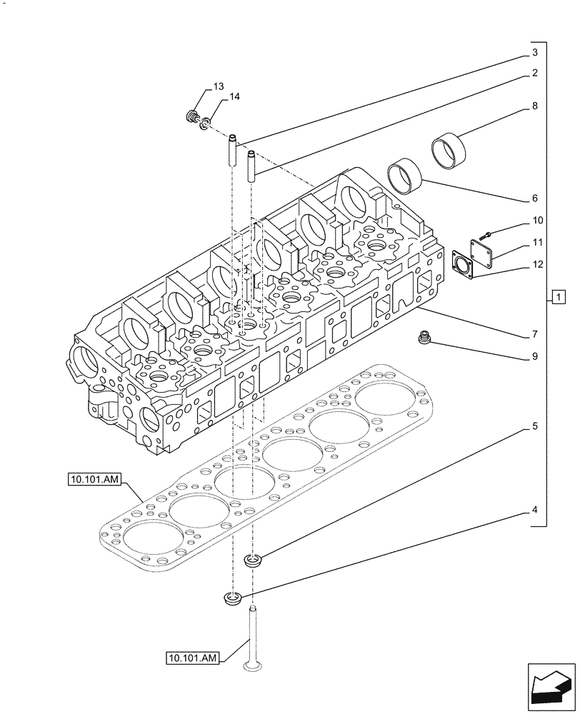
1

5801765398

CYLINDER HEAD

Assy; incl 2-8

1шт.

2

504384919

VALVE GUIDE

12шт.

3

504384920

VALVE GUIDE

12шт.

4

504383178

VALVE SEAT

12шт.

5

5801388688

VALVE SEAT

12шт.

6

504078222

BUSHING

6шт.

7

NSS

NOT SOLD SEPARAT

CYLINDER HEAD; incl in 1

1шт.

8

504078223

BUSHING

6шт.

9

504182706

PLUG

1шт.

10

16586221

SCREW,Hex, M8 x 16mm, Cl 8.8

4шт.

11

5801700593

PLATE

1шт.

12

5801700598

GASKET

1шт.

13

16992515

PLUG

1шт.

14

5167640

SEALING WASHER,14.09mm ID x 26.45mm OD x 1.5mm Thk

1шт.

Выбрано товаров: 14