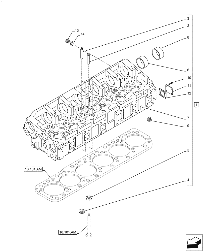
Запчасти Case IH F3GFE613A B003 (10.101.AA) - CYLINDER HEAD (10) - ENGINE

Схема запчастей Case IH F3GFE613A B003 - (10.101.AA) - CYLINDER HEAD (10) - ENGINE
10.101.am
7
14
9
2
8
3
4
11
13
6
5
1
10
12
10.101.am
FIT
1:1
100%

Артикул

Название

Примечание

Количество

1

5801960578

1шт.

2

504384919

VALVE GUIDE

12шт.

2

5801935956

12шт.

2

5801935957

12шт.

3

504384920

VALVE GUIDE

12шт.

3

5801935962

12шт.

3

5801935963

12шт.

4

504383178

VALVE SEAT

12шт.

4

5801935951

12шт.

5

5801388688

VALVE SEAT

12шт.

5

5801935953

12шт.

6

504078222

BUSHING

6шт.

7

NSS

NOT SOLD SEPARAT

Cylinder Head, Incl in 1

1шт.

8

504078223

BUSHING

6шт.

9

504051237

PLUG

1шт.

10

16586221

SCREW,Hex, M8 x 16mm, Cl 8.8

4шт.

11

5801700593

PLATE

1шт.

12

5801700598

GASKET

1шт.

13

16993411

PLUG,M22 x 1.5

1шт.

14

99489020

FITTING

1шт.

Выбрано товаров: 20