Запчасти Case IH F3GFE613B B001 (10.101.AA) - CYLINDER HEAD (10) - ENGINE

Схема запчастей Case IH F3GFE613B B001 - (10.101.AA) - CYLINDER HEAD (10) - ENGINE
9
3
5
10
4
10.101.am
6
13
8
2
11
14
7
1
10.101.am
12
FIT
1:1
100%

Артикул

Название

Примечание

Количество

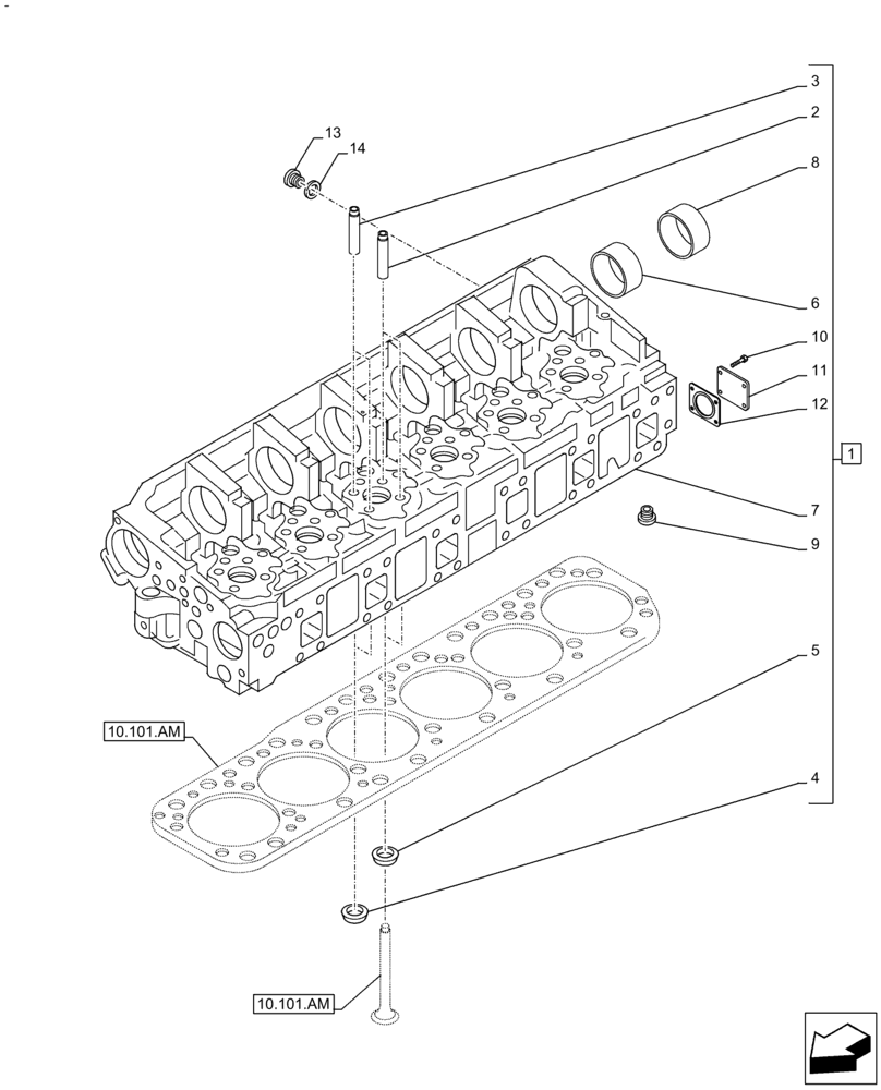
1

5801765398

CYLINDER HEAD

Assy, incl 2-8

1шт.

2

504384919

VALVE GUIDE

12шт.

3

504384920

VALVE GUIDE

12шт.

4

504383178

VALVE SEAT

12шт.

5

5801388688

VALVE SEAT

12шт.

6

504078222

BUSHING

6шт.

7

NSS

NOT SOLD SEPARAT

CYLINDER HEAD, incl in 1

1шт.

8

504078223

BUSHING

6шт.

9

504182706

PLUG

1шт.

10

16586221

SCREW,Hex, M8 x 16mm, Cl 8.8

4шт.

11

5801700593

PLATE

1шт.

12

5801700598

GASKET

1шт.

13

16992515

PLUG

1шт.

14

99489020

FITTING

1шт.

Выбрано товаров: 14