Запчасти Case IH F3HFE613A B003 (10.101.AA) - CYLINDER HEAD (10) - ENGINE

Схема запчастей Case IH F3HFE613A B003 - (10.101.AA) - CYLINDER HEAD (10) - ENGINE
10.101.am
1
2
5
4
8
7
3
6
10.101.am
FIT
1:1
100%

Артикул

Название

Примечание

Количество

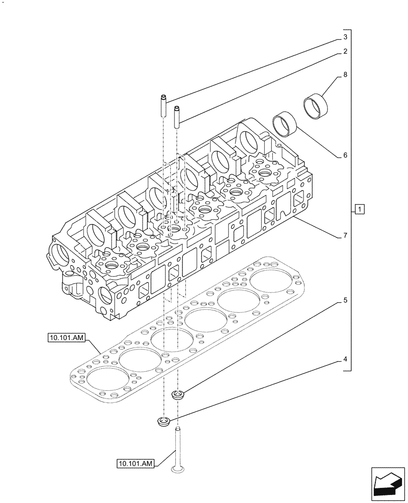
1

5801842603

CYLINDER HEAD

ASSY, Incl 2 - 8

1шт.

2

504375600

VALVE GUIDE

12шт.

2

5801435666

VALVE GUIDE

12шт.

2

5801435667

VALVE GUIDE

12шт.

3

504375602

VALVE GUIDE

12шт.

3

5801435664

VALVE GUIDE

12шт.

3

5801435665

VALVE GUIDE

12шт.

4

504362587

VALVE SEAT

12шт.

4

5801435660

VALVE SEAT

12шт.

5

5801388686

STD EXHAUST VALVE

12шт.

5

5801512635

VALVE SEAT

12шт.

6

504003914

BUSHING

6шт.

7

NSS

NOT SOLD SEPARAT

Cylinder Head, Incl in 1

1шт.

8

504003915

BUSHING

1шт.

Выбрано товаров: 14