Качественные детали и логистика
Оригинальные и аналоговые запчасти с доставкой по России, Казахстану и Беларуси
©2022 PartSell ООО "Система" ИНН 2463123282 ОГРН 1212400004838
Центральный офис: г. Красноярск, Академика Киренского, д.87, пом.4
Телефон: 8 (800) 777-65-74 Email: zakaz@partsell.ru
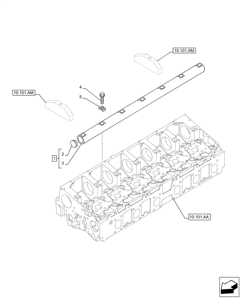
(10.106.AP) - ROCKSHAFT
№
Артикул
Название
Примечание
Количество
1
504303856
ROCKSHAFT
ASSY, Incl 2, 3
1шт.
2
16988301
PLUG,Lock, 20mm Dia
20mm Dia
2шт.
3
NSS
NOT SOLD SEPARAT
Shaft, Incl in 1
4
99475580
SCREW
7шт.
5
500344277
CAP
Выбрано товаров: 0