Качественные детали и логистика
Оригинальные и аналоговые запчасти с доставкой по России, Казахстану и Беларуси
©2022 PartSell ООО "Система" ИНН 2463123282 ОГРН 1212400004838
Центральный офис: г. Красноярск, Академика Киренского, д.87, пом.4
Телефон: 8 (800) 777-65-74 Email: zakaz@partsell.ru
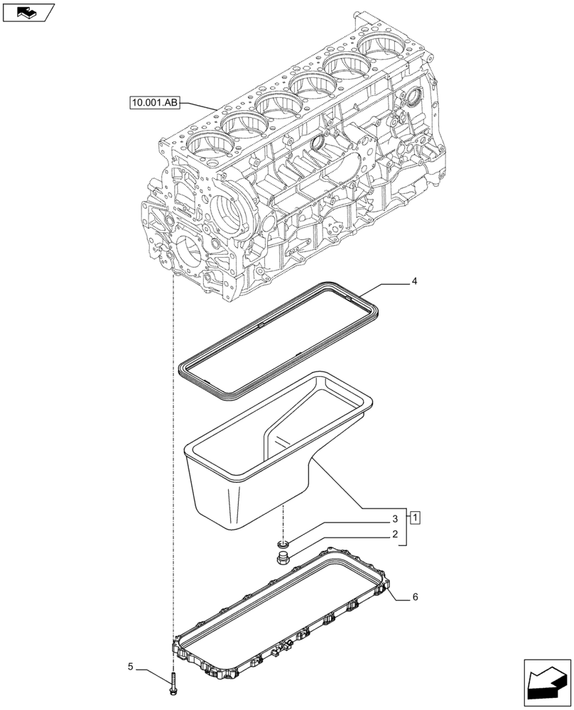
(10.102.AP) - ENGINE OIL PAN
№
Артикул
Название
Примечание
Количество
1
504025626
PAN
1шт.
2
10305171
PLUG,M22 x 1.5 x 21
3
87332142
SEAL,23.5mm ID x 30mm OD x 1.5mm Thk
4
504287510
GASKET
5
16587525
BOLT,M10 x 45mm
M10 x 45
16шт.
6
504276421
SPACER
Выбрано товаров: 6