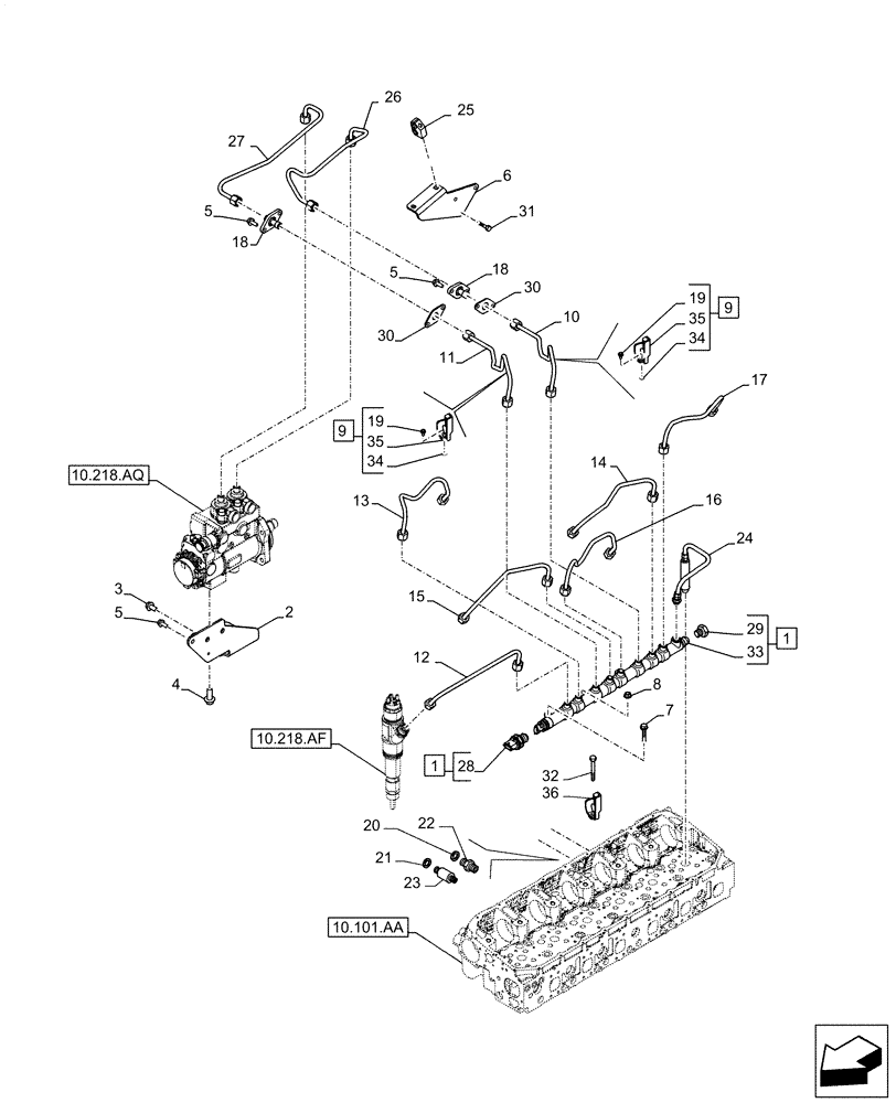
Запчасти Case IH F3JFE613A B002 (10.218.AI) - INJECTOR FUEL LINES (10) - ENGINE

Схема запчастей Case IH F3JFE613A B002 - (10.218.AI) - INJECTOR FUEL LINES (10) - ENGINE
10.101.aa
14
30
15
34
36
9
10
32
31
26
3
10.218.aq
18
27
12
19
18
35
11
28
24
19
6
34
20
2
35
1
23
4
13
9
25
1
29
16
7
17
21
22
5
5
30
33
5
10.218.af
8
FIT
1:1
100%

Артикул

Название

Примечание

Количество

1

504388755

INJECTION PIPE

ASSY; Incl 28,29,33

1шт.

2

5801501510

BRACKET

1шт.

3

2856035

SCREW,Flng, M12 x 30mm, Cl 8.8

2шт.

4

18139424

SCREW,Hex, M10 x 20mm

2шт.

5

16673635

BOLT,Hex, M8 x 1.25 x 20mm, Full Thd

6шт.

6

5801494717

RETAINER

1шт.

7

16586825

BOLT,Hex, M8 x 1.25 x 45mm

3шт.

8

2852389

FLANGE NUT

1шт.

9

5801504378

CLAMP BRACKET

ASSY; Incl 19,34-35

2шт.

10

5801494451

INJECTION PIPE

1шт.

11

5801592562

INJECTION PIPE

1шт.

12

504373512

INJECTION PIPE

1шт.

13

504373513

INJECTION PIPE

1шт.

14

504373514

INJECTION PIPE

1шт.

15

5801579728

INJECTION PIPE

1шт.

16

504373516

INJECTION PIPE

1шт.

17

504373517

INJECTION PIPE

1шт.

18

5801490726

FITTING

2шт.

19

16586125

SCREW,M6 x 20mm

2шт.

20

4858609

WASHER,Brass

1шт.

21

98474308

SEALING WASHER,16mm ID x 22mm OD x 1.5mm Thk

1шт.

22

504373643

BANJO BOLT

1шт.

23

504373532

BANJO BOLT

1шт.

24

504384719

INJECTION PIPE

1шт.

25

5801479981

RETAINER

2шт.

26

5801574782

INJECTION PIPE

1шт.

27

5801574786

INJECTION PIPE

1шт.

28

5801483105

SENSOR

1шт.

29

5801483106

VALVE

1шт.

30

5801439503

GASKET

2шт.

31

16673535

BOLT,M8 x 16mm

3шт.

32

2854311

SCREW,Hex, Flg Hd, M8 x 1.25 x 18mm

2шт.

33

NSS

NOT SOLD SEPARAT

Shaft; Incl in 1

1шт.

34

2852197

FLANGE NUT,M6 x 1

2шт.

35

NSS

NOT SOLD SEPARAT

BRACKET; Incl in 9

2шт.

36

504388291

BRACKET, SUPPORTING

2шт.

Выбрано товаров: 36