Запчасти Case IH F3JFE613B B006 (10.101.AA) - CYLINDER HEAD (10) - ENGINE

Схема запчастей Case IH F3JFE613B B006 - (10.101.AA) - CYLINDER HEAD (10) - ENGINE
10.101.am
6
7
4
8
1
3
2
5
10.101.am
FIT
1:1
100%

Артикул

Название

Примечание

Количество

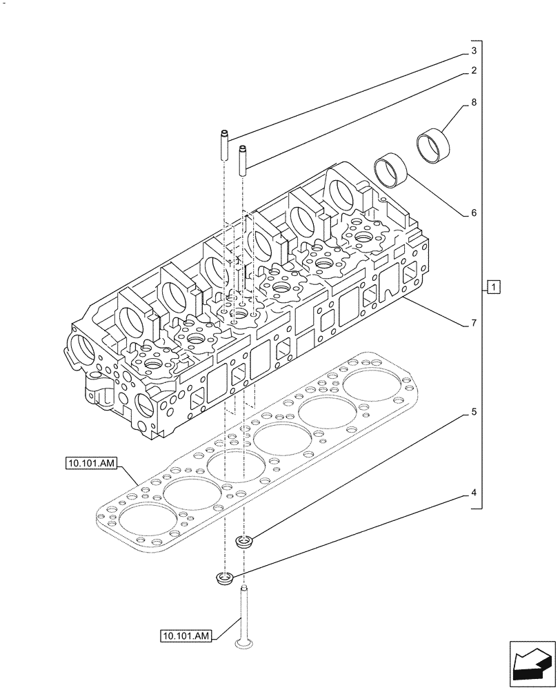
1

5801669298

CYLINDER HEAD

ASSY, Incl 2 - 8

1шт.

2

504375600

VALVE GUIDE

12шт.

2

5801435666

VALVE GUIDE

12шт.

2

5801435667

VALVE GUIDE

12шт.

3

504375602

VALVE GUIDE

12шт.

3

5801435664

VALVE GUIDE

12шт.

3

5801435665

VALVE GUIDE

12шт.

4

504362587

VALVE SEAT

12шт.

4

5801435660

VALVE SEAT

12шт.

5

5801388686

STD EXHAUST VALVE

12шт.

5

5801512635

VALVE SEAT

12шт.

6

504078222

BUSHING

6шт.

7

NSS

NOT SOLD SEPARAT

Cylinder head, Incl in 1

1шт.

8

504078223

BUSHING

6шт.

Выбрано товаров: 14