Качественные детали и логистика
Оригинальные и аналоговые запчасти с доставкой по России, Казахстану и Беларуси
©2022 PartSell ООО "Система" ИНН 2463123282 ОГРН 1212400004838
Центральный офис: г. Красноярск, Академика Киренского, д.87, пом.4
Телефон: 8 (800) 777-65-74 Email: zakaz@partsell.ru
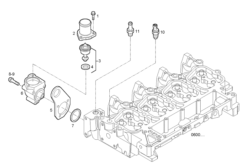
(3220.138) - THERMOSTAT
№
Артикул
Название
Примечание
Количество
1
4899110
SCREW,Hex Flg, M6 x 1 x 20
HEXAGON BOLT
3шт.
2
4895131
HOUSING
THERMOSTAT BODY
1шт.
3
504031212
THERMOSTAT
THERMOSTAT, ASSY
4
2852473
GASKET,53.62mm ID x 59.72mm OD x 4.01mm Thk
RUBBER GASKET
5
504036869
BRACKET
HOOK
6
504044875
ELBOW
7
4895121
GASKET
WASHER
8
16673934
SCREW,M8 x 35mm
HEXAGON BOLT, M8X35 MM
9
16592624
FLANGE BOLT,Hex, M8 x 80mm, Cl 8.8
HEXAGON BOLT, M8X80 MM
2шт.
10
2852157
SENSOR
TEMP. TRANSMITTER, WATER
11
2853761
NIPPLE
PIPE SOCKET
Выбрано товаров: 0