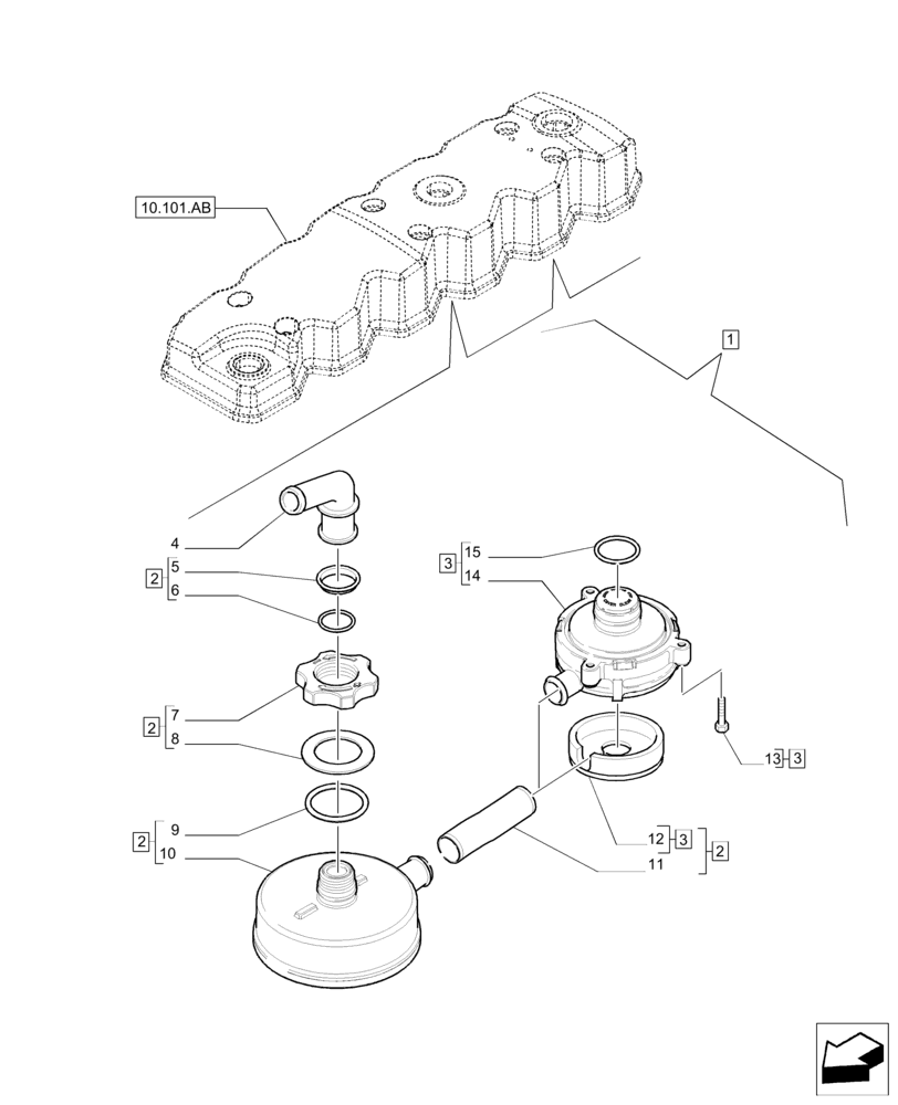
Запчасти Case IH F4DE9684B J114 (10.101.AB[02]) - CYLINDER HEAD COVERS (10) - ENGINE

Схема запчастей Case IH F4DE9684B J114 - (10.101.AB[02]) - CYLINDER HEAD COVERS (10) - ENGINE
3
6
2
2
1
13
2
3
11
10
14
10.101.ab
4
7
15
3
2
12
5
8
9
FIT
1:1
100%

Артикул

Название

Примечание

Количество

1

2853826

BREATHER

Incl 2 - 15

1шт.

2

87304662

BREATHER

Incl 5 - 12

1шт.

3

84196302

BREATHER,M30

Incl 12 - 15

1шт.

4

87307807

ELBOW,90 Deg, 17.8mm - 22mm ID

1шт.

5

87312908

O-RING

1шт.

6

87307640

O-RING

1шт.

7

NSS

NOT SOLD SEPARAT

Crankcase Ventilation, Incl in 1

1шт.

8

NSS

NOT SOLD SEPARAT

Seal, Incl in 1

1шт.

9

87304653

O-RING

1шт.

10

NSS

NOT SOLD SEPARAT

Crankcase Ventilation, Incl in 1

1шт.

11

NSS

NOT SOLD SEPARAT

Hose, Incl in 1

1шт.

12

NSS

NOT SOLD SEPARAT

Pre Filter, Incl in 1

1шт.

13

87304660

SCREW,M50 x 28mm

3шт.

14

84231666

BREATHER,M30

1шт.

15

87304661

O-RING,34.5mm ID

1шт.

Выбрано товаров: 15