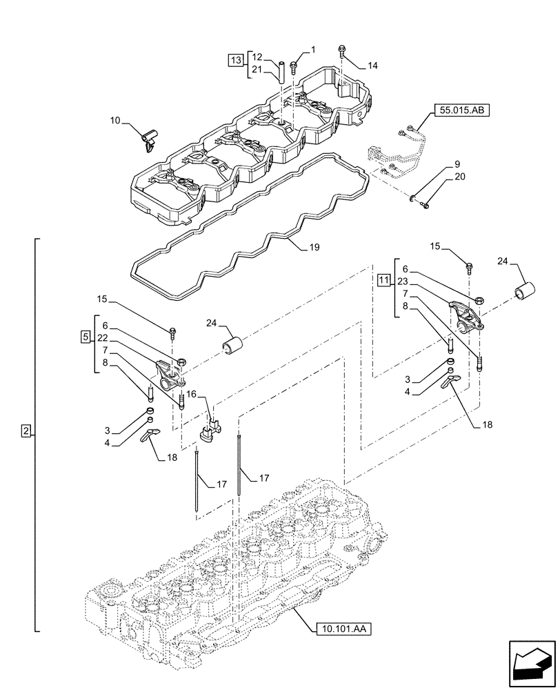
Запчасти Case IH F4DE9684L J113 (10.101.AP) - ROCKER SHAFT (10) - ENGINE

Схема запчастей Case IH F4DE9684L J113 - (10.101.AP) - ROCKER SHAFT (10) - ENGINE
5
11
3
8
10
20
7
17
8
17
2
4
13
23
19
1
15
18
22
4
21
18
6
9
6
7
15
14
3
24
24
16
12
10.101.aa
55.015.ab
FIT
1:1
100%

Артикул

Название

Примечание

Количество

1

4895432

SCREW,M8 x 1.25 x 70mm

5шт.

2

2859460

ROCKER ARM

Incl 3, 4, 5, 11, 24

6шт.

3

2859464

RETAINER,10.79mm ID, 7.63mm ID

Incl 21

2шт.

4

2859465

SOCKET,1.5mm ID x 11mm OD x 9mm L

2шт.

5

2859462

ROCKER ARM

Incl 6 - 8, 22

1шт.

6

2859467

NUT,Hex, 3/8" - 24, RH

Incl 23

2шт.

7

2859468

ADJUSTMENT SCREW,3/8" - 24 x 23.85mm

2шт.

8

2859470

SOCKET

2шт.

9

2852776

WASHER,6mm ID x 11mm OD

3шт.

10

2852428

WIRE CLAMP,6mm ID

6шт.

11

2859461

ROCKER ARM

Incl 6 - 8

1шт.

12

4899245

SLEEVE,9mm ID x 13.9mm OD x 55.25mm L

5шт.

13

4899257

HOUSING

Incl 12

1шт.

14

4899089

SCREW,Hex Flg, M8 x 1.25 x 50

2шт.

15

2856460

BOLT,Flng, M8 x 1.25 x 55.5mm, Cl 10.9

2шт.

16

2859463

SUPPORT

1шт.

17

4895031

PUSH ROD

12шт.

18

47426332

BAR

12шт.

19

2853788

GASKET,10.35mm Thk

1шт.

20

2852602

HEX SOC SCREW,M6 x 16mm

3шт.

21

NSS

NOT SOLD SEPARAT

Housing, Incl in 13

1шт.

22

NSS

NOT SOLD SEPARAT

Rocker Arm, Incl in 5

1шт.

23

NSS

NOT SOLD SEPARAT

Rocker Arm, Incl in 11

1шт.

24

NSS

NOT SOLD SEPARAT

Bushing, Incl in 2

6шт.

Выбрано товаров: 24