Качественные детали и логистика
Оригинальные и аналоговые запчасти с доставкой по России, Казахстану и Беларуси
©2022 PartSell ООО "Система" ИНН 2463123282 ОГРН 1212400004838
Центральный офис: г. Красноярск, Академика Киренского, д.87, пом.4
Телефон: 8 (800) 777-65-74 Email: zakaz@partsell.ru
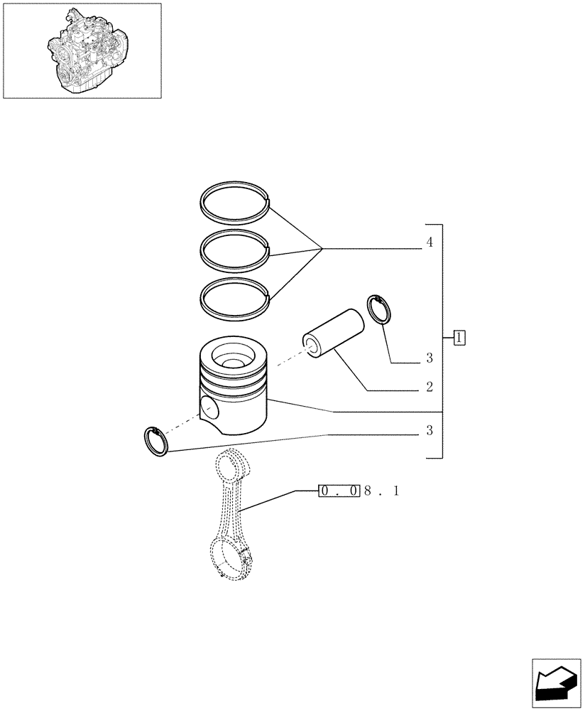
(0.08.2[01]) - PISTON - ENGINE (504062641)
№
Артикул
Название
Примечание
Количество
1
8094740
PISTON & RINGS KIT
(STD)
4шт.
87317252
PISTON & RINGS KIT,0.4mm Oversize
(+ 0,4)
2
4892712
PISTON PIN,38mm OD x 82mm L
1шт.
3
4892713
SNAP RING,Int, M26.4
2шт.
4
8094739
PISTON RINGS KIT
87316944
SET,PISTON RINGS+0.4
SET OF PISTON RINGS +0.4
Выбрано товаров: 0