Качественные детали и логистика
Оригинальные и аналоговые запчасти с доставкой по России, Казахстану и Беларуси
©2022 PartSell ООО "Система" ИНН 2463123282 ОГРН 1212400004838
Центральный офис: г. Красноярск, Академика Киренского, д.87, пом.4
Телефон: 8 (800) 777-65-74 Email: zakaz@partsell.ru
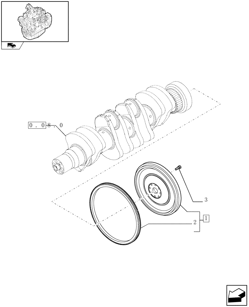
(0.08.3) - FLYWHEEL - ENGINE (504020729)
№
Артикул
Название
Примечание
Количество
1
2852219
ENGINE FLYWHEEL
- ASSY
1шт.
2
2852221
RING GEAR
3
4894641
CAPTIVE WASHER SCREW,M12 X 1.25 X 31mm
8шт.
Выбрано товаров: 0