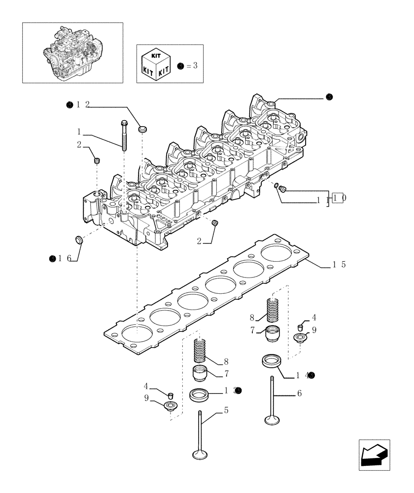
Запчасти Case IH F4GE9684C J600 (0.06.0[01]) - CYLINDER HEAD (4895773)

Схема запчастей Case IH F4GE9684C J600 - (0.06.0[01]) - CYLINDER HEAD (4895773)
8
9
1
7
3
9
4
3
5
12
16
3
4
13
10
3
3
6
8
2
15
3
2
11
7
14
3
FIT
1:1
100%

Артикул

Название

Примечание

Количество

1

4892861

CAPTIVE WASHER SCREW,Wash Hd, M12 x 1.75 x 73

M12X130

6шт.

1

4892859

BOLT,Flng, M12 x 1.75 x 143mm

14шт.

2

4895078

PIPE PLUG,1/2"-14

5шт.

3

4895765

CYLINDER HEAD

- ASSY

1шт.

3

87536204

CYLINDER HEAD

- ASSY Include Ref 2,3,4,5,6,7,8,9,10

1шт.

3

87536204R

REMAN-CYLINDER HEAD

- ASSY Include Ref 2,3,4,5,6,7,8,9,10

1шт.

3

87536204C

CORE-CYLINDER HEAD

Return Number

1шт.

3

4895766

CYLINDER HEAD

- ASSY

1шт.

4

4895183

COLLET

24шт.

5

4895188

STD EXHAUST VALVE

STD ENGINE EXHAUST VALVE

6шт.

6

4895187

STD INLET VALVE

STD ENGINE INLET VALVE

6шт.

7

4895347

SEAL

12шт.

8

4895215

VALVE SPRING,Compression, 32.8mm OD x 63.5 mmL

12шт.

9

4895184

RETAINER,34mm OD, 10.63mm ID, 14.5mm L

12шт.

10

4899009

PLUG,M10 x1

Assy

1шт.

11

4899072

O-RING,1.6mm Thk x 8.1mm ID

1шт.

12

4895179

EXPANSION PLUG,M20.93

3шт.

13

4897178

VALVE SEAT,36mm ID x 43mm OD x 6.7mm L

Exhaust

6шт.

14

4897179

VALVE SEAT,38 mmID x 47mm OD x 6.9mm L

Intake

6шт.

15

2830922

CYLINDER HEAD GASKET,1.4mm Thk

SP=1.25

1шт.

15

2830923

CYLINDER HEAD GASKET,1.15mm Thk

SP=1.15

1шт.

16

4895085

EXPANSION PLUG,25.74mm

OD

1шт.

Выбрано товаров: 22