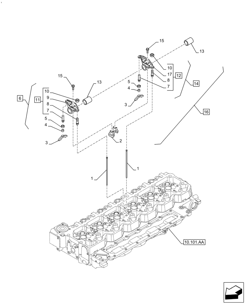
Запчасти Case IH F4HE96841 J102 (10.106.AO) - ROCKER ARM, 4088 (10) - ENGINE

Схема запчастей Case IH F4HE96841 J102 - (10.106.AO) - ROCKER ARM, 4088 (10) - ENGINE
5
4
10.101.aa
5
10
8
7
1
2
17
4
11
7
15
1
13
3
14
10
9
16
6
3
8
15
12
13
FIT
1:1
100%

Артикул

Название

Примечание

Количество

1

4895031

PUSH ROD

Assy Rocker

12шт.

2

2859463

SUPPORT

Rocker Lever

1шт.

3

47426332

BAR

Valve Cross Head

12шт.

4

2859465

SOCKET,1.5mm ID x 11mm OD x 9mm L

Rocker Lever

1шт.

5

2859464

RETAINER,10.79mm ID, 7.63mm ID

Socket

1шт.

6

2859461

ROCKER ARM

Assy, Incl 4, 5, 11

1шт.

7

2859470

SOCKET

1шт.

8

2859468

ADJUSTMENT SCREW,3/8" - 24 x 23.85mm

1шт.

9

NSS

NOT SOLD SEPARAT

Lever, Incl in 11

1шт.

10

2859467

NUT,Hex, 3/8" - 24, RH

1шт.

11

NSS

NOT SOLD SEPARAT

rocker , Incl in 6

1шт.

12

NSS

NOT SOLD SEPARAT

rocker , Incl in 14

1шт.

13

2856459

ROCKER ARM

2шт.

14

2859462

ROCKER ARM

Assy, Incl 4, 5, 12

1шт.

15

2856460

BOLT,Flng, M8 x 1.25 x 55.5mm, Cl 10.9

2шт.

16

2859460

ROCKER ARM

Assy, Incl 2, 6, 13 - 15

6шт.

17

NSS

NOT SOLD SEPARAT

Lever, Incl in 12

1шт.

Выбрано товаров: 17